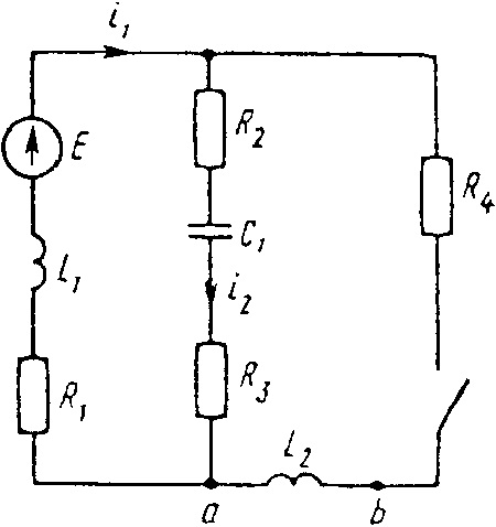
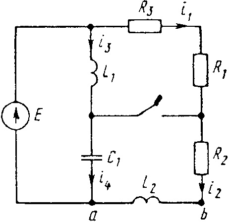
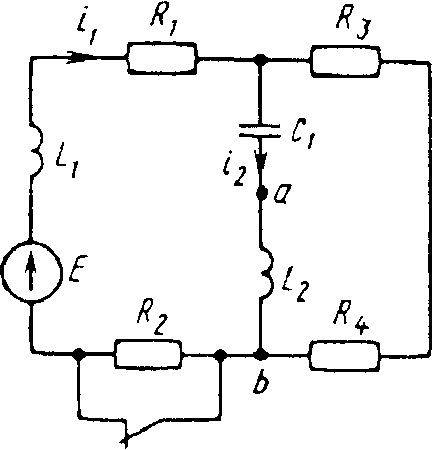
В электрической цепи происходит коммутация. Рассмотреть переходный процесс
0692tДана электрическая цепь, в которой происходит коммутация (рис. 3.1—3.20). В цепи действует постоянная ЭДС E. Параметры цепи приведены в табл. 3.1. Рассмотреть переходный процесс в цепи второго порядка (см. рис. 3.1—3.20), когда L
2 = 0, т.е. участок a—b схемы закорочен, и когда C
2 = ∞, т.е. ветвь m—n с конденсатором C
2 разомкнута. При вычерчивании схемы элементы L
2 и C
2 должны отсутствовать. Определить закон изменения во времени указанной в таблице величины (тока или напряжения).
Задачу решить
классическим методом. На основании полученного аналитического выражения требуется построить график изменения искомой величины в функции времени в интервале от t = 0 до t = 3/|p|
min, где |p|
min — меньший по модулю корень характеристического уравнения.

Е = 50 В
L
1 = 1 мГн
C
1 = 100 мкФ
R
1 = 2 Ом
R
2 = 8 Ом
R
3 = 10 Ом
R
4 = 10 Ом
i
1 — ?
0693tДана электрическая цепь, в которой происходит коммутация (рис. 3.1—3.20). В цепи действует постоянная ЭДС E. Параметры цепи приведены в табл. 3.1. Рассмотреть переходный процесс в цепи второго порядка (см. рис. 3.1—3.20), когда L
2 = 0, т.е. участок a—b схемы закорочен, и когда C
2 = ∞, т.е. ветвь m—n с конденсатором C
2 разомкнута. При вычерчивании схемы элементы L
2 и C
2 должны отсутствовать. Определить закон изменения во времени указанной в таблице величины (тока или напряжения).
Задачу следует решать двумя методами: классическим и операторным. На основании полученного аналитического выражения требуется построить график изменения искомой величины в функции времени в интервале от t = 0 до t = 3/|p|
min, где |p|
min — меньший по модулю корень характеристического уравнения.

Е = 100 В
L
1 = 1 мГн
C
1 = 10 мкФ
R
1 = 20 Ом
R
2 = 20 Ом
R
3 = 0 Ом
R
4 = 2 Ом
U
L1 — ?
0694tДана электрическая цепь, в которой происходит коммутация. В цепи действует постоянная ЭДС E. Рассмотреть переходный процесс в цепи без катушек. Определить закон изменения во времени указанной в таблице величины (тока или напряжения).
Задачу следует решать двумя методами: классическим и операторным. На основании полученного аналитического выражения требуется построить график изменения искомой величины в функции времени в интервале от t = 0 до t = 3/|p|
min, где |p|
min — меньший по модулю корень характеристического уравнения.

Е = 100 В
С
1 = 10 мкФ
R
1 = 20 Ом
R
2 = 20 Ом
R
3 = 0 Ом
R
4 = 2 Ом
i
1 — ?
0695tДана электрическая цепь, в которой происходит коммутация (рис. 3.1—3.20). В цепи действует постоянная ЭДС E. Параметры цепи приведены в табл. 3.1. Рассмотреть переходный процесс в цепи второго порядка (см. рис. 3.1—3.20), когда L
2 = 0, т.е. участок a—b схемы закорочен, и когда C
2 = ∞, т.е. ветвь m—n с конденсатором C
2 разомкнута. При вычерчивании схемы элементы L
2 и C
2 должны отсутствовать. Определить закон изменения во времени указанной в таблице величины (тока или напряжения).
Задачу следует решать двумя методами: классическим и операторным. На основании полученного аналитического выражения требуется построить график изменения искомой величины в функции времени в интервале от t = 0 до t = 3/|p|
min, где |p|
min — меньший по модулю корень характеристического уравнения.

Е = 150 В
L
1 = 2 мГн
C
1 = 5 мкФ
R
1 = 5 Ом
R
2 = 10 Ом
R
3 = 5 Ом
R
4 = 5 Ом
i
2 — ?
0696tДана электрическая цепь, в которой происходит коммутация (рис. 3.1—3.20). В цепи действует постоянная ЭДС E. Параметры цепи приведены в табл. 3.1. Рассмотреть переходный процесс в цепи второго порядка (см. рис. 3.1—3.20), когда L
2 = 0, т.е. участок a—b схемы закорочен, и когда C
2 = ∞, т.е. ветвь m—n с конденсатором C
2 разомкнута. При вычерчивании схемы элементы L
2 и C
2 должны отсутствовать. Определить закон изменения во времени указанной в таблице величины (тока или напряжения).
Задачу решить
классическим методом. На основании полученного аналитического выражения требуется построить график изменения искомой величины в функции времени в интервале от t = 0 до t = 3/|p|
min, где |p|
min — меньший по модулю корень характеристического уравнения.

Е = 150 В
L
1 = 2 мГн
C
1 = 5 мкФ
R
1 = 5 Ом
R
2 = 10 Ом
R
3 = 5 Ом
R
4 = 5 Ом
i
2 — ?
0697tДана электрическая цепь, в которой происходит коммутация (рис. 3.1—3.20). В цепи действует постоянная ЭДС E. Параметры цепи приведены в табл. 3.1. Рассмотреть переходный процесс в цепи второго порядка (см. рис. 3.1—3.20), когда L
2 = 0, т.е. участок a—b схемы закорочен, и когда C
2 = ∞, т.е. ветвь m—n с конденсатором C
2 разомкнута. При вычерчивании схемы элементы L
2 и C
2 должны отсутствовать. Определить закон изменения во времени указанной в таблице величины (тока или напряжения).
Задачу следует решать двумя методами: классическим и операторным. На основании полученного аналитического выражения требуется построить график изменения искомой величины в функции времени в интервале от t = 0 до t = 3/|p|
min, где |p|
min — меньший по модулю корень характеристического уравнения.

Е = 100 В
L
1 = 1 мГн
C
1 = 10 мкФ
R
1 = 1 Ом
R
2 = 3 Ом
i
3 — ?
0698tДана электрическая цепь, в которой происходит коммутация. В цепи действует постоянная ЭДС E. Рассмотреть переходный процесс в цепи без катушек. Определить закон изменения во времени указанной в таблице величины (тока или напряжения).
Задачу следует решать двумя методами: классическим и операторным. На основании полученного аналитического выражения требуется построить график изменения искомой величины в функции времени в интервале от t = 0 до t = 3/|p|
min, где |p|
min — меньший по модулю корень характеристического уравнения.

Е = 100 В
L
1 = 1 мГн
C
1 = 10 мкФ
R
1 = 1 Ом
R
2 = 3 Ом
i
3 — ?
0699tДана электрическая цепь, в которой происходит коммутация (рис. 3.1—3.20). В цепи действует постоянная ЭДС E. Параметры цепи приведены в табл. 3.1. Рассмотреть переходный процесс в цепи второго порядка (см. рис. 3.1—3.20), когда L
2 = 0, т.е. участок a—b схемы закорочен, и когда C
2 = ∞, т.е. ветвь m—n с конденсатором C
2 разомкнута. При вычерчивании схемы элементы L
2 и C
2 должны отсутствовать. Определить закон изменения во времени указанной в таблице величины (тока или напряжения).
Задачу решить классическим методом. На основании полученного аналитического выражения требуется построить график изменения искомой величины в функции времени в интервале от t = 0 до t = 3/|p|
min, где |p|
min — меньший по модулю корень характеристического уравнения.

Е = 120 В
L
1 = 1 мГн
C
1 = 10 мкФ
R
1 = 1 Ом
R
2 = 2 Ом
R
3 = 1 Ом
R
4 = 1 Ом
i
2 — ?
0700tДана электрическая цепь, в которой происходит коммутация. В цепи действует постоянная ЭДС E. Рассмотреть переходный процесс в цепи без катушек. Определить закон изменения во времени указанной в таблице величины (тока или напряжения).
Задачу следует решать двумя методами: классическим и операторным. На основании полученного аналитического выражения требуется построить график изменения искомой величины в функции времени в интервале от t = 0 до t = 3/|p|
min, где |p|
min — меньший по модулю корень характеристического уравнения.

Е = 100 В
C
1 = 50 мкФ
R
1 = 3 Ом
R
2 = 8 Ом
R
3 = 5 Ом
R
4 = —
U
C — ?
0701tДана электрическая цепь, в которой происходит коммутация (рис. 3.1—3.20). В цепи действует постоянная ЭДС E. Параметры цепи приведены в табл. 3.1. Рассмотреть переходный процесс в цепи второго порядка (см. рис. 3.1—3.20), когда L
2 = 0, т.е. участок a—b схемы закорочен, и когда C
2 = ∞, т.е. ветвь m—n с конденсатором C
2 разомкнута. При вычерчивании схемы элементы L
2 и C
2 должны отсутствовать. Определить закон изменения во времени указанной в таблице величины (тока или напряжения).
Задачу решить
классическим методом. На основании полученного аналитического выражения требуется построить график изменения искомой величины в функции времени в интервале от t = 0 до t = 3/|p|
min, где |p|
min — меньший по модулю корень характеристического уравнения.

Е = 100 В
C
1 = 50 мкФ
R
1 = 3 Ом
R
2 = 8 Ом
R
3 = 5 Ом
R
4 = —
U
C — ?
0702tДана электрическая цепь, в которой происходит коммутация (рис. 3.1—3.20). В цепи действует постоянная ЭДС E. Параметры цепи приведены в табл. 3.1. Рассмотреть переходный процесс в цепи второго порядка (см. рис. 3.1—3.20), когда L
2 = 0, т.е. участок a—b схемы закорочен, и когда C
2 = ∞, т.е. ветвь m—n с конденсатором C
2 разомкнута. При вычерчивании схемы элементы L
2 и C
2 должны отсутствовать. Определить закон изменения во времени указанной в таблице величины (тока или напряжения).
Задачу следует решать двумя методами: классическим и операторным. На основании полученного аналитического выражения требуется построить график изменения искомой величины в функции времени в интервале от t = 0 до t = 3/|p|
min, где |p|
min — меньший по модулю корень характеристического уравнения.

Е = 50 В
L
1 = 1 мГн
C
1 = 1500 мкФ
R
1 = 2 Ом
R
2 = 13 Ом
R
3 = 2 Ом
R
4 = 3 Ом
i — ?
0703tДана электрическая цепь, в которой происходит коммутация (рис. 3.1—3.20). В цепи действует постоянная ЭДС E. Параметры цепи приведены в табл. 3.1. Рассмотреть переходный процесс в цепи второго порядка (см. рис. 3.1—3.20), когда L
2 = 0, т.е. участок a—b схемы закорочен, и когда C
2 = ∞, т.е. ветвь m—n с конденсатором C
2 разомкнута. При вычерчивании схемы элементы L
2 и C
2 должны отсутствовать. Определить закон изменения во времени указанной в таблице величины (тока или напряжения).
Задачу решить
классическим методом. На основании полученного аналитического выражения требуется построить график изменения искомой величины в функции времени в интервале от t = 0 до t = 3/|p|
min, где |p|
min — меньший по модулю корень характеристического уравнения.

Е = 50 В
L
1 = 1 мГн
C
1 = 1500 мкФ
R
1 = 2 Ом
R
2 = 13 Ом
R
3 = 2 Ом
R
4 = 3 Ом
i — ?
0704tДана электрическая цепь, в которой происходит коммутация (рис. 3.1—3.20). В цепи действует постоянная ЭДС E. Параметры цепи приведены в табл. 3.1. Рассмотреть переходный процесс в цепи второго порядка (см. рис. 3.1—3.20), когда L
2 = 0, т.е. участок a—b схемы закорочен, и когда C
2 = ∞, т.е. ветвь m—n с конденсатором C
2 разомкнута. При вычерчивании схемы элементы L
2 и C
2 должны отсутствовать. Определить закон изменения во времени указанной в таблице величины (тока или напряжения).
Задачу следует решать двумя методами: классическим и операторным. На основании полученного аналитического выражения требуется построить график изменения искомой величины в функции времени в интервале от t = 0 до t = 3/|p|
min, где |p|
min — меньший по модулю корень характеристического уравнения.

Е = 120 В
L
1 = 10 мГн
C
1 = 10 мкФ
R
1 = 20 Ом
R
2 = 80 Ом
R
3 = 1000 Ом
R
4 = 1000 Ом
i
3 — ?
0705tДана электрическая цепь, в которой происходит коммутация (рис. 3.1—3.20). В цепи действует постоянная ЭДС E. Параметры цепи приведены в табл. 3.1. Рассмотреть переходный процесс в цепи второго порядка (см. рис. 3.1—3.20), когда L
2 = 0, т.е. участок a—b схемы закорочен, и когда C
2 = ∞, т.е. ветвь m—n с конденсатором C
2 разомкнута. При вычерчивании схемы элементы L
2 и C
2 должны отсутствовать. Определить закон изменения во времени указанной в таблице величины (тока или напряжения).
Задачу решить
классическим методом. На основании полученного аналитического выражения требуется построить график изменения искомой величины в функции времени в интервале от t = 0 до t = 3/|p|
min, где |p|
min — меньший по модулю корень характеристического уравнения.

Е = 100 В
L
1 = 1 мГн
C
1 = 10 мкФ
R
1 = 50 Ом
R
2 = 20 Ом
R
3 = 30 Ом
R
4 = —
U
L1 — ?
0706tДана электрическая цепь, в которой происходит коммутация. В цепи действует постоянная ЭДС E. Рассмотреть переходный процесс в цепи без катушек. Определить закон изменения во времени указанной в таблице величины (тока или напряжения).
Задачу следует решать двумя методами: классическим и операторным. На основании полученного аналитического выражения требуется построить график изменения искомой величины в функции времени в интервале от t = 0 до t = 3/|p|
min, где |p|
min — меньший по модулю корень характеристического уравнения.

Е = 300 В
С
1 = 4 мкФ
R
1 = 15 Ом
R
2 = 20 Ом
R
3 = 5 Ом
R
4 = 20 Ом
i
2 — ?
0707tДана электрическая цепь, в которой происходит коммутация (рис. 3.1—3.20). В цепи действует постоянная ЭДС E. Параметры цепи приведены в табл. 3.1. Рассмотреть переходный процесс в цепи второго порядка (см. рис. 3.1—3.20), когда L
2 = 0, т.е. участок a—b схемы закорочен, и когда C
2 = ∞, т.е. ветвь m—n с конденсатором C
2 разомкнута. При вычерчивании схемы элементы L
2 и C
2 должны отсутствовать. Определить закон изменения во времени указанной в таблице величины (тока или напряжения).
Задачу решить
классическим методом. На основании полученного аналитического выражения требуется построить график изменения искомой величины в функции времени в интервале от t = 0 до t = 3/|p|
min, где |p|
min — меньший по модулю корень характеристического уравнения.

Е = 100 В
L
1 = 1 мГн
C
1 = 10 мкФ
R
1 = 20 Ом
R
2 = 17 Ом
R
3 = 3 Ом
R
4 = 2 Ом
U
L — ?
0708tДана электрическая цепь, в которой происходит коммутация (рис. 3.1—3.20). В цепи действует постоянная ЭДС E. Параметры цепи приведены в табл. 3.1. Рассмотреть переходный процесс в цепи второго порядка (см. рис. 3.1—3.20), когда L
2 = 0, т.е. участок a—b схемы закорочен, и когда C
2 = ∞, т.е. ветвь m—n с конденсатором C
2 разомкнута. При вычерчивании схемы элементы L
2 и C
2 должны отсутствовать. Определить закон изменения во времени указанной в таблице величины (тока или напряжения).
Задачу следует решать двумя методами: классическим и операторным. На основании полученного аналитического выражения требуется построить график изменения искомой величины в функции времени в интервале от t = 0 до t = 3/|p|
min, где |p|
min — меньший по модулю корень характеристического уравнения.

Е = 150 В
L
1 = 4 мГн
C
1 = 5 мкФ
R
1 = 9 Ом
R
2 = 10 Ом
R
3 = 5 Ом
R
4 = 1 Ом
U
L1 — ?
0709tДана электрическая цепь, в которой происходит коммутация (рис. 3.1—3.20). В цепи действует постоянная ЭДС E. Параметры цепи приведены в табл. 3.1. Рассмотреть переходный процесс в цепи второго порядка (см. рис. 3.1—3.20), когда L
2 = 0, т.е. участок a—b схемы закорочен, и когда C
2 = ∞, т.е. ветвь m—n с конденсатором C
2 разомкнута. При вычерчивании схемы элементы L
2 и C
2 должны отсутствовать. Определить закон изменения во времени указанной в таблице величины (тока или напряжения).
Задачу решить
классическим методом. На основании полученного аналитического выражения требуется построить график изменения искомой величины в функции времени в интервале от t = 0 до t = 3/|p|
min, где |p|
min — меньший по модулю корень характеристического уравнения.

Е = 150 В
L
1 = 4 мГн
C
1 = 5 мкФ
R
1 = 9 Ом
R
2 = 10 Ом
R
3 = 5 Ом
R
4 = 1 Ом
U
L1 — ?
0710tДана электрическая цепь, в которой происходит коммутация (рис. 3.1—3.20). В цепи действует постоянная ЭДС E. Параметры цепи приведены в табл. 3.1. Рассмотреть переходный процесс в цепи второго порядка (см. рис. 3.1—3.20), когда L
2 = 0, т.е. участок a—b схемы закорочен, и когда C
2 = ∞, т.е. ветвь m—n с конденсатором C
2 разомкнута. При вычерчивании схемы элементы L
2 и C
2 должны отсутствовать. Определить закон изменения во времени указанной в таблице величины (тока или напряжения).
Задачу решить
классическим методом. На основании полученного аналитического выражения требуется построить график изменения искомой величины в функции времени в интервале от t = 0 до t = 3/|p|
min, где |p|
min — меньший по модулю корень характеристического уравнения.

Е = 30 В
L
1 = 1 мГн
C
1 = 2,5 мкФ
R
1 = 5 Ом
R
2 = 10 Ом
R
3 = 15 Ом
R
4 = —
i
3 — ?
0711tДана электрическая цепь, в которой происходит коммутация (рис. 3.1—3.20). В цепи действует постоянная ЭДС E. Параметры цепи приведены в табл. 3.1. Рассмотреть переходный процесс в цепи второго порядка (см. рис. 3.1—3.20), когда L
2 = 0, т.е. участок a—b схемы закорочен, и когда C
2 = ∞, т.е. ветвь m—n с конденсатором C
2 разомкнута. При вычерчивании схемы элементы L
2 и C
2 должны отсутствовать. Определить закон изменения во времени указанной в таблице величины (тока или напряжения).
Задачу решить
классическим методом. На основании полученного аналитического выражения требуется построить график изменения искомой величины в функции времени в интервале от t = 0 до t = 3/|p|
min, где |p|
min — меньший по модулю корень характеристического уравнения.

Е = 200 В
L
1 = 10 мГн
C
1 = 10 мкФ
R
1 = 50 Ом
R
2 = 50 Ом
R
3 = 50 Ом
R
4 = 100 Ом
U
R3 — ?
0712tДана электрическая цепь, в которой происходит коммутация (рис. 3.1—3.20). В цепи действует постоянная ЭДС E. Параметры цепи приведены в табл. 3.1. Рассмотреть переходный процесс в цепи второго порядка (см. рис. 3.1—3.20), когда L
2 = 0, т.е. участок a—b схемы закорочен, и когда C
2 = ∞, т.е. ветвь m—n с конденсатором C
2 разомкнута. При вычерчивании схемы элементы L
2 и C
2 должны отсутствовать. Определить закон изменения во времени указанной в таблице величины (тока или напряжения).
Задачу решить
классическим методом. На основании полученного аналитического выражения требуется построить график изменения искомой величины в функции времени в интервале от t = 0 до t = 3/|p|
min, где |p|
min — меньший по модулю корень характеристического уравнения.

Е = 100 В
L
1 = 1 мГн
C
1 = 10 мкФ
R
1 = 5 Ом
R
2 = 15 Ом
R
3 = 4 Ом
R
4 = —
U
L1 — ?
0713tДана электрическая цепь, в которой происходит коммутация. В цепи действует постоянная ЭДС E. Рассмотреть переходный процесс в цепи без катушек. Определить закон изменения во времени указанной в таблице величины (тока или напряжения).
Задачу следует решать двумя методами: классическим и операторным. На основании полученного аналитического выражения требуется построить график изменения искомой величины в функции времени в интервале от t = 0 до t = 3/|p|
min, где |p|
min — меньший по модулю корень характеристического уравнения.

Е = 50 В
C
1 = 1670 мкФ
R
1 = 1 Ом
R
2 = 2 Ом
R
3 = 2 Ом
R
4 = 4 Ом
i
2 — ?
0714tДана электрическая цепь, в которой происходит коммутация (рис. 3.1—3.20). В цепи действует постоянная ЭДС E. Параметры цепи приведены в табл. 3.1. Рассмотреть переходный процесс в цепи второго порядка (см. рис. 3.1—3.20), когда L
2 = 0, т.е. участок a—b схемы закорочен, и когда C
2 = ∞, т.е. ветвь m—n с конденсатором C
2 разомкнута. При вычерчивании схемы элементы L
2 и C
2 должны отсутствовать. Определить закон изменения во времени указанной в таблице величины (тока или напряжения).
Задачу решить
классическим методом. На основании полученного аналитического выражения требуется построить график изменения искомой величины в функции времени в интервале от t = 0 до t = 3/|p|
min, где |p|
min — меньший по модулю корень характеристического уравнения.

Е = 50 В
L
1 = 2 мГн
C
1 = 1670 мкФ
R
1 = 1 Ом
R
2 = 2 Ом
R
3 = 2 Ом
R
4 = 4 Ом
i
2 — ?
0715tДана электрическая цепь, в которой происходит коммутация. В цепи действует постоянная ЭДС E. Рассмотреть переходный процесс в цепи без катушек. Определить закон изменения во времени указанной в таблице величины (тока или напряжения).
Задачу следует решать двумя методами: классическим и операторным. На основании полученного аналитического выражения требуется построить график изменения искомой величины в функции времени в интервале от t = 0 до t = 3/|p|
min, где |p|
min — меньший по модулю корень характеристического уравнения.

Е = 120 В
С
1 = 10 мкФ
R
1 = 20 Ом
R
2 = 80 Ом
R
3 = 1000 Ом
R
4 = 1000 Ом
i
2 — ?
0716tДана электрическая цепь, в которой происходит коммутация (рис. 3.1—3.20). В цепи действует постоянная ЭДС E. Параметры цепи приведены в табл. 3.1. Рассмотреть переходный процесс в цепи второго порядка (см. рис. 3.1—3.20), когда L
2 = 0, т.е. участок a—b схемы закорочен, и когда C
2 = ∞, т.е. ветвь m—n с конденсатором C
2 разомкнута. При вычерчивании схемы элементы L
2 и C
2 должны отсутствовать. Определить закон изменения во времени указанной в таблице величины (тока или напряжения).
Задачу решить
классическим методом. На основании полученного аналитического выражения требуется построить график изменения искомой величины в функции времени в интервале от t = 0 до t = 3/|p|
min, где |p|
min — меньший по модулю корень характеристического уравнения.

Е = 120 В
L
1 = 10 мГн
C
1 = 10 мкФ
R
1 = 20 Ом
R
2 = 80 Ом
R
3 = 1000 Ом
R
4 = 1000 Ом
i
2 — ?
0717tДана электрическая цепь, в которой происходит коммутация (рис. 3.1—3.20). В цепи действует постоянная ЭДС E. Параметры цепи приведены в табл. 3.1. Рассмотреть переходный процесс в цепи второго порядка (см. рис. 3.1—3.20), когда L
2 = 0, т.е. участок a—b схемы закорочен, и когда C
2 = ∞, т.е. ветвь m—n с конденсатором C
2 разомкнута. При вычерчивании схемы элементы L
2 и C
2 должны отсутствовать. Определить закон изменения во времени указанной в таблице величины (тока или напряжения).
Задачу следует решать двумя методами: классическим и операторным. На основании полученного аналитического выражения требуется построить график изменения искомой величины в функции времени в интервале от t = 0 до t = 3/|p|
min, где |p|
min — меньший по модулю корень характеристического уравнения.

Е = 120 В
L
1 = 1 мГн
C
1 = 10 мкФ
R
1 = 12 Ом
R
2 = 6 Ом
R
3 = 8 Ом
R
4 = 4 Ом
i
3 — ?
0718tДана электрическая цепь, в которой происходит коммутация (рис. 3.1—3.20). В цепи действует постоянная ЭДС E. Параметры цепи приведены в табл. 3.1. Рассмотреть переходный процесс в цепи второго порядка (см. рис. 3.1—3.20), когда L
2 = 0, т.е. участок a—b схемы закорочен, и когда C
2 = ∞, т.е. ветвь m—n с конденсатором C
2 разомкнута. При вычерчивании схемы элементы L
2 и C
2 должны отсутствовать. Определить закон изменения во времени указанной в таблице величины (тока или напряжения).
Задачу решить
классическим методом. На основании полученного аналитического выражения требуется построить график изменения искомой величины в функции времени в интервале от t = 0 до t = 3/|p|
min, где |p|
min — меньший по модулю корень характеристического уравнения.

Е = 120 В
L
1 = 1 мГн
C
1 = 10 мкФ
R
1 = 12 Ом
R
2 = 6 Ом
R
3 = 8 Ом
R
4 = 4 Ом
i
3 — ?
0719tДана электрическая цепь, в которой происходит коммутация. В цепи действует постоянная ЭДС E. Рассмотреть переходный процесс в цепи без катушек. Определить закон изменения во времени указанной в таблице величины (тока или напряжения).
Задачу следует решать двумя методами: классическим и операторным. На основании полученного аналитического выражения требуется построить график изменения искомой величины в функции времени в интервале от t = 0 до t = 3/|p|
min, где |p|
min — меньший по модулю корень характеристического уравнения.

Е = 200 В
С
1 = 10 мкФ
R
1 = 10 Ом
R
2 = 10 Ом
R
3 = 50 Ом
R
4 = 30 Ом
i
2 — ?
0720tДана электрическая цепь, в которой происходит коммутация (рис. 3.1—3.20). В цепи действует постоянная ЭДС E. Параметры цепи приведены в табл. 3.1. Рассмотреть переходный процесс в цепи второго порядка (см. рис. 3.1—3.20), когда L
2 = 0, т.е. участок a—b схемы закорочен, и когда C
2 = ∞, т.е. ветвь m—n с конденсатором C
2 разомкнута. При вычерчивании схемы элементы L
2 и C
2 должны отсутствовать. Определить закон изменения во времени указанной в таблице величины (тока или напряжения).
Задачу решить
классическим методом. На основании полученного аналитического выражения требуется построить график изменения искомой величины в функции времени в интервале от t = 0 до t = 3/|p|
min, где |p|
min — меньший по модулю корень характеристического уравнения.

Е = 200 В
L
1 = 1 мГн
C
1 = 10 мкФ
R
1 = 10 Ом
R
2 = 10 Ом
R
3 = 50 Ом
R
4 = 30 Ом
i
2 — ?
0721tДана электрическая цепь, в которой происходит коммутация (рис. 3.1—3.20). В цепи действует постоянная ЭДС E. Параметры цепи приведены в табл. 3.1. Рассмотреть переходный процесс в цепи второго порядка (см. рис. 3.1—3.20), когда L
2 = 0, т.е. участок a—b схемы закорочен, и когда C
2 = ∞, т.е. ветвь m—n с конденсатором C
2 разомкнута. При вычерчивании схемы элементы L
2 и C
2 должны отсутствовать. Определить закон изменения во времени указанной в таблице величины (тока или напряжения).
Задачу решить
классическим методом. На основании полученного аналитического выражения требуется построить график изменения искомой величины в функции времени в интервале от t = 0 до t = 3/|p|
min, где |p|
min — меньший по модулю корень характеристического уравнения.

Е = 50 В
L
1 = 1 мГн
C
1 = 100 мкФ
R
1 = 3 Ом
R
2 = 7 Ом
R
3 = 10 Ом
R
4 = 10 Ом
i
2 — ?
0722tДана электрическая цепь, в которой происходит коммутация (рис. 3.1—3.20). В цепи действует постоянная ЭДС E. Параметры цепи приведены в табл. 3.1. Рассмотреть переходный процесс в цепи второго порядка (см. рис. 3.1—3.20), когда L
2 = 0, т.е. участок a—b схемы закорочен, и когда C
2 = ∞, т.е. ветвь m—n с конденсатором C
2 разомкнута. При вычерчивании схемы элементы L
2 и C
2 должны отсутствовать. Определить закон изменения во времени указанной в таблице величины (тока или напряжения).
Задачу решить
классическим методом. На основании полученного аналитического выражения требуется построить график изменения искомой величины в функции времени в интервале от t = 0 до t = 3/|p|
min, где |p|
min — меньший по модулю корень характеристического уравнения.

Е = 50 В
L
1 = 1 мГн
C
1 = 1500 мкФ
R
1 = 2 Ом
R
2 = 13 Ом
R
3 = 3 Ом
R
4 = 2 Ом
u
L — ?
0723tДана электрическая цепь, в которой происходит коммутация (рис. 3.1—3.20). В цепи действует постоянная ЭДС E. Параметры цепи приведены в табл. 3.1. Рассмотреть переходный процесс в цепи второго порядка (см. рис. 3.1—3.20), когда L
2 = 0, т.е. участок a—b схемы закорочен, и когда C
2 = ∞, т.е. ветвь m—n с конденсатором C
2 разомкнута. При вычерчивании схемы элементы L
2 и C
2 должны отсутствовать. Определить закон изменения во времени указанной в таблице величины (тока или напряжения).
Задачу следует решать двумя методами: классическим и операторным. На основании полученного аналитического выражения требуется построить график изменения искомой величины в функции времени в интервале от t = 0 до t = 3/|p|
min, где |p|
min — меньший по модулю корень характеристического уравнения.

Е = 120 В
L
1 = 10 мГн
C
1 = 10 мкФ
R
1 = 30 Ом
R
2 = 70 Ом
R
3 = 1000 Ом
R
4 = 1000 Ом
i
2 — ?
0724tДана электрическая цепь, в которой происходит коммутация (рис. 3.1—3.20). В цепи действует постоянная ЭДС E. Параметры цепи приведены в табл. 3.1. Рассмотреть переходный процесс в цепи второго порядка (см. рис. 3.1—3.20), когда L
2 = 0, т.е. участок a—b схемы закорочен, и когда C
2 = ∞, т.е. ветвь m—n с конденсатором C
2 разомкнута. При вычерчивании схемы элементы L
2 и C
2 должны отсутствовать. Определить закон изменения во времени указанной в таблице величины (тока или напряжения).
Задачу решить
классическим методом. На основании полученного аналитического выражения требуется построить график изменения искомой величины в функции времени в интервале от t = 0 до t = 3/|p|
min, где |p|
min — меньший по модулю корень характеристического уравнения.

Е = 120 В
L
1 = 10 мГн
C
1 = 10 мкФ
R
1 = 30 Ом
R
2 = 70 Ом
R
3 = 1000 Ом
R
4 = 1000 Ом
i
2 — ?
0725tДана электрическая цепь, в которой происходит коммутация (рис. 3.1—3.20). В цепи действует постоянная ЭДС E. Параметры цепи приведены в табл. 3.1. Рассмотреть переходный процесс в цепи второго порядка (см. рис. 3.1—3.20), когда L
2 = 0, т.е. участок a—b схемы закорочен, и когда C
2 = ∞, т.е. ветвь m—n с конденсатором C
2 разомкнута. При вычерчивании схемы элементы L
2 и C
2 должны отсутствовать. Определить закон изменения во времени указанной в таблице величины (тока или напряжения).
Задачу решить
классическим методом. На основании полученного аналитического выражения требуется построить график изменения искомой величины в функции времени в интервале от t = 0 до t = 3/|p|
min, где |p|
min — меньший по модулю корень характеристического уравнения.

Е = 200 В
L
1 = 1 мГн
C
1 = 50 мкФ
R
1 = 4 Ом
R
2 = 10 Ом
R
3 = 20 Ом
R
4 = 6 Ом
i
2 — ?
0726tДана электрическая цепь, в которой происходит коммутация (рис. 3.1—3.20). В цепи действует постоянная ЭДС E. Параметры цепи приведены в табл. 3.1. Рассмотреть переходный процесс в цепи второго порядка (см. рис. 3.1—3.20), когда L
2 = 0, т.е. участок a—b схемы закорочен, и когда C
2 = ∞, т.е. ветвь m—n с конденсатором C
2 разомкнута. При вычерчивании схемы элементы L
2 и C
2 должны отсутствовать. Определить закон изменения во времени указанной в таблице величины (тока или напряжения).
Задачу решить
классическим методом. На основании полученного аналитического выражения требуется построить график изменения искомой величины в функции времени в интервале от t = 0 до t = 3/|p|
min, где |p|
min — меньший по модулю корень характеристического уравнения.

Е = 100 В
L
1 = 1 мГн
C
1 = 10 мкФ
R
1 = 50 Ом
R
2 = 10 Ом
R
3 = 40 Ом
R
4 = —
i
3 — ?
0727tДана электрическая цепь, в которой происходит коммутация (рис. 3.1—3.20). В цепи действует постоянная ЭДС E. Параметры цепи приведены в табл. 3.1. Рассмотреть переходный процесс в цепи второго порядка (см. рис. 3.1—3.20), когда L
2 = 0, т.е. участок a—b схемы закорочен, и когда C
2 = ∞, т.е. ветвь m—n с конденсатором C
2 разомкнута. При вычерчивании схемы элементы L
2 и C
2 должны отсутствовать. Определить закон изменения во времени указанной в таблице величины (тока или напряжения).
Задачу решить
классическим методом. На основании полученного аналитического выражения требуется построить график изменения искомой величины в функции времени в интервале от t = 0 до t = 3/|p|
min, где |p|
min — меньший по модулю корень характеристического уравнения.

Е = 300 В
L
1 = 5 мГн
C
1 = 4 мкФ
R
1 = 3 Ом
R
2 = 20 Ом
R
3 = 17 Ом
R
4 = 20 Ом
i
1 — ?
0728tДана электрическая цепь, в которой происходит коммутация (рис. 3.1—3.20). В цепи действует постоянная ЭДС E. Параметры цепи приведены в табл. 3.1. Рассмотреть переходный процесс в цепи второго порядка (см. рис. 3.1—3.20), когда L
2 = 0, т.е. участок a—b схемы закорочен, и когда C
2 = ∞, т.е. ветвь m—n с конденсатором C
2 разомкнута. При вычерчивании схемы элементы L
2 и C
2 должны отсутствовать. Определить закон изменения во времени указанной в таблице величины (тока или напряжения).
Задачу решить
классическим методом. На основании полученного аналитического выражения требуется построить график изменения искомой величины в функции времени в интервале от t = 0 до t = 3/|p|
min, где |p|
min — меньший по модулю корень характеристического уравнения.

Е = 100 В
L
1 = 1 мГн
C
1 = 10 мкФ
R
1 = 20 Ом
R
2 = 8 Ом
R
3 = 12 Ом
R
4 = 2 Ом
U
L — ?
0729tДана электрическая цепь, в которой происходит коммутация (рис. 3.1—3.20). В цепи действует постоянная ЭДС E. Параметры цепи приведены в табл. 3.1. Рассмотреть переходный процесс в цепи второго порядка (см. рис. 3.1—3.20), когда L
2 = 0, т.е. участок a—b схемы закорочен, и когда C
2 = ∞, т.е. ветвь m—n с конденсатором C
2 разомкнута. При вычерчивании схемы элементы L
2 и C
2 должны отсутствовать. Определить закон изменения во времени указанной в таблице величины (тока или напряжения).
Задачу следует решать двумя методами: классическим и операторным. На основании полученного аналитического выражения требуется построить график изменения искомой величины в функции времени в интервале от t = 0 до t = 3/|p|
min, где |p|
min — меньший по модулю корень характеристического уравнения.

Е = 150 В
L
1 = 4 мГн
C
1 = 5 мкФ
R
1 = 0 Ом
R
2 = 10 Ом
R
3 = 5 Ом
R
4 = 10 Ом
I
1 — ?
0730tДана электрическая цепь, в которой происходит коммутация (рис. 3.1—3.20). В цепи действует постоянная ЭДС E. Параметры цепи приведены в табл. 3.1. Рассмотреть переходный процесс в цепи второго порядка (см. рис. 3.1—3.20), когда L
2 = 0, т.е. участок a—b схемы закорочен, и когда C
2 = ∞, т.е. ветвь m—n с конденсатором C
2 разомкнута. При вычерчивании схемы элементы L
2 и C
2 должны отсутствовать. Определить закон изменения во времени указанной в таблице величины (тока или напряжения).
Задачу решить
классическим методом. На основании полученного аналитического выражения требуется построить график изменения искомой величины в функции времени в интервале от t = 0 до t = 3/|p|
min, где |p|
min — меньший по модулю корень характеристического уравнения.

Е = 30 В
L
1 = 1 мГн
C
1 = 2,5 мкФ
R
1 = 15 Ом
R
2 = 10 Ом
R
3 = 5 Ом
R
4 = —
i
4 — ?
0731tДана электрическая цепь, в которой происходит коммутация (рис. 3.1—3.20). В цепи действует постоянная ЭДС E. Параметры цепи приведены в табл. 3.1. Рассмотреть переходный процесс в цепи второго порядка (см. рис. 3.1—3.20), когда L
2 = 0, т.е. участок a—b схемы закорочен, и когда C
2 = ∞, т.е. ветвь m—n с конденсатором C
2 разомкнута. При вычерчивании схемы элементы L
2 и C
2 должны отсутствовать. Определить закон изменения во времени указанной в таблице величины (тока или напряжения).
Задачу решить
классическим методом. На основании полученного аналитического выражения требуется построить график изменения искомой величины в функции времени в интервале от t = 0 до t = 3/|p|
min, где |p|
min — меньший по модулю корень характеристического уравнения.

Е = 100 В
L
1 = 1 мГн
C
1 = 10 мкФ
R
1 = 15 Ом
R
2 = 5 Ом
R
3 = 4 Ом
R
4 = —
i
3 — ?
0732tДана электрическая цепь, в которой происходит коммутация (рис. 3.1—3.20). В цепи действует постоянная ЭДС E. Параметры цепи приведены в табл. 3.1. Рассмотреть переходный процесс в цепи второго порядка (см. рис. 3.1—3.20), когда L
2 = 0, т.е. участок a—b схемы закорочен, и когда C
2 = ∞, т.е. ветвь m—n с конденсатором C
2 разомкнута. При вычерчивании схемы элементы L
2 и C
2 должны отсутствовать. Определить закон изменения во времени указанной в таблице величины (тока или напряжения).
Задачу решить
классическим методом. На основании полученного аналитического выражения требуется построить график изменения искомой величины в функции времени в интервале от t = 0 до t = 3/|p|
min, где |p|
min — меньший по модулю корень характеристического уравнения.

Е = 120 В
L
1 = 10 мГн
C
1 = 10 мкФ
R
1 = 30 Ом
R
2 = 70 Ом
R
3 = 1000 Ом
R
4 = 1000 Ом
i
3 — ?
0733tДана электрическая цепь, в которой происходит коммутация (рис. 3.1—3.20). В цепи действует постоянная ЭДС E. Параметры цепи приведены в табл. 3.1. Рассмотреть переходный процесс в цепи второго порядка (см. рис. 3.1—3.20), когда L
2 = 0, т.е. участок a—b схемы закорочен, и когда C
2 = ∞, т.е. ветвь m—n с конденсатором C
2 разомкнута. При вычерчивании схемы элементы L
2 и C
2 должны отсутствовать. Определить закон изменения во времени указанной в таблице величины (тока или напряжения).
Задачу решить
классическим методом. На основании полученного аналитического выражения требуется построить график изменения искомой величины в функции времени в интервале от t = 0 до t = 3/|p|
min, где |p|
min — меньший по модулю корень характеристического уравнения.

Е = 50 В
L
1 = 1 мГн
C
1 = 100 мкФ
R
1 = 4 Ом
R
2 = 6 Ом
R
3 = 10 Ом
R
4 = 10 Ом
i
3 — ?
0734tДана электрическая цепь, в которой происходит коммутация (рис. 3.1—3.20). В цепи действует постоянная ЭДС E. Параметры цепи приведены в табл. 3.1. Рассмотреть переходный процесс в цепи второго порядка (см. рис. 3.1—3.20), когда L
2 = 0, т.е. участок a—b схемы закорочен, и когда C
2 = ∞, т.е. ветвь m—n с конденсатором C
2 разомкнута. При вычерчивании схемы элементы L
2 и C
2 должны отсутствовать. Определить закон изменения во времени указанной в таблице величины (тока или напряжения).
Задачу следует решать двумя методами: классическим и операторным. На основании полученного аналитического выражения требуется построить график изменения искомой величины в функции времени в интервале от t = 0 до t = 3/|p|
min, где |p|
min — меньший по модулю корень характеристического уравнения.

Е = 100 В
L
1 = 1 мГн
C
1 = 10 мкФ
R
1 = 3 Ом
R
2 = 1 Ом
U
L — ?
0735tДана электрическая цепь, в которой происходит коммутация (рис. 3.1—3.20). В цепи действует постоянная ЭДС E. Параметры цепи приведены в табл. 3.1. Рассмотреть переходный процесс в цепи второго порядка (см. рис. 3.1—3.20), когда L
2 = 0, т.е. участок a—b схемы закорочен, и когда C
2 = ∞, т.е. ветвь m—n с конденсатором C
2 разомкнута. При вычерчивании схемы элементы L
2 и C
2 должны отсутствовать. Определить закон изменения во времени указанной в таблице величины (тока или напряжения).
Задачу решить
классическим методом. На основании полученного аналитического выражения требуется построить график изменения искомой величины в функции времени в интервале от t = 0 до t = 3/|p|
min, где |p|
min — меньший по модулю корень характеристического уравнения.

Е = 100 В
L
1 = 1 мГн
C
1 = 10 мкФ
R
1 = 3 Ом
R
2 = 1 Ом
U
L — ?
0736tДана электрическая цепь, в которой происходит коммутация (рис. 3.1—3.20). В цепи действует постоянная ЭДС E. Параметры цепи приведены в табл. 3.1. Рассмотреть переходный процесс в цепи второго порядка (см. рис. 3.1—3.20), когда L
2 = 0, т.е. участок a—b схемы закорочен, и когда C
2 = ∞, т.е. ветвь m—n с конденсатором C
2 разомкнута. При вычерчивании схемы элементы L
2 и C
2 должны отсутствовать. Определить закон изменения во времени указанной в таблице величины (тока или напряжения).
Задачу решить
классическим методом. На основании полученного аналитического выражения требуется построить график изменения искомой величины в функции времени в интервале от t = 0 до t = 3/|p|
min, где |p|
min — меньший по модулю корень характеристического уравнения.

Е = 50 В
L
1 = 1 мГн
C
1 = 1500 мкФ
R
1 = 2 Ом
R
2 = 13 Ом
R
3 = 4 Ом
R
4 = 1 Ом
U
C1 — ?
0737tДана электрическая цепь, в которой происходит коммутация (рис. 3.1—3.20). В цепи действует постоянная ЭДС E. Параметры цепи приведены в табл. 3.1. Рассмотреть переходный процесс в цепи второго порядка (см. рис. 3.1—3.20), когда L
2 = 0, т.е. участок a—b схемы закорочен, и когда C
2 = ∞, т.е. ветвь m—n с конденсатором C
2 разомкнута. При вычерчивании схемы элементы L
2 и C
2 должны отсутствовать. Определить закон изменения во времени указанной в таблице величины (тока или напряжения).
Задачу следует решать двумя методами: классическим и операторным. На основании полученного аналитического выражения требуется построить график изменения искомой величины в функции времени в интервале от t = 0 до t = 3/|p|
min, где |p|
min — меньший по модулю корень характеристического уравнения.

Е = 120 В
L
1 = 10 мГн
C
1 = 10 мкФ
R
1 = 40 Ом
R
2 = 60 Ом
R
3 = 1000 Ом
R
4 = 1000 Ом
u
L — ?
0738tДана электрическая цепь, в которой происходит коммутация (рис. 3.1—3.20). В цепи действует постоянная ЭДС E. Параметры цепи приведены в табл. 3.1. Рассмотреть переходный процесс в цепи второго порядка (см. рис. 3.1—3.20), когда L
2 = 0, т.е. участок a—b схемы закорочен, и когда C
2 = ∞, т.е. ветвь m—n с конденсатором C
2 разомкнута. При вычерчивании схемы элементы L
2 и C
2 должны отсутствовать. Определить закон изменения во времени указанной в таблице величины (тока или напряжения).
Задачу решить
классическим методом. На основании полученного аналитического выражения требуется построить график изменения искомой величины в функции времени в интервале от t = 0 до t = 3/|p|
min, где |p|
min — меньший по модулю корень характеристического уравнения.

Е = 100 В
L
1 = 1 мГн
C
1 = 10 мкФ
R
1 = 50 Ом
R
2 = 30 Ом
R
3 = 20 Ом
R
4 = —
i
1 — ?
0739tДана электрическая цепь, в которой происходит коммутация (рис. 3.1—3.20). В цепи действует постоянная ЭДС E. Параметры цепи приведены в табл. 3.1. Рассмотреть переходный процесс в цепи второго порядка (см. рис. 3.1—3.20), когда L
2 = 0, т.е. участок a—b схемы закорочен, и когда C
2 = ∞, т.е. ветвь m—n с конденсатором C
2 разомкнута. При вычерчивании схемы элементы L
2 и C
2 должны отсутствовать. Определить закон изменения во времени указанной в таблице величины (тока или напряжения).
Задачу решить
классическим методом. На основании полученного аналитического выражения требуется построить график изменения искомой величины в функции времени в интервале от t = 0 до t = 3/|p|
min, где |p|
min — меньший по модулю корень характеристического уравнения.

Е = 100 В
L
1 = 1 мГн
C
1 = 10 мкФ
R
1 = 20 Ом
R
2 = 11 Ом
R
3 = 9 Ом
R
4 = 2 Ом
U
C — ?
0740tДана электрическая цепь, в которой происходит коммутация (рис. 3.1—3.20). В цепи действует постоянная ЭДС E. Параметры цепи приведены в табл. 3.1. Рассмотреть переходный процесс в цепи второго порядка (см. рис. 3.1—3.20), когда L
2 = 0, т.е. участок a—b схемы закорочен, и когда C
2 = ∞, т.е. ветвь m—n с конденсатором C
2 разомкнута. При вычерчивании схемы элементы L
2 и C
2 должны отсутствовать. Определить закон изменения во времени указанной в таблице величины (тока или напряжения).
Задачу решить
классическим методом. На основании полученного аналитического выражения требуется построить график изменения искомой величины в функции времени в интервале от t = 0 до t = 3/|p|
min, где |p|
min — меньший по модулю корень характеристического уравнения.

Е = 30 В
L
1 = 1 мГн
C
1 = 2,5 мкФ
R
1 = 12 Ом
R
2 = 10 Ом
R
3 = 8 Ом
R
4 = —
i
2 — ?
0741tДана электрическая цепь, в которой происходит коммутация (рис. 3.1—3.20). В цепи действует постоянная ЭДС E. Параметры цепи приведены в табл. 3.1. Рассмотреть переходный процесс в цепи второго порядка (см. рис. 3.1—3.20), когда L
2 = 0, т.е. участок a—b схемы закорочен, и когда C
2 = ∞, т.е. ветвь m—n с конденсатором C
2 разомкнута. При вычерчивании схемы элементы L
2 и C
2 должны отсутствовать. Определить закон изменения во времени указанной в таблице величины (тока или напряжения).
Задачу следует решать двумя методами: классическим и операторным. На основании полученного аналитического выражения требуется построить график изменения искомой величины в функции времени в интервале от t = 0 до t = 3/|p|
min, где |p|
min — меньший по модулю корень характеристического уравнения.

Е = 100 В
L
1 = 1 мГн
C
1 = 10 мкФ
R
1 = 7 Ом
R
2 = 13 Ом
R
3 = 4 Ом
R
4 = —
i
2 — ?
0742tДана электрическая цепь, в которой происходит коммутация (рис. 3.1—3.20). В цепи действует постоянная ЭДС E. Параметры цепи приведены в табл. 3.1. Рассмотреть переходный процесс в цепи второго порядка (см. рис. 3.1—3.20), когда L
2 = 0, т.е. участок a—b схемы закорочен, и когда C
2 = ∞, т.е. ветвь m—n с конденсатором C
2 разомкнута. При вычерчивании схемы элементы L
2 и C
2 должны отсутствовать. Определить закон изменения во времени указанной в таблице величины (тока или напряжения).
Задачу решить
классическим методом. На основании полученного аналитического выражения требуется построить график изменения искомой величины в функции времени в интервале от t = 0 до t = 3/|p|
min, где |p|
min — меньший по модулю корень характеристического уравнения.

Е = 100 В
L
1 = 1 мГн
C
1 = 10 мкФ
R
1 = 7 Ом
R
2 = 13 Ом
R
3 = 4 Ом
R
4 = —
i
2 — ?
0743tДана электрическая цепь, в которой происходит коммутация (рис. 3.1—3.20). В цепи действует постоянная ЭДС E. Параметры цепи приведены в табл. 3.1. Рассмотреть переходный процесс в цепи второго порядка (см. рис. 3.1—3.20), когда L
2 = 0, т.е. участок a—b схемы закорочен, и когда C
2 = ∞, т.е. ветвь m—n с конденсатором C
2 разомкнута. При вычерчивании схемы элементы L
2 и C
2 должны отсутствовать. Определить закон изменения во времени указанной в таблице величины (тока или напряжения).
Задачу решить
классическим методом. На основании полученного аналитического выражения требуется построить график изменения искомой величины в функции времени в интервале от t = 0 до t = 3/|p|
min, где |p|
min — меньший по модулю корень характеристического уравнения.

Е = 120 В
L
1 = 10 мГн
C
1 = 10 мкФ
R
1 = 40 Ом
R
2 = 60 Ом
R
3 = 1000 Ом
R
4 = 1000 Ом
U
L — ?
0744tДана электрическая цепь, в которой происходит коммутация (рис. 3.1—3.20). В цепи действует постоянная ЭДС E. Параметры цепи приведены в табл. 3.1. Рассмотреть переходный процесс в цепи второго порядка (см. рис. 3.1—3.20), когда L
2 = 0, т.е. участок a—b схемы закорочен, и когда C
2 = ∞, т.е. ветвь m—n с конденсатором C
2 разомкнута. При вычерчивании схемы элементы L
2 и C
2 должны отсутствовать. Определить закон изменения во времени указанной в таблице величины (тока или напряжения).
Задачу решить
классическим методом. На основании полученного аналитического выражения требуется построить график изменения искомой величины в функции времени в интервале от t = 0 до t = 3/|p|
min, где |p|
min — меньший по модулю корень характеристического уравнения.

Е = 200 В
L
1 = 1 мГн
C
1 = 10 мкФ
R
1 = 10 Ом
R
2 = 30 Ом
R
3 = 50 Ом
R
4 = 10 Ом
i
1 — ?
0745tДана электрическая цепь, в которой происходит коммутация (рис. 3.1—3.20). В цепи действует постоянная ЭДС E. Параметры цепи приведены в табл. 3.1. Рассмотреть переходный процесс в цепи второго порядка (см. рис. 3.1—3.20), когда L
2 = 0, т.е. участок a—b схемы закорочен, и когда C
2 = ∞, т.е. ветвь m—n с конденсатором C
2 разомкнута. При вычерчивании схемы элементы L
2 и C
2 должны отсутствовать. Определить закон изменения во времени указанной в таблице величины (тока или напряжения).
Задачу следует решать двумя методами: классическим и операторным. На основании полученного аналитического выражения требуется построить график изменения искомой величины в функции времени в интервале от t = 0 до t = 3/|p|
min, где |p|
min — меньший по модулю корень характеристического уравнения.

Е = 50 В
L
1 = 1 мГн
C
1 = 100 мкФ
R
1 = 5 Ом
R
2 = 5 Ом
R
3 = 10 Ом
R
4 = 10 Ом
U
L — ?
0746tДана электрическая цепь, в которой происходит коммутация (рис. 3.1—3.20). В цепи действует постоянная ЭДС E. Параметры цепи приведены в табл. 3.1. Рассмотреть переходный процесс в цепи второго порядка (см. рис. 3.1—3.20), когда L
2 = 0, т.е. участок a—b схемы закорочен, и когда C
2 = ∞, т.е. ветвь m—n с конденсатором C
2 разомкнута. При вычерчивании схемы элементы L
2 и C
2 должны отсутствовать. Определить закон изменения во времени указанной в таблице величины (тока или напряжения).
Задачу решить
классическим методом. На основании полученного аналитического выражения требуется построить график изменения искомой величины в функции времени в интервале от t = 0 до t = 3/|p|
min, где |p|
min — меньший по модулю корень характеристического уравнения.

Е = 50 В
L
1 = 1 мГн
C
1 = 100 мкФ
R
1 = 5 Ом
R
2 = 5 Ом
R
3 = 10 Ом
R
4 = 10 Ом
U
L — ?
0747tДана электрическая цепь, в которой происходит коммутация (рис. 3.1—3.20). В цепи действует постоянная ЭДС E. Параметры цепи приведены в табл. 3.1. Рассмотреть переходный процесс в цепи второго порядка (см. рис. 3.1—3.20), когда L
2 = 0, т.е. участок a—b схемы закорочен, и когда C
2 = ∞, т.е. ветвь m—n с конденсатором C
2 разомкнута. При вычерчивании схемы элементы L
2 и C
2 должны отсутствовать. Определить закон изменения во времени указанной в таблице величины (тока или напряжения).
Задачу решить
классическим методом. На основании полученного аналитического выражения требуется построить график изменения искомой величины в функции времени в интервале от t = 0 до t = 3/|p|
min, где |p|
min — меньший по модулю корень характеристического уравнения.

Е = 150 В
L
1 = 2 мГн
C
1 = 5 мкФ
R
1 = 10 Ом
R
2 = 10 Ом
R
3 = 5 Ом
R
4 = 0 Ом
U
C — ?
0748tДана электрическая цепь, в которой происходит коммутация (рис. 3.1—3.20). В цепи действует постоянная ЭДС E. Параметры цепи приведены в табл. 3.1. Рассмотреть переходный процесс в цепи второго порядка (см. рис. 3.1—3.20), когда L
2 = 0, т.е. участок a—b схемы закорочен, и когда C
2 = ∞, т.е. ветвь m—n с конденсатором C
2 разомкнута. При вычерчивании схемы элементы L
2 и C
2 должны отсутствовать. Определить закон изменения во времени указанной в таблице величины (тока или напряжения).
Задачу следует решать двумя методами: классическим и операторным. На основании полученного аналитического выражения требуется построить график изменения искомой величины в функции времени в интервале от t = 0 до t = 3/|p|
min, где |p|
min — меньший по модулю корень характеристического уравнения.

Е = 100 В
L
1 = 1 мГн
C
1 = 10 мкФ
R
1 = 1 Ом
R
2 = 3 Ом
U
C1 — ?
0749tДана электрическая цепь, в которой происходит коммутация (рис. 3.1—3.20). В цепи действует постоянная ЭДС E. Параметры цепи приведены в табл. 3.1. Рассмотреть переходный процесс в цепи второго порядка (см. рис. 3.1—3.20), когда L
2 = 0, т.е. участок a—b схемы закорочен, и когда C
2 = ∞, т.е. ветвь m—n с конденсатором C
2 разомкнута. При вычерчивании схемы элементы L
2 и C
2 должны отсутствовать. Определить закон изменения во времени указанной в таблице величины (тока или напряжения).
Задачу решить
классическим методом. На основании полученного аналитического выражения требуется построить график изменения искомой величины в функции времени в интервале от t = 0 до t = 3/|p|
min, где |p|
min — меньший по модулю корень характеристического уравнения.

Е = 100 В
L
1 = 1 мГн
C
1 = 10 мкФ
R
1 = 1 Ом
R
2 = 3 Ом
U
C1 — ?
0750tДана электрическая цепь, в которой происходит коммутация (рис. 3.1—3.20). В цепи действует постоянная ЭДС E. Параметры цепи приведены в табл. 3.1. Рассмотреть переходный процесс в цепи второго порядка (см. рис. 3.1—3.20), когда L
2 = 0, т.е. участок a—b схемы закорочен, и когда C
2 = ∞, т.е. ветвь m—n с конденсатором C
2 разомкнута. При вычерчивании схемы элементы L
2 и C
2 должны отсутствовать. Определить закон изменения во времени указанной в таблице величины (тока или напряжения).
Задачу решить
классическим методом. На основании полученного аналитического выражения требуется построить график изменения искомой величины в функции времени в интервале от t = 0 до t = 3/|p|
min, где |p|
min — меньший по модулю корень характеристического уравнения.

Е = 120 В
L
1 = 1 мГн
C
1 = 10 мкФ
R
1 = 0 Ом
R
2 = 3 Ом
R
3 = 1 Ом
R
4 = 1 Ом
U
C — ?
0751tДана электрическая цепь, в которой происходит коммутация (рис. 3.1—3.20). В цепи действует постоянная ЭДС E. Параметры цепи приведены в табл. 3.1. Рассмотреть переходный процесс в цепи второго порядка (см. рис. 3.1—3.20), когда L
2 = 0, т.е. участок a—b схемы закорочен, и когда C
2 = ∞, т.е. ветвь m—n с конденсатором C
2 разомкнута. При вычерчивании схемы элементы L
2 и C
2 должны отсутствовать. Определить закон изменения во времени указанной в таблице величины (тока или напряжения).
Задачу решить
классическим методом. На основании полученного аналитического выражения требуется построить график изменения искомой величины в функции времени в интервале от t = 0 до t = 3/|p|
min, где |p|
min — меньший по модулю корень характеристического уравнения.

Е = 100 В
L
1 = 1 мГн
C
1 = 10 мкФ
R
1 = 50 Ом
R
2 = 35 Ом
R
3 = 15 Ом
R
4 = —
i
2 — ?
0752tДана электрическая цепь, в которой происходит коммутация (рис. 3.1—3.20). В цепи действует постоянная ЭДС E. Параметры цепи приведены в табл. 3.1. Рассмотреть переходный процесс в цепи второго порядка (см. рис. 3.1—3.20), когда L
2 = 0, т.е. участок a—b схемы закорочен, и когда C
2 = ∞, т.е. ветвь m—n с конденсатором C
2 разомкнута. При вычерчивании схемы элементы L
2 и C
2 должны отсутствовать. Определить закон изменения во времени указанной в таблице величины (тока или напряжения).
Задачу следует решать двумя методами: классическим и операторным. На основании полученного аналитического выражения требуется построить график изменения искомой величины в функции времени в интервале от t = 0 до t = 3/|p|
min, где |p|
min — меньший по модулю корень характеристического уравнения.

Е = 150 В
L
1 = 4 мГн
C
1 = 5 мкФ
R
1 = 2 Ом
R
2 = 10 Ом
R
3 = 5 Ом
R
4 = 8 Ом
U
R1 — ?
0753tДана электрическая цепь, в которой происходит коммутация (рис. 3.1—3.20). В цепи действует постоянная ЭДС E. Параметры цепи приведены в табл. 3.1. Рассмотреть переходный процесс в цепи второго порядка (см. рис. 3.1—3.20), когда L
2 = 0, т.е. участок a—b схемы закорочен, и когда C
2 = ∞, т.е. ветвь m—n с конденсатором C
2 разомкнута. При вычерчивании схемы элементы L
2 и C
2 должны отсутствовать. Определить закон изменения во времени указанной в таблице величины (тока или напряжения).
Задачу следует решать двумя методами: классическим и операторным. На основании полученного аналитического выражения требуется построить график изменения искомой величины в функции времени в интервале от t = 0 до t = 3/|p|
min, где |p|
min — меньший по модулю корень характеристического уравнения.

Е = 30 В
L
1 = 1 мГн
C
1 = 2,5 мкФ
R
1 = 8 Ом
R
2 = 10 Ом
R
3 = 12 Ом
R
4 = —
U
L — ?
0754tДана электрическая цепь, в которой происходит коммутация (рис. 3.1—3.20). В цепи действует постоянная ЭДС E. Параметры цепи приведены в табл. 3.1. Рассмотреть переходный процесс в цепи второго порядка (см. рис. 3.1—3.20), когда L
2 = 0, т.е. участок a—b схемы закорочен, и когда C
2 = ∞, т.е. ветвь m—n с конденсатором C
2 разомкнута. При вычерчивании схемы элементы L
2 и C
2 должны отсутствовать. Определить закон изменения во времени указанной в таблице величины (тока или напряжения).
Задачу следует решать двумя методами: классическим и операторным. На основании полученного аналитического выражения требуется построить график изменения искомой величины в функции времени в интервале от t = 0 до t = 3/|p|
min, где |p|
min — меньший по модулю корень характеристического уравнения.

Е = 50 В
L
1 = 2 мГн
C
1 = 1670 мкФ
R
1 = 1 Ом
R
2 = 2 Ом
R
3 = 5 Ом
R
4 = 1 Ом
U
R1 — ?
0755tДана электрическая цепь, в которой происходит коммутация (рис. 3.1—3.20). В цепи действует постоянная ЭДС E. Параметры цепи приведены в табл. 3.1. Рассмотреть переходный процесс в цепи второго порядка (см. рис. 3.1—3.20), когда L
2 = 0, т.е. участок a—b схемы закорочен, и когда C
2 = ∞, т.е. ветвь m—n с конденсатором C
2 разомкнута. При вычерчивании схемы элементы L
2 и C
2 должны отсутствовать. Определить закон изменения во времени указанной в таблице величины (тока или напряжения).
Задачу решить
классическим методом. На основании полученного аналитического выражения требуется построить график изменения искомой величины в функции времени в интервале от t = 0 до t = 3/|p|
min, где |p|
min — меньший по модулю корень характеристического уравнения.

Е = 50 В
L
1 = 2 мГн
C
1 = 1670 мкФ
R
1 = 1 Ом
R
2 = 2 Ом
R
3 = 5 Ом
R
4 = 1 Ом
U
R1 — ?
0756tДана электрическая цепь, в которой происходит коммутация (рис. 3.1—3.20). В цепи действует постоянная ЭДС E. Параметры цепи приведены в табл. 3.1. Рассмотреть переходный процесс в цепи второго порядка (см. рис. 3.1—3.20), когда L
2 = 0, т.е. участок a—b схемы закорочен, и когда C
2 = ∞, т.е. ветвь m—n с конденсатором C
2 разомкнута. При вычерчивании схемы элементы L
2 и C
2 должны отсутствовать. Определить закон изменения во времени указанной в таблице величины (тока или напряжения).
Задачу следует решать двумя методами: классическим и операторным. На основании полученного аналитического выражения требуется построить график изменения искомой величины в функции времени в интервале от t = 0 до t = 3/|p|
min, где |p|
min — меньший по модулю корень характеристического уравнения.

Е = 120 В
L
1 = 1 мГн
C
1 = 10 мкФ
R
1 = 8 Ом
R
2 = 8 Ом
R
3 = 8 Ом
R
4 = 4 Ом
U
L — ?
0757tДана электрическая цепь, в которой происходит коммутация (рис. 3.1—3.20). В цепи действует постоянная ЭДС E. Параметры цепи приведены в табл. 3.1. Рассмотреть переходный процесс в цепи второго порядка (см. рис. 3.1—3.20), когда L
2 = 0, т.е. участок a—b схемы закорочен, и когда C
2 = ∞, т.е. ветвь m—n с конденсатором C
2 разомкнута. При вычерчивании схемы элементы L
2 и C
2 должны отсутствовать. Определить закон изменения во времени указанной в таблице величины (тока или напряжения).
Задачу решить
классическим методом. На основании полученного аналитического выражения требуется построить график изменения искомой величины в функции времени в интервале от t = 0 до t = 3/|p|
min, где |p|
min — меньший по модулю корень характеристического уравнения.

Е = 150 В
L
1 = 2 мГн
C
1 = 5 мкФ
R
1 = 8 Ом
R
2 = 10 Ом
R
3 = 5 Ом
R
4 = 2 Ом
i
1 — ?
0758tДана электрическая цепь, в которой происходит коммутация (рис. 3.1—3.20). В цепи действует постоянная ЭДС E. Параметры цепи приведены в табл. 3.1. Рассмотреть переходный процесс в цепи второго порядка (см. рис. 3.1—3.20), когда L
2 = 0, т.е. участок a—b схемы закорочен, и когда C
2 = ∞, т.е. ветвь m—n с конденсатором C
2 разомкнута. При вычерчивании схемы элементы L
2 и C
2 должны отсутствовать. Определить закон изменения во времени указанной в таблице величины (тока или напряжения).
Задачу следует решать двумя методами: классическим и операторным. На основании полученного аналитического выражения требуется построить график изменения искомой величины в функции времени в интервале от t = 0 до t = 3/|p|
min, где |p|
min — меньший по модулю корень характеристического уравнения.

Е = 100 В
L
1 = 1 мГн
C
1 = 10 мкФ
R
1 = 2 Ом
R
2 = 2 Ом
i
1 — ?
0759tДана электрическая цепь, в которой происходит коммутация (рис. 3.1—3.20). В цепи действует постоянная ЭДС E. Параметры цепи приведены в табл. 3.1. Рассмотреть переходный процесс в цепи второго порядка (см. рис. 3.1—3.20), когда L
2 = 0, т.е. участок a—b схемы закорочен, и когда C
2 = ∞, т.е. ветвь m—n с конденсатором C
2 разомкнута. При вычерчивании схемы элементы L
2 и C
2 должны отсутствовать. Определить закон изменения во времени указанной в таблице величины (тока или напряжения).
Задачу решить
классическим методом. На основании полученного аналитического выражения требуется построить график изменения искомой величины в функции времени в интервале от t = 0 до t = 3/|p|
min, где |p|
min — меньший по модулю корень характеристического уравнения.

Е = 120 В
L
1 = 1 мГн
C
1 = 10 мкФ
R
1 = 3 Ом
R
2 = 0 Ом
R
3 = 1 Ом
R
4 = 1 Ом
i
1 — ?
0760tДана электрическая цепь, в которой происходит коммутация (рис. 3.1—3.20). В цепи действует постоянная ЭДС E. Параметры цепи приведены в табл. 3.1. Рассмотреть переходный процесс в цепи второго порядка (см. рис. 3.1—3.20), когда L
2 = 0, т.е. участок a—b схемы закорочен, и когда C
2 = ∞, т.е. ветвь m—n с конденсатором C
2 разомкнута. При вычерчивании схемы элементы L
2 и C
2 должны отсутствовать. Определить закон изменения во времени указанной в таблице величины (тока или напряжения).
Задачу решить
классическим методом. На основании полученного аналитического выражения требуется построить график изменения искомой величины в функции времени в интервале от t = 0 до t = 3/|p|
min, где |p|
min — меньший по модулю корень характеристического уравнения.

Е = 50 В
L
1 = 1 мГн
C
1 = 1500 мкФ
R
1 = 2 Ом
R
2 = 13 Ом
R
3 = 1 Ом
R
4 = 4 Ом
u
L — ?
0761tДана электрическая цепь, в которой происходит коммутация (рис. 3.1—3.20). В цепи действует постоянная ЭДС E. Параметры цепи приведены в табл. 3.1. Рассмотреть переходный процесс в цепи второго порядка (см. рис. 3.1—3.20), когда L
2 = 0, т.е. участок a—b схемы закорочен, и когда C
2 = ∞, т.е. ветвь m—n с конденсатором C
2 разомкнута. При вычерчивании схемы элементы L
2 и C
2 должны отсутствовать. Определить закон изменения во времени указанной в таблице величины (тока или напряжения).
Задачу решить
классическим методом. На основании полученного аналитического выражения требуется построить график изменения искомой величины в функции времени в интервале от t = 0 до t = 3/|p|
min, где |p|
min — меньший по модулю корень характеристического уравнения.

Е = 120 В
L
1 = 10 мГн
C
1 = 10 мкФ
R
1 = 10 Ом
R
2 = 90 Ом
R
3 = 1000 Ом
R
4 = 1000 Ом
i
1 — ?
0762tДана электрическая цепь, в которой происходит коммутация (рис. 3.1—3.20). В цепи действует постоянная ЭДС E. Параметры цепи приведены в табл. 3.1. Рассмотреть переходный процесс в цепи второго порядка (см. рис. 3.1—3.20), когда L
2 = 0, т.е. участок a—b схемы закорочен, и когда C
2 = ∞, т.е. ветвь m—n с конденсатором C
2 разомкнута. При вычерчивании схемы элементы L
2 и C
2 должны отсутствовать. Определить закон изменения во времени указанной в таблице величины (тока или напряжения).
Задачу следует решать двумя методами: классическим и операторным. На основании полученного аналитического выражения требуется построить график изменения искомой величины в функции времени в интервале от t = 0 до t = 3/|p|
min, где |p|
min — меньший по модулю корень характеристического уравнения.

Е = 300 В
L
1 = 5 мГн
C
1 = 4 мкФ
R
1 = 10 Ом
R
2 = 20 Ом
R
3 = 10 Ом
R
4 = 20 Ом
U
C1 — ?
0763tДана электрическая цепь, в которой происходит коммутация (рис. 3.1—3.20). В цепи действует постоянная ЭДС E. Параметры цепи приведены в табл. 3.1. Рассмотреть переходный процесс в цепи второго порядка (см. рис. 3.1—3.20), когда L
2 = 0, т.е. участок a—b схемы закорочен, и когда C
2 = ∞, т.е. ветвь m—n с конденсатором C
2 разомкнута. При вычерчивании схемы элементы L
2 и C
2 должны отсутствовать. Определить закон изменения во времени указанной в таблице величины (тока или напряжения).
Задачу следует решать двумя методами: классическим и операторным. На основании полученного аналитического выражения требуется построить график изменения искомой величины в функции времени в интервале от t = 0 до t = 3/|p|
min, где |p|
min — меньший по модулю корень характеристического уравнения.

Е = 150 В
L
1 = 4 мГн
C
1 = 5 мкФ
R
1 = 6 Ом
R
2 = 10 Ом
R
3 = 5 Ом
R
4 = 4 Ом
U
L1 — ?
0764tДана электрическая цепь, в которой происходит коммутация (рис. 3.1—3.20). В цепи действует постоянная ЭДС E. Параметры цепи приведены в табл. 3.1. Рассмотреть переходный процесс в цепи второго порядка (см. рис. 3.1—3.20), когда L
2 = 0, т.е. участок a—b схемы закорочен, и когда C
2 = ∞, т.е. ветвь m—n с конденсатором C
2 разомкнута. При вычерчивании схемы элементы L
2 и C
2 должны отсутствовать. Определить закон изменения во времени указанной в таблице величины (тока или напряжения).
Задачу решить
классическим методом. На основании полученного аналитического выражения требуется построить график изменения искомой величины в функции времени в интервале от t = 0 до t = 3/|p|
min, где |p|
min — меньший по модулю корень характеристического уравнения.

Е = 150 В
L
1 = 4 мГн
C
1 = 5 мкФ
R
1 = 6 Ом
R
2 = 10 Ом
R
3 = 5 Ом
R
4 = 4 Ом
U
L1 — ?
0765tДана электрическая цепь, в которой происходит коммутация (рис. 3.1—3.20). В цепи действует постоянная ЭДС E. Параметры цепи приведены в табл. 3.1. Рассмотреть переходный процесс в цепи второго порядка (см. рис. 3.1—3.20), когда L
2 = 0, т.е. участок a—b схемы закорочен, и когда C
2 = ∞, т.е. ветвь m—n с конденсатором C
2 разомкнута. При вычерчивании схемы элементы L
2 и C
2 должны отсутствовать. Определить закон изменения во времени указанной в таблице величины (тока или напряжения).
Задачу решить
классическим методом. На основании полученного аналитического выражения требуется построить график изменения искомой величины в функции времени в интервале от t = 0 до t = 3/|p|
min, где |p|
min — меньший по модулю корень характеристического уравнения.

Е = 30 В
L
1 = 1 мГн
C
1 = 2,5 мкФ
R
1 = 10 Ом
R
2 = 10 Ом
R
3 = 10 Ом
R
4 = —
U
C — ?
0766tДана электрическая цепь, в которой происходит коммутация (рис. 3.1—3.20). В цепи действует постоянная ЭДС E. Параметры цепи приведены в табл. 3.1. Рассмотреть переходный процесс в цепи второго порядка (см. рис. 3.1—3.20), когда L
2 = 0, т.е. участок a—b схемы закорочен, и когда C
2 = ∞, т.е. ветвь m—n с конденсатором C
2 разомкнута. При вычерчивании схемы элементы L
2 и C
2 должны отсутствовать. Определить закон изменения во времени указанной в таблице величины (тока или напряжения).
Задачу следует решать двумя методами: классическим и операторным. На основании полученного аналитического выражения требуется построить график изменения искомой величины в функции времени в интервале от t = 0 до t = 3/|p|
min, где |p|
min — меньший по модулю корень характеристического уравнения.

Е = 200 В
L
1 = 10 мГн
C
1 = 10 мкФ
R
1 = 100 Ом
R
2 = 0 Ом
R
3 = 50 Ом
R
4 = 100 Ом
i
1 — ?
0767tДана электрическая цепь, в которой происходит коммутация (рис. 3.1—3.20). В цепи действует постоянная ЭДС E. Параметры цепи приведены в табл. 3.1. Рассмотреть переходный процесс в цепи второго порядка (см. рис. 3.1—3.20), когда L
2 = 0, т.е. участок a—b схемы закорочен, и когда C
2 = ∞, т.е. ветвь m—n с конденсатором C
2 разомкнута. При вычерчивании схемы элементы L
2 и C
2 должны отсутствовать. Определить закон изменения во времени указанной в таблице величины (тока или напряжения).
Задачу решить
классическим методом. На основании полученного аналитического выражения требуется построить график изменения искомой величины в функции времени в интервале от t = 0 до t = 3/|p|
min, где |p|
min — меньший по модулю корень характеристического уравнения.

Е = 200 В
L
1 = 10 мГн
C
1 = 10 мкФ
R
1 = 100 Ом
R
2 = 0 Ом
R
3 = 50 Ом
R
4 = 100 Ом
i
1 — ?
0768tДана электрическая цепь, в которой происходит коммутация (рис. 3.1—3.20). В цепи действует постоянная ЭДС E. Параметры цепи приведены в табл. 3.1. Рассмотреть переходный процесс в цепи второго порядка (см. рис. 3.1—3.20), когда L
2 = 0, т.е. участок a—b схемы закорочен, и когда C
2 = ∞, т.е. ветвь m—n с конденсатором C
2 разомкнута. При вычерчивании схемы элементы L
2 и C
2 должны отсутствовать. Определить закон изменения во времени указанной в таблице величины (тока или напряжения).
Задачу следует решать двумя методами: классическим и операторным. На основании полученного аналитического выражения требуется построить график изменения искомой величины в функции времени в интервале от t = 0 до t = 3/|p|
min, где |p|
min — меньший по модулю корень характеристического уравнения.

Е = 50 В
L
1 = 2 мГн
C
1 = 1670 мкФ
R
1 = 1 Ом
R
2 = 2 Ом
R
3 = 1 Ом
R
4 = 5 Ом
i
1 — ?
0769tДана электрическая цепь, в которой происходит коммутация (рис. 3.1—3.20). В цепи действует постоянная ЭДС E. Параметры цепи приведены в табл. 3.1. Рассмотреть переходный процесс в цепи второго порядка (см. рис. 3.1—3.20), когда L
2 = 0, т.е. участок a—b схемы закорочен, и когда C
2 = ∞, т.е. ветвь m—n с конденсатором C
2 разомкнута. При вычерчивании схемы элементы L
2 и C
2 должны отсутствовать. Определить закон изменения во времени указанной в таблице величины (тока или напряжения).
Задачу следует решать двумя методами: классическим и операторным. На основании полученного аналитического выражения требуется построить график изменения искомой величины в функции времени в интервале от t = 0 до t = 3/|p|
min, где |p|
min — меньший по модулю корень характеристического уравнения.

Е = 120 В
L
1 = 1 мГн
C
1 = 10 мкФ
R
1 = 8 Ом
R
2 = 8 Ом
R
3 = 8 Ом
R
4 = 4 Ом
i
1(t) — ?
0770tДана электрическая цепь, в которой происходит коммутация (рис. 3.1—3.20). В цепи действует постоянная ЭДС E. Параметры цепи приведены в табл. 3.1. Рассмотреть переходный процесс в цепи второго порядка (см. рис. 3.1—3.20), когда L
2 = 0, т.е. участок a—b схемы закорочен, и когда C
2 = ∞, т.е. ветвь m—n с конденсатором C
2 разомкнута. При вычерчивании схемы элементы L
2 и C
2 должны отсутствовать. Определить закон изменения во времени указанной в таблице величины (тока или напряжения).
Задачу следует решать двумя методами: классическим и операторным. На основании полученного аналитического выражения требуется построить график изменения искомой величины в функции времени в интервале от t = 0 до t = 3/|p|
min, где |p|
min — меньший по модулю корень характеристического уравнения.

Е = 200 В
L
1 = 1 мГн
C
1 = 10 мкФ
R
1 = 10 Ом
R
2 = 20 Ом
R
3 = 50 Ом
R
4 = 20 Ом
i
1 — ?
0771tДана электрическая цепь, в которой происходит коммутация (рис. 3.1—3.20). В цепи действует постоянная ЭДС E. Параметры цепи приведены в табл. 3.1. Рассмотреть переходный процесс в цепи второго порядка (см. рис. 3.1—3.20), когда L
2 = 0, т.е. участок a—b схемы закорочен, и когда C
2 = ∞, т.е. ветвь m—n с конденсатором C
2 разомкнута. При вычерчивании схемы элементы L
2 и C
2 должны отсутствовать. Определить закон изменения во времени указанной в таблице величины (тока или напряжения).
Задачу решить
классическим методом. На основании полученного аналитического выражения требуется построить график изменения искомой величины в функции времени в интервале от t = 0 до t = 3/|p|
min, где |p|
min — меньший по модулю корень характеристического уравнения.

Е = 200 В
L
1 = 1 мГн
C
1 = 10 мкФ
R
1 = 10 Ом
R
2 = 20 Ом
R
3 = 50 Ом
R
4 = 20 Ом
i
1 — ?