считать равномерно распределенной по ободу
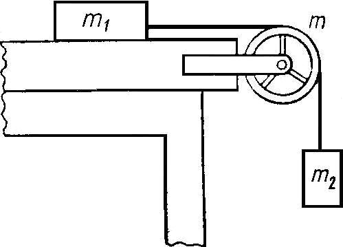
11157Два тела массами m
1 = 0,25 кг и m
2 = 0,15 кг связаны тонкой нитью, переброшенной через блок. Блок укреплен на краю горизонтального стола, по поверхности которого скользит тело массой m
1. С каким ускорением а движутся тела и каковы силы T
1 и Т
2 натяжения нити по обе. стороны от блока? Коэффициент трения f тела о поверхность стола равен 0,2. Масса m блока равна 0,1 кг и ее можно считать равномерно распределенной по ободу. Массой нити и трением в подшипниках оси блока пренебречь.

26409
Какую работу нужно совершить, чтобы заставить маховик массой 0,5 т и диаметром 1,5 м остановиться? Частота вращения маховика 12 об/с. Считать массу маховика равномерно распределенной по ободу.
26685
Какую работу нужно произвести, чтобы маховику массой m = 0,6 т, распределенной по ободу с диаметром D = 1,6 м, сообщить вращение с частотой n = 240 мин–1?
14691
Через блок, выполненный в виде колеса, перекинута нить, к концам которой привязаны грузы массами m1 = 100 г и m2 = 300 г. Массу колеса m = 200 г считать равномерно распределенной по ободу, массой спиц пренебречь. Определить ускорение, с которым будут двигаться грузы, и силы натяжения нити по обе стороны блока.
16131
Определить период колебаний переднего колеса велосипеда, поднятого в вертикальное положение. Колесо состоит из обода, массу которого m1 = 3 кг можно считать равномерно распределенной по окружности с радиусом R = 35 см и из укрепленного на ободе вентиля (m2 = 50 г). Моментом инерции спиц и втулки пренебречь.
18960
Маховик массы 4 кг вращается, делая 720 об/мин, и через 30 с, двигаясь равнозамедленно, останавливается. Найдите тормозящий момент сил, считая массу маховика равномерно распределенной по его ободу.
24520
Блок, массу m = 2,0 кг которого можно считать равномерно распределенной по ободу, вращается с начальной частотой n0 = 12 об/с. Диаметр блока равен D = 30 см. Определите, какой момент сил надо приложить к блоку, чтобы он, двигаясь равнозамедленно, остановился в течение Δt = 8,0 с. Сколько оборотов он сделает до остановки?
10047
Определить момент силы М, который необходимо приложить к блоку, вращающемуся с частотой n = 12 с–l, чтобы он остановился в течение времени Δt = 8 с. Диаметр блока D = 30 см. Массу блока m = 6 кг считать равномерно распределенной по ободу.
10547
Через неподвижный блок массой m = 0,2 кг перекинут шнур, к концам которого подвешены грузы массами m1 = 0,3 кг и m2 = 0,5 кг. Определить силы натяжения шнура T1 и T2 по обе стороны блока во время движения грузов, если массу блока можно считать равномерно распределенной по ободу.
10555
Человек стоит на скамейке Жуковского и держит в руках стержень, расположенный вертикально вдоль оси вращения скамейки. Стержень служит осью вращения колеса, расположенного на верхнем конце стержня. Скамейка неподвижна, колесо вращается с частотой n = 10 об/с. С какой угловой скоростью w будет вращаться скамейка, если человек повернет стержень на угол 180° и колесо окажется на нижнем конце стержня? Суммарный момент инерции человека и скамейки J = 6 кг∙м2, радиус колеса R = 20 см. Массу колеса m = 3 кг можно считать равномерно распределенной по ободу. Считать, что центр тяжести с колесом находится на оси платформы.
25511
К краю стола прикреплен блок. Через блок перекинута невесомая и нерастяжимая нить, к концам которой прикреплены грузы. Один груз движется по поверхности стола, а другой — вдоль вертикали вниз. Определить коэффициент f трения между поверхностями груза и стола, если массы каждого груза и масса блока одинаковы и грузы движутся с ускорением a=3,5 м/с2. Проскальзыванием нити по блоку и силой трения, действующей на блок, пренебречь. Массу блока считать равномерно распределенной по ободу.