скорость точки равна нулю
60405
Шарик массой 4 г и зарядом 52 нКл перемещается из точки с потенциалом 836 B в точку, потенциал которой равен нулю, где его скорость стала равной 619 см/с. Определить в см/с скорость, которую имел шарик в первой точке.
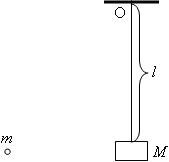
25928Деревянный брусок массы М = 100 г, подвешен на длинном легком стержне
l = 1 м, закрепленном в точке О. В брусок попадает выпущенная из духового ружья пуля массы m = 1 г, в результате чего стержень отклоняется на угол 10°. Найти скорость пули, которой она обладала перед ударом о брусок для следующих трех случаев: 1) пуля после удара застревает в бруске; 2) скорость пули после удара равна нулю; 3) пуля после удара отскакивает назад со скоростью v = 20 м/с. массой стержня пренебречь.

15745
На сколько увеличится масса α-частицы при ускорении ее от начальной скорости, равной нулю, до скорости, равной 0,9 скорости света?
23777
Две материальные точки движутся по одной прямой, совпадающей с осью 0x декартовой системы координат. Закон движения первой точки имеет вид х1 = А + Bt + Ct2 + Dt3, а скорость второй точки изменяется согласно уравнению v2x = α + βt + γt2. В начальный момент времени вторая точка имела координату х20 = δ.
A = 6 м; B = 2 м/с; C = –3 м/с2; D = 1 м/с3; α = 2 м/с; β = 4 м/с2; γ = 9 м/с3; δ = 5 м.
Определите расстояние между точками в тот момент, когда ускорение первой точки будет равно нулю.
26609По проволоке АВС, расположенной в вертикальной плоскости и изогнутой в виде дуг окружностей радиусов r1 = 1 м, r
2 = 2 м, может скользить без трения кольцо D массой m. Определить скорость кольца в точке С, если его скорость в точке А равна нулю.

26683
Движение материальной точки задано уравнением x = At+Bt2, где A = 4 м/с, В = –0,05 м/с2. Определить момент времени, в который скорость v точки равна нулю. Найти координату и ускорение в этот момент.
17176
На материальную точку, совершающую прямолинейное движение, действует сила F, равномерно убывающая в течение t0 = 10 с. Какой путь она пройдет за это время, если начальная скорость равна нулю, а начальное ускорение a0.
19866Полый цилиндр катится без проскальзывания по горке. Зависимость его потенциальной энергии от координаты W
п(x) изображена на графике. Определить кинетическую энергию цилиндра, обусловленную вращением, в точке "Е", если в точке "А" его скорость равнялась нулю.

20512На рисунке представлен график функции распределения молекул кислорода по скоростям (распределение Максвелла) для температуры Т = 273 К, при скорости v = 380 м/с функция достигает максимума. Здесь: 1) отлична от нуля вероятность того, что молекула кислорода при Т = 273 К имеет скорость точно равную 380 м/с 2) площадь заштрихованной полоски равна доле молекул со скоростями в интервале от 380 м/с до 385 м/с или вероятность того, что скорость молекулы имеет значение этом интервале скоростей 3) с понижением температуры площадь под кривой уменьшается 4) при изменении температуры положение максимума не изменяется. Укажите не менее двух вариантов ответов.

22050
Шарик массой m = 1 г и зарядом Q = 10 нКл перемещается под действием электрических сил из точки A, потенциал которой равен 600 B, в точку B, потенциал которой равен нулю. Чему равна его скорость v1 в точке A, если в точке B она стала равной v2 = 0,2 м/с?
23988
Точка движется по прямой согласно уравнению x = At + Bt3, где A = 6 м/с, В = –2 м/с3. Найти ускорение в момент, когда скорость равна нулю.
24685По графикам а
x = a
x(t) для прямолинейного движения материальной точки построить графики зависимости v
x = v
x(t), считая, что в начальный момент времени t = 0 скорость точки равна нулю.
