Механическая система из грузов, ступенчатого шкива

Механическая система из грузов, ступенчатого шкива

0600m
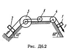
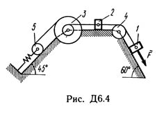
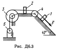
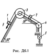
Механическая система состоит из грузов 1 и 2, ступенчатого шкива 3 с радиусами ступеней R3 = 0,3 м, r3 = 0,1 м и радиусом инерции относительно оси вращения ρ3 = 0,2 м, блока 4 радиуса R4 = 0,2 м И катка (или подвижного блока) 5 (рис. Д6.0 — Д6.9, табл. Д6); тело 5 считать сплошным однородным цилиндром, а массу блока 4 — равномерно распределенной по ободу. Коэффициент трения грузов о плоскость f = 0,1. Тела системы соединены друг с другом нитями, перекинутыми через блоки и намотанными на шкив 3 (или на шкив и каток); участки нитей параллельны соответствующим плоскостям. К одному из тел прикреплена пружина с коэффициентом жесткости с.
Под действием силы F = f(s), зависящей от перемещения s точки ее приложения, система приходит в движение из состояния покоя; деформация пружины в момент начала движения равна нулю. При движении на шкив 3 действует постоянный момент M сил сопротивления (от трения в подшипниках).
Определить значение искомой величины в тот момент времени. Когда перемещение s станет равным s1 = 0,2 м. Искомая величина указана в столбце "Найти" таблицы, где обозначено: v1, v2, vC3 — скорости грузов 1, 2 и центра масс тела 5, соответственно ω3 и ω4 — угловые скорости тел 3 и 4.
Все катки, включая к катки, обмотанные нитями (как, например, каток 5 на рис. 2), катятся по плоскостям без скольжения.
На всех рисунках не изображать груз 2, если m2 = 0; остальные тела должны изображаться и тогда, когда их масса равна нулю.
рисунок к задаче
вариант 00
m1=0кг
m2=6кг
m3=4кг
m4=0кг
m5=5кг
c=200Н/м
М=1,2Н∙м
F=80(4+5s)
ω3 — ?

0601m
Механическая система состоит из грузов 1 и 2, ступенчатого шкива 3 с радиусами ступеней R3 = 0,3 м, r3 = 0,1 м и радиусом инерции относительно оси вращения ρ3 = 0,2 м, блока 4 радиуса R4 = 0,2 м И катка (или подвижного блока) 5 (рис. Д6.0 — Д6.9, табл. Д6); тело 5 считать сплошным однородным цилиндром, а массу блока 4 — равномерно распределенной по ободу. Коэффициент трения грузов о плоскость f = 0,1. Тела системы соединены друг с другом нитями, перекинутыми через блоки и намотанными на шкив 3 (или на шкив и каток); участки нитей параллельны соответствующим плоскостям. К одному из тел прикреплена пружина с коэффициентом жесткости с.
Под действием силы F = f(s), зависящей от перемещения s точки ее приложения, система приходит в движение из состояния покоя; деформация пружины в момент начала движения равна нулю. При движении на шкив 3 действует постоянный момент M сил сопротивления (от трения в подшипниках).
Определить значение искомой величины в тот момент времени. Когда перемещение s станет равным s1 = 0,2 м. Искомая величина указана в столбце "Найти" таблицы, где обозначено: v1, v2, vC3 — скорости грузов 1, 2 и центра масс тела 5, соответственно ω3 и ω4 — угловые скорости тел 3 и 4.
Все катки, включая к катки, обмотанные нитями (как, например, каток 5 на рис. 2), катятся по плоскостям без скольжения.
На всех рисунках не изображать груз 2, если m2 = 0; остальные тела должны изображаться и тогда, когда их масса равна нулю.
рисунок к задаче
вариант 01
m1=8кг
m2=0кг
m3=0кг
m4=4кг
m5=6кг
c=320Н/м
М=0,8Н∙м
F=50(8+3s)
v1 — ?

0602m
Механическая система состоит из грузов 1 и 2, ступенчатого шкива 3 с радиусами ступеней R3 = 0,3 м, r3 = 0,1 м и радиусом инерции относительно оси вращения ρ3 = 0,2 м, блока 4 радиуса R4 = 0,2 м И катка (или подвижного блока) 5 (рис. Д6.0 — Д6.9, табл. Д6); тело 5 считать сплошным однородным цилиндром, а массу блока 4 — равномерно распределенной по ободу. Коэффициент трения грузов о плоскость f = 0,1. Тела системы соединены друг с другом нитями, перекинутыми через блоки и намотанными на шкив 3 (или на шкив и каток); участки нитей параллельны соответствующим плоскостям. К одному из тел прикреплена пружина с коэффициентом жесткости с.
Под действием силы F = f(s), зависящей от перемещения s точки ее приложения, система приходит в движение из состояния покоя; деформация пружины в момент начала движения равна нулю. При движении на шкив 3 действует постоянный момент M сил сопротивления (от трения в подшипниках).
Определить значение искомой величины в тот момент времени. Когда перемещение s станет равным s1 = 0,2 м. Искомая величина указана в столбце "Найти" таблицы, где обозначено: v1, v2, vC3 — скорости грузов 1, 2 и центра масс тела 5, соответственно ω3 и ω4 — угловые скорости тел 3 и 4.
Все катки, включая к катки, обмотанные нитями (как, например, каток 5 на рис. 2), катятся по плоскостям без скольжения.
На всех рисунках не изображать груз 2, если m2 = 0; остальные тела должны изображаться и тогда, когда их масса равна нулю.
рисунок к задаче
вариант 02
m1=0кг
m2=4кг
m3=6кг
m4=0кг
m5=5кг
c=240Н/м
М=1,4Н∙м
F=60(6+5s)
v2 — ?

0603m
Механическая система состоит из грузов 1 и 2, ступенчатого шкива 3 с радиусами ступеней R3 = 0,3 м, r3 = 0,1 м и радиусом инерции относительно оси вращения ρ3 = 0,2 м, блока 4 радиуса R4 = 0,2 м И катка (или подвижного блока) 5 (рис. Д6.0 — Д6.9, табл. Д6); тело 5 считать сплошным однородным цилиндром, а массу блока 4 — равномерно распределенной по ободу. Коэффициент трения грузов о плоскость f = 0,1. Тела системы соединены друг с другом нитями, перекинутыми через блоки и намотанными на шкив 3 (или на шкив и каток); участки нитей параллельны соответствующим плоскостям. К одному из тел прикреплена пружина с коэффициентом жесткости с.
Под действием силы F = f(s), зависящей от перемещения s точки ее приложения, система приходит в движение из состояния покоя; деформация пружины в момент начала движения равна нулю. При движении на шкив 3 действует постоянный момент M сил сопротивления (от трения в подшипниках).
Определить значение искомой величины в тот момент времени. Когда перемещение s станет равным s1 = 0,2 м. Искомая величина указана в столбце "Найти" таблицы, где обозначено: v1, v2, vC3 — скорости грузов 1, 2 и центра масс тела 5, соответственно ω3 и ω4 — угловые скорости тел 3 и 4.
Все катки, включая к катки, обмотанные нитями (как, например, каток 5 на рис. 2), катятся по плоскостям без скольжения.
На всех рисунках не изображать груз 2, если m2 = 0; остальные тела должны изображаться и тогда, когда их масса равна нулю.
рисунок к задаче
вариант 03
m1=0кг
m2=6кг
m3=0кг
m4=5кг
m5=4кг
c=300Н/м
М=1,8Н∙м
F=80(5+6s)
ω4 — ?

0604m
Механическая система состоит из грузов 1 и 2, ступенчатого шкива 3 с радиусами ступеней R3 = 0,3 м, r3 = 0,1 м и радиусом инерции относительно оси вращения ρ3 = 0,2 м, блока 4 радиуса R4 = 0,2 м И катка (или подвижного блока) 5 (рис. Д6.0 — Д6.9, табл. Д6); тело 5 считать сплошным однородным цилиндром, а массу блока 4 — равномерно распределенной по ободу. Коэффициент трения грузов о плоскость f = 0,1. Тела системы соединены друг с другом нитями, перекинутыми через блоки и намотанными на шкив 3 (или на шкив и каток); участки нитей параллельны соответствующим плоскостям. К одному из тел прикреплена пружина с коэффициентом жесткости с.
Под действием силы F = f(s), зависящей от перемещения s точки ее приложения, система приходит в движение из состояния покоя; деформация пружины в момент начала движения равна нулю. При движении на шкив 3 действует постоянный момент M сил сопротивления (от трения в подшипниках).
Определить значение искомой величины в тот момент времени. Когда перемещение s станет равным s1 = 0,2 м. Искомая величина указана в столбце "Найти" таблицы, где обозначено: v1, v2, vC3 — скорости грузов 1, 2 и центра масс тела 5, соответственно ω3 и ω4 — угловые скорости тел 3 и 4.
Все катки, включая к катки, обмотанные нитями (как, например, каток 5 на рис. 2), катятся по плоскостям без скольжения.
На всех рисунках не изображать груз 2, если m2 = 0; остальные тела должны изображаться и тогда, когда их масса равна нулю.
рисунок к задаче
вариант 04
m1=5кг
m2=0кг
m3=4кг
m4=0кг
m5=6кг
c=240Н/м
М=1,2Н∙м
F=40(9+4s)
v1 — ?

0605m
Механическая система состоит из грузов 1 и 2, ступенчатого шкива 3 с радиусами ступеней R3 = 0,3 м, r3 = 0,1 м и радиусом инерции относительно оси вращения ρ3 = 0,2 м, блока 4 радиуса R4 = 0,2 м И катка (или подвижного блока) 5 (рис. Д6.0 — Д6.9, табл. Д6); тело 5 считать сплошным однородным цилиндром, а массу блока 4 — равномерно распределенной по ободу. Коэффициент трения грузов о плоскость f = 0,1. Тела системы соединены друг с другом нитями, перекинутыми через блоки и намотанными на шкив 3 (или на шкив и каток); участки нитей параллельны соответствующим плоскостям. К одному из тел прикреплена пружина с коэффициентом жесткости с.
Под действием силы F = f(s), зависящей от перемещения s точки ее приложения, система приходит в движение из состояния покоя; деформация пружины в момент начала движения равна нулю. При движении на шкив 3 действует постоянный момент M сил сопротивления (от трения в подшипниках).
Определить значение искомой величины в тот момент времени. Когда перемещение s станет равным s1 = 0,2 м. Искомая величина указана в столбце "Найти" таблицы, где обозначено: v1, v2, vC3 — скорости грузов 1, 2 и центра масс тела 5, соответственно ω3 и ω4 — угловые скорости тел 3 и 4.
Все катки, включая к катки, обмотанные нитями (как, например, каток 5 на рис. 2), катятся по плоскостям без скольжения.
На всех рисунках не изображать груз 2, если m2 = 0; остальные тела должны изображаться и тогда, когда их масса равна нулю.
рисунок к задаче
вариант 05
m1=0кг
m2=5кг
m3=0кг
m4=6кг
m5=4кг
c=200Н/м
М=1,6Н∙м
F=50(7+8s)
vc5 — ?

0606m
Механическая система состоит из грузов 1 и 2, ступенчатого шкива 3 с радиусами ступеней R3 = 0,3 м, r3 = 0,1 м и радиусом инерции относительно оси вращения ρ3 = 0,2 м, блока 4 радиуса R4 = 0,2 м И катка (или подвижного блока) 5 (рис. Д6.0 — Д6.9, табл. Д6); тело 5 считать сплошным однородным цилиндром, а массу блока 4 — равномерно распределенной по ободу. Коэффициент трения грузов о плоскость f = 0,1. Тела системы соединены друг с другом нитями, перекинутыми через блоки и намотанными на шкив 3 (или на шкив и каток); участки нитей параллельны соответствующим плоскостям. К одному из тел прикреплена пружина с коэффициентом жесткости с.
Под действием силы F = f(s), зависящей от перемещения s точки ее приложения, система приходит в движение из состояния покоя; деформация пружины в момент начала движения равна нулю. При движении на шкив 3 действует постоянный момент M сил сопротивления (от трения в подшипниках).
Определить значение искомой величины в тот момент времени. Когда перемещение s станет равным s1 = 0,2 м. Искомая величина указана в столбце "Найти" таблицы, где обозначено: v1, v2, vC3 — скорости грузов 1, 2 и центра масс тела 5, соответственно ω3 и ω4 — угловые скорости тел 3 и 4.
Все катки, включая к катки, обмотанные нитями (как, например, каток 5 на рис. 2), катятся по плоскостям без скольжения.
На всех рисунках не изображать груз 2, если m2 = 0; остальные тела должны изображаться и тогда, когда их масса равна нулю.
рисунок к задаче
вариант 06
m1=0кг
m2=4кг
m3=5кг
m4=0кг
m5=5кг
c=240Н/м
М=1,4Н∙м
F=60(6+5s)
ω3 — ?

0607m
Механическая система состоит из грузов 1 и 2, ступенчатого шкива 3 с радиусами ступеней R3 = 0,3 м, r3 = 0,1 м и радиусом инерции относительно оси вращения ρ3 = 0,2 м, блока 4 радиуса R4 = 0,2 м И катка (или подвижного блока) 5 (рис. Д6.0 — Д6.9, табл. Д6); тело 5 считать сплошным однородным цилиндром, а массу блока 4 — равномерно распределенной по ободу. Коэффициент трения грузов о плоскость f = 0,1. Тела системы соединены друг с другом нитями, перекинутыми через блоки и намотанными на шкив 3 (или на шкив и каток); участки нитей параллельны соответствующим плоскостям. К одному из тел прикреплена пружина с коэффициентом жесткости с.
Под действием силы F = f(s), зависящей от перемещения s точки ее приложения, система приходит в движение из состояния покоя; деформация пружины в момент начала движения равна нулю. При движении на шкив 3 действует постоянный момент M сил сопротивления (от трения в подшипниках).
Определить значение искомой величины в тот момент времени. Когда перемещение s станет равным s1 = 0,2 м. Искомая величина указана в столбце "Найти" таблицы, где обозначено: v1, v2, vC3 — скорости грузов 1, 2 и центра масс тела 5, соответственно ω3 и ω4 — угловые скорости тел 3 и 4.
Все катки, включая к катки, обмотанные нитями (как, например, каток 5 на рис. 2), катятся по плоскостям без скольжения.
На всех рисунках не изображать груз 2, если m2 = 0; остальные тела должны изображаться и тогда, когда их масса равна нулю.
рисунок к задаче
вариант 07
m1=0кг
m2=4кг
m3=0кг
m4=6кг
m5=5кг
c=300Н/м
М=1,5Н∙м
F=60(8+5s)
v2 — ?

0608m
Механическая система состоит из грузов 1 и 2, ступенчатого шкива 3 с радиусами ступеней R3 = 0,3 м, r3 = 0,1 м и радиусом инерции относительно оси вращения ρ3 = 0,2 м, блока 4 радиуса R4 = 0,2 м И катка (или подвижного блока) 5 (рис. Д6.0 — Д6.9, табл. Д6); тело 5 считать сплошным однородным цилиндром, а массу блока 4 — равномерно распределенной по ободу. Коэффициент трения грузов о плоскость f = 0,1. Тела системы соединены друг с другом нитями, перекинутыми через блоки и намотанными на шкив 3 (или на шкив и каток); участки нитей параллельны соответствующим плоскостям. К одному из тел прикреплена пружина с коэффициентом жесткости с.
Под действием силы F = f(s), зависящей от перемещения s точки ее приложения, система приходит в движение из состояния покоя; деформация пружины в момент начала движения равна нулю. При движении на шкив 3 действует постоянный момент M сил сопротивления (от трения в подшипниках).
Определить значение искомой величины в тот момент времени. Когда перемещение s станет равным s1 = 0,2 м. Искомая величина указана в столбце "Найти" таблицы, где обозначено: v1, v2, vC3 — скорости грузов 1, 2 и центра масс тела 5, соответственно ω3 и ω4 — угловые скорости тел 3 и 4.
Все катки, включая к катки, обмотанные нитями (как, например, каток 5 на рис. 2), катятся по плоскостям без скольжения.
На всех рисунках не изображать груз 2, если m2 = 0; остальные тела должны изображаться и тогда, когда их масса равна нулю.
рисунок к задаче
вариант 08
m1=4кг
m2=0кг
m3=0кг
m4=5кг
m5=6кг
c=320Н/м
М=1,4Н∙м
F=50(9+2s)
ω4 — ?

0609m
Механическая система состоит из грузов 1 и 2, ступенчатого шкива 3 с радиусами ступеней R3 = 0,3 м, r3 = 0,1 м и радиусом инерции относительно оси вращения ρ3 = 0,2 м, блока 4 радиуса R4 = 0,2 м И катка (или подвижного блока) 5 (рис. Д6.0 — Д6.9, табл. Д6); тело 5 считать сплошным однородным цилиндром, а массу блока 4 — равномерно распределенной по ободу. Коэффициент трения грузов о плоскость f = 0,1. Тела системы соединены друг с другом нитями, перекинутыми через блоки и намотанными на шкив 3 (или на шкив и каток); участки нитей параллельны соответствующим плоскостям. К одному из тел прикреплена пружина с коэффициентом жесткости с.
Под действием силы F = f(s), зависящей от перемещения s точки ее приложения, система приходит в движение из состояния покоя; деформация пружины в момент начала движения равна нулю. При движении на шкив 3 действует постоянный момент M сил сопротивления (от трения в подшипниках).
Определить значение искомой величины в тот момент времени. Когда перемещение s станет равным s1 = 0,2 м. Искомая величина указана в столбце "Найти" таблицы, где обозначено: v1, v2, vC3 — скорости грузов 1, 2 и центра масс тела 5, соответственно ω3 и ω4 — угловые скорости тел 3 и 4.
Все катки, включая к катки, обмотанные нитями (как, например, каток 5 на рис. 2), катятся по плоскостям без скольжения.
На всех рисунках не изображать груз 2, если m2 = 0; остальные тела должны изображаться и тогда, когда их масса равна нулю.
рисунок к задаче
вариант 09
m1=0кг
m2=5кг
m3=6кг
m4=0кг
m5=4кг
c=280Н/м
М=1,6Н∙м
F=80(6+7s)
vc5 — ?

0610m
Механическая система состоит из грузов 1 и 2, ступенчатого шкива 3 с радиусами ступеней R3 = 0,3 м, r3 = 0,1 м и радиусом инерции относительно оси вращения ρ3 = 0,2 м, блока 4 радиуса R4 = 0,2 м И катка (или подвижного блока) 5 (рис. Д6.0 — Д6.9, табл. Д6); тело 5 считать сплошным однородным цилиндром, а массу блока 4 — равномерно распределенной по ободу. Коэффициент трения грузов о плоскость f = 0,1. Тела системы соединены друг с другом нитями, перекинутыми через блоки и намотанными на шкив 3 (или на шкив и каток); участки нитей параллельны соответствующим плоскостям. К одному из тел прикреплена пружина с коэффициентом жесткости с.
Под действием силы F = f(s), зависящей от перемещения s точки ее приложения, система приходит в движение из состояния покоя; деформация пружины в момент начала движения равна нулю. При движении на шкив 3 действует постоянный момент M сил сопротивления (от трения в подшипниках).
Определить значение искомой величины в тот момент времени. Когда перемещение s станет равным s1 = 0,2 м. Искомая величина указана в столбце "Найти" таблицы, где обозначено: v1, v2, vC3 — скорости грузов 1, 2 и центра масс тела 5, соответственно ω3 и ω4 — угловые скорости тел 3 и 4.
Все катки, включая к катки, обмотанные нитями (как, например, каток 5 на рис. 2), катятся по плоскостям без скольжения.
На всех рисунках не изображать груз 2, если m2 = 0; остальные тела должны изображаться и тогда, когда их масса равна нулю.
рисунок к задаче
вариант 10
m1=0кг
m2=6кг
m3=4кг
m4=0кг
m5=5кг
c=200Н/м
М=1,2Н∙м
F=80(4+5s)
ω3 — ?

0611m
Механическая система состоит из грузов 1 и 2, ступенчатого шкива 3 с радиусами ступеней R3 = 0,3 м, r3 = 0,1 м и радиусом инерции относительно оси вращения ρ3 = 0,2 м, блока 4 радиуса R4 = 0,2 м И катка (или подвижного блока) 5 (рис. Д6.0 — Д6.9, табл. Д6); тело 5 считать сплошным однородным цилиндром, а массу блока 4 — равномерно распределенной по ободу. Коэффициент трения грузов о плоскость f = 0,1. Тела системы соединены друг с другом нитями, перекинутыми через блоки и намотанными на шкив 3 (или на шкив и каток); участки нитей параллельны соответствующим плоскостям. К одному из тел прикреплена пружина с коэффициентом жесткости с.
Под действием силы F = f(s), зависящей от перемещения s точки ее приложения, система приходит в движение из состояния покоя; деформация пружины в момент начала движения равна нулю. При движении на шкив 3 действует постоянный момент M сил сопротивления (от трения в подшипниках).
Определить значение искомой величины в тот момент времени. Когда перемещение s станет равным s1 = 0,2 м. Искомая величина указана в столбце "Найти" таблицы, где обозначено: v1, v2, vC3 — скорости грузов 1, 2 и центра масс тела 5, соответственно ω3 и ω4 — угловые скорости тел 3 и 4.
Все катки, включая к катки, обмотанные нитями (как, например, каток 5 на рис. 2), катятся по плоскостям без скольжения.
На всех рисунках не изображать груз 2, если m2 = 0; остальные тела должны изображаться и тогда, когда их масса равна нулю.
рисунок к задаче
вариант 11
m1=8кг
m2=0кг
m3=0кг
m4=4кг
m5=6кг
c=320Н/м
М=0,8Н∙м
F=50(8+3s)
v1 — ?

0612m
Механическая система состоит из грузов 1 и 2, ступенчатого шкива 3 с радиусами ступеней R3 = 0,3 м, r3 = 0,1 м и радиусом инерции относительно оси вращения ρ3 = 0,2 м, блока 4 радиуса R4 = 0,2 м И катка (или подвижного блока) 5 (рис. Д6.0 — Д6.9, табл. Д6); тело 5 считать сплошным однородным цилиндром, а массу блока 4 — равномерно распределенной по ободу. Коэффициент трения грузов о плоскость f = 0,1. Тела системы соединены друг с другом нитями, перекинутыми через блоки и намотанными на шкив 3 (или на шкив и каток); участки нитей параллельны соответствующим плоскостям. К одному из тел прикреплена пружина с коэффициентом жесткости с.
Под действием силы F = f(s), зависящей от перемещения s точки ее приложения, система приходит в движение из состояния покоя; деформация пружины в момент начала движения равна нулю. При движении на шкив 3 действует постоянный момент M сил сопротивления (от трения в подшипниках).
Определить значение искомой величины в тот момент времени. Когда перемещение s станет равным s1 = 0,2 м. Искомая величина указана в столбце "Найти" таблицы, где обозначено: v1, v2, vC3 — скорости грузов 1, 2 и центра масс тела 5, соответственно ω3 и ω4 — угловые скорости тел 3 и 4.
Все катки, включая к катки, обмотанные нитями (как, например, каток 5 на рис. 2), катятся по плоскостям без скольжения.
На всех рисунках не изображать груз 2, если m2 = 0; остальные тела должны изображаться и тогда, когда их масса равна нулю.
рисунок к задаче
вариант 12
m1=0кг
m2=4кг
m3=6кг
m4=0кг
m5=5кг
c=240Н/м
М=1,4Н∙м
F=60(6+5s)
v2 — ?

0613m
Механическая система состоит из грузов 1 и 2, ступенчатого шкива 3 с радиусами ступеней R3 = 0,3 м, r3 = 0,1 м и радиусом инерции относительно оси вращения ρ3 = 0,2 м, блока 4 радиуса R4 = 0,2 м И катка (или подвижного блока) 5 (рис. Д6.0 — Д6.9, табл. Д6); тело 5 считать сплошным однородным цилиндром, а массу блока 4 — равномерно распределенной по ободу. Коэффициент трения грузов о плоскость f = 0,1. Тела системы соединены друг с другом нитями, перекинутыми через блоки и намотанными на шкив 3 (или на шкив и каток); участки нитей параллельны соответствующим плоскостям. К одному из тел прикреплена пружина с коэффициентом жесткости с.
Под действием силы F = f(s), зависящей от перемещения s точки ее приложения, система приходит в движение из состояния покоя; деформация пружины в момент начала движения равна нулю. При движении на шкив 3 действует постоянный момент M сил сопротивления (от трения в подшипниках).
Определить значение искомой величины в тот момент времени. Когда перемещение s станет равным s1 = 0,2 м. Искомая величина указана в столбце "Найти" таблицы, где обозначено: v1, v2, vC3 — скорости грузов 1, 2 и центра масс тела 5, соответственно ω3 и ω4 — угловые скорости тел 3 и 4.
Все катки, включая к катки, обмотанные нитями (как, например, каток 5 на рис. 2), катятся по плоскостям без скольжения.
На всех рисунках не изображать груз 2, если m2 = 0; остальные тела должны изображаться и тогда, когда их масса равна нулю.
рисунок к задаче
вариант 13
m1=0кг
m2=6кг
m3=0кг
m4=5кг
m5=4кг
c=300Н/м
М=1,8Н∙м
F=80(5+6s)
ω4 — ?

0614m
Механическая система состоит из грузов 1 и 2, ступенчатого шкива 3 с радиусами ступеней R3 = 0,3 м, r3 = 0,1 м и радиусом инерции относительно оси вращения ρ3 = 0,2 м, блока 4 радиуса R4 = 0,2 м И катка (или подвижного блока) 5 (рис. Д6.0 — Д6.9, табл. Д6); тело 5 считать сплошным однородным цилиндром, а массу блока 4 — равномерно распределенной по ободу. Коэффициент трения грузов о плоскость f = 0,1. Тела системы соединены друг с другом нитями, перекинутыми через блоки и намотанными на шкив 3 (или на шкив и каток); участки нитей параллельны соответствующим плоскостям. К одному из тел прикреплена пружина с коэффициентом жесткости с.
Под действием силы F = f(s), зависящей от перемещения s точки ее приложения, система приходит в движение из состояния покоя; деформация пружины в момент начала движения равна нулю. При движении на шкив 3 действует постоянный момент M сил сопротивления (от трения в подшипниках).
Определить значение искомой величины в тот момент времени. Когда перемещение s станет равным s1 = 0,2 м. Искомая величина указана в столбце "Найти" таблицы, где обозначено: v1, v2, vC3 — скорости грузов 1, 2 и центра масс тела 5, соответственно ω3 и ω4 — угловые скорости тел 3 и 4.
Все катки, включая к катки, обмотанные нитями (как, например, каток 5 на рис. 2), катятся по плоскостям без скольжения.
На всех рисунках не изображать груз 2, если m2 = 0; остальные тела должны изображаться и тогда, когда их масса равна нулю.
рисунок к задаче
вариант 14
m1=5кг
m2=0кг
m3=4кг
m4=0кг
m5=6кг
c=240Н/м
М=1,2Н∙м
F=40(9+4s)
v1 — ?

0615m
Механическая система состоит из грузов 1 и 2, ступенчатого шкива 3 с радиусами ступеней R3 = 0,3 м, r3 = 0,1 м и радиусом инерции относительно оси вращения ρ3 = 0,2 м, блока 4 радиуса R4 = 0,2 м И катка (или подвижного блока) 5 (рис. Д6.0 — Д6.9, табл. Д6); тело 5 считать сплошным однородным цилиндром, а массу блока 4 — равномерно распределенной по ободу. Коэффициент трения грузов о плоскость f = 0,1. Тела системы соединены друг с другом нитями, перекинутыми через блоки и намотанными на шкив 3 (или на шкив и каток); участки нитей параллельны соответствующим плоскостям. К одному из тел прикреплена пружина с коэффициентом жесткости с.
Под действием силы F = f(s), зависящей от перемещения s точки ее приложения, система приходит в движение из состояния покоя; деформация пружины в момент начала движения равна нулю. При движении на шкив 3 действует постоянный момент M сил сопротивления (от трения в подшипниках).
Определить значение искомой величины в тот момент времени. Когда перемещение s станет равным s1 = 0,2 м. Искомая величина указана в столбце "Найти" таблицы, где обозначено: v1, v2, vC3 — скорости грузов 1, 2 и центра масс тела 5, соответственно ω3 и ω4 — угловые скорости тел 3 и 4.
Все катки, включая к катки, обмотанные нитями (как, например, каток 5 на рис. 2), катятся по плоскостям без скольжения.
На всех рисунках не изображать груз 2, если m2 = 0; остальные тела должны изображаться и тогда, когда их масса равна нулю.
рисунок к задаче
вариант 15
m1=0кг
m2=5кг
m3=0кг
m4=6кг
m5=4кг
c=200Н/м
М=1,6Н∙м
F=50(7+8s)
vc5 — ?

0616m
Механическая система состоит из грузов 1 и 2, ступенчатого шкива 3 с радиусами ступеней R3 = 0,3 м, r3 = 0,1 м и радиусом инерции относительно оси вращения ρ3 = 0,2 м, блока 4 радиуса R4 = 0,2 м И катка (или подвижного блока) 5 (рис. Д6.0 — Д6.9, табл. Д6); тело 5 считать сплошным однородным цилиндром, а массу блока 4 — равномерно распределенной по ободу. Коэффициент трения грузов о плоскость f = 0,1. Тела системы соединены друг с другом нитями, перекинутыми через блоки и намотанными на шкив 3 (или на шкив и каток); участки нитей параллельны соответствующим плоскостям. К одному из тел прикреплена пружина с коэффициентом жесткости с.
Под действием силы F = f(s), зависящей от перемещения s точки ее приложения, система приходит в движение из состояния покоя; деформация пружины в момент начала движения равна нулю. При движении на шкив 3 действует постоянный момент M сил сопротивления (от трения в подшипниках).
Определить значение искомой величины в тот момент времени. Когда перемещение s станет равным s1 = 0,2 м. Искомая величина указана в столбце "Найти" таблицы, где обозначено: v1, v2, vC3 — скорости грузов 1, 2 и центра масс тела 5, соответственно ω3 и ω4 — угловые скорости тел 3 и 4.
Все катки, включая к катки, обмотанные нитями (как, например, каток 5 на рис. 2), катятся по плоскостям без скольжения.
На всех рисунках не изображать груз 2, если m2 = 0; остальные тела должны изображаться и тогда, когда их масса равна нулю.
рисунок к задаче
вариант 16
m1=8кг
m2=0кг
m3=5кг
m4=0кг
m5=6кг
c=280Н/м
М=0,8Н∙м
F=40(8+9s)
ω3 — ?

0617m
Механическая система состоит из грузов 1 и 2, ступенчатого шкива 3 с радиусами ступеней R3 = 0,3 м, r3 = 0,1 м и радиусом инерции относительно оси вращения ρ3 = 0,2 м, блока 4 радиуса R4 = 0,2 м И катка (или подвижного блока) 5 (рис. Д6.0 — Д6.9, табл. Д6); тело 5 считать сплошным однородным цилиндром, а массу блока 4 — равномерно распределенной по ободу. Коэффициент трения грузов о плоскость f = 0,1. Тела системы соединены друг с другом нитями, перекинутыми через блоки и намотанными на шкив 3 (или на шкив и каток); участки нитей параллельны соответствующим плоскостям. К одному из тел прикреплена пружина с коэффициентом жесткости с.
Под действием силы F = f(s), зависящей от перемещения s точки ее приложения, система приходит в движение из состояния покоя; деформация пружины в момент начала движения равна нулю. При движении на шкив 3 действует постоянный момент M сил сопротивления (от трения в подшипниках).
Определить значение искомой величины в тот момент времени. Когда перемещение s станет равным s1 = 0,2 м. Искомая величина указана в столбце "Найти" таблицы, где обозначено: v1, v2, vC3 — скорости грузов 1, 2 и центра масс тела 5, соответственно ω3 и ω4 — угловые скорости тел 3 и 4.
Все катки, включая к катки, обмотанные нитями (как, например, каток 5 на рис. 2), катятся по плоскостям без скольжения.
На всех рисунках не изображать груз 2, если m2 = 0; остальные тела должны изображаться и тогда, когда их масса равна нулю.
рисунок к задаче
вариант 17
m1=0кг
m2=4кг
m3=0кг
m4=6кг
m5=5кг
c=300Н/м
М=1,5Н∙м
F=60(8+5s)
v2 — ?

0618m
Механическая система состоит из грузов 1 и 2, ступенчатого шкива 3 с радиусами ступеней R3 = 0,3 м, r3 = 0,1 м и радиусом инерции относительно оси вращения ρ3 = 0,2 м, блока 4 радиуса R4 = 0,2 м И катка (или подвижного блока) 5 (рис. Д6.0 — Д6.9, табл. Д6); тело 5 считать сплошным однородным цилиндром, а массу блока 4 — равномерно распределенной по ободу. Коэффициент трения грузов о плоскость f = 0,1. Тела системы соединены друг с другом нитями, перекинутыми через блоки и намотанными на шкив 3 (или на шкив и каток); участки нитей параллельны соответствующим плоскостям. К одному из тел прикреплена пружина с коэффициентом жесткости с.
Под действием силы F = f(s), зависящей от перемещения s точки ее приложения, система приходит в движение из состояния покоя; деформация пружины в момент начала движения равна нулю. При движении на шкив 3 действует постоянный момент M сил сопротивления (от трения в подшипниках).
Определить значение искомой величины в тот момент времени. Когда перемещение s станет равным s1 = 0,2 м. Искомая величина указана в столбце "Найти" таблицы, где обозначено: v1, v2, vC3 — скорости грузов 1, 2 и центра масс тела 5, соответственно ω3 и ω4 — угловые скорости тел 3 и 4.
Все катки, включая к катки, обмотанные нитями (как, например, каток 5 на рис. 2), катятся по плоскостям без скольжения.
На всех рисунках не изображать груз 2, если m2 = 0; остальные тела должны изображаться и тогда, когда их масса равна нулю.
рисунок к задаче
вариант 18
m1=4кг
m2=0кг
m3=0кг
m4=5кг
m5=6кг
c=320Н/м
М=1,4Н∙м
F=50(9+2s)
ω4 — ?

0619m
Механическая система состоит из грузов 1 и 2, ступенчатого шкива 3 с радиусами ступеней R3 = 0,3 м, r3 = 0,1 м и радиусом инерции относительно оси вращения ρ3 = 0,2 м, блока 4 радиуса R4 = 0,2 м И катка (или подвижного блока) 5 (рис. Д6.0 — Д6.9, табл. Д6); тело 5 считать сплошным однородным цилиндром, а массу блока 4 — равномерно распределенной по ободу. Коэффициент трения грузов о плоскость f = 0,1. Тела системы соединены друг с другом нитями, перекинутыми через блоки и намотанными на шкив 3 (или на шкив и каток); участки нитей параллельны соответствующим плоскостям. К одному из тел прикреплена пружина с коэффициентом жесткости с.
Под действием силы F = f(s), зависящей от перемещения s точки ее приложения, система приходит в движение из состояния покоя; деформация пружины в момент начала движения равна нулю. При движении на шкив 3 действует постоянный момент M сил сопротивления (от трения в подшипниках).
Определить значение искомой величины в тот момент времени. Когда перемещение s станет равным s1 = 0,2 м. Искомая величина указана в столбце "Найти" таблицы, где обозначено: v1, v2, vC3 — скорости грузов 1, 2 и центра масс тела 5, соответственно ω3 и ω4 — угловые скорости тел 3 и 4.
Все катки, включая к катки, обмотанные нитями (как, например, каток 5 на рис. 2), катятся по плоскостям без скольжения.
На всех рисунках не изображать груз 2, если m2 = 0; остальные тела должны изображаться и тогда, когда их масса равна нулю.
рисунок к задаче
вариант 19
m1=0кг
m2=5кг
m3=6кг
m4=0кг
m5=4кг
c=280Н/м
М=1,6Н∙м
F=80(6+7s)
vc5 — ?

0620m
Механическая система состоит из грузов 1 и 2, ступенчатого шкива 3 с радиусами ступеней R3 = 0,3 м, r3 = 0,1 м и радиусом инерции относительно оси вращения ρ3 = 0,2 м, блока 4 радиуса R4 = 0,2 м И катка (или подвижного блока) 5 (рис. Д6.0 — Д6.9, табл. Д6); тело 5 считать сплошным однородным цилиндром, а массу блока 4 — равномерно распределенной по ободу. Коэффициент трения грузов о плоскость f = 0,1. Тела системы соединены друг с другом нитями, перекинутыми через блоки и намотанными на шкив 3 (или на шкив и каток); участки нитей параллельны соответствующим плоскостям. К одному из тел прикреплена пружина с коэффициентом жесткости с.
Под действием силы F = f(s), зависящей от перемещения s точки ее приложения, система приходит в движение из состояния покоя; деформация пружины в момент начала движения равна нулю. При движении на шкив 3 действует постоянный момент M сил сопротивления (от трения в подшипниках).
Определить значение искомой величины в тот момент времени. Когда перемещение s станет равным s1 = 0,2 м. Искомая величина указана в столбце "Найти" таблицы, где обозначено: v1, v2, vC3 — скорости грузов 1, 2 и центра масс тела 5, соответственно ω3 и ω4 — угловые скорости тел 3 и 4.
Все катки, включая к катки, обмотанные нитями (как, например, каток 5 на рис. 2), катятся по плоскостям без скольжения.
На всех рисунках не изображать груз 2, если m2 = 0; остальные тела должны изображаться и тогда, когда их масса равна нулю.
рисунок к задаче
вариант 20
m1=0кг
m2=6кг
m3=4кг
m4=0кг
m5=5кг
c=200Н/м
М=1,2Н∙м
F=80(4+5s)
ω3 — ?

0621m
Механическая система состоит из грузов 1 и 2, ступенчатого шкива 3 с радиусами ступеней R3 = 0,3 м, r3 = 0,1 м и радиусом инерции относительно оси вращения ρ3 = 0,2 м, блока 4 радиуса R4 = 0,2 м И катка (или подвижного блока) 5 (рис. Д6.0 — Д6.9, табл. Д6); тело 5 считать сплошным однородным цилиндром, а массу блока 4 — равномерно распределенной по ободу. Коэффициент трения грузов о плоскость f = 0,1. Тела системы соединены друг с другом нитями, перекинутыми через блоки и намотанными на шкив 3 (или на шкив и каток); участки нитей параллельны соответствующим плоскостям. К одному из тел прикреплена пружина с коэффициентом жесткости с.
Под действием силы F = f(s), зависящей от перемещения s точки ее приложения, система приходит в движение из состояния покоя; деформация пружины в момент начала движения равна нулю. При движении на шкив 3 действует постоянный момент M сил сопротивления (от трения в подшипниках).
Определить значение искомой величины в тот момент времени. Когда перемещение s станет равным s1 = 0,2 м. Искомая величина указана в столбце "Найти" таблицы, где обозначено: v1, v2, vC3 — скорости грузов 1, 2 и центра масс тела 5, соответственно ω3 и ω4 — угловые скорости тел 3 и 4.
Все катки, включая к катки, обмотанные нитями (как, например, каток 5 на рис. 2), катятся по плоскостям без скольжения.
На всех рисунках не изображать груз 2, если m2 = 0; остальные тела должны изображаться и тогда, когда их масса равна нулю.
рисунок к задаче
вариант 21
m1=8кг
m2=0кг
m3=0кг
m4=4кг
m5=6кг
c=320Н/м
М=0,8Н∙м
F=50(8+3s)
v1 — ?

0622m
Механическая система состоит из грузов 1 и 2, ступенчатого шкива 3 с радиусами ступеней R3 = 0,3 м, r3 = 0,1 м и радиусом инерции относительно оси вращения ρ3 = 0,2 м, блока 4 радиуса R4 = 0,2 м И катка (или подвижного блока) 5 (рис. Д6.0 — Д6.9, табл. Д6); тело 5 считать сплошным однородным цилиндром, а массу блока 4 — равномерно распределенной по ободу. Коэффициент трения грузов о плоскость f = 0,1. Тела системы соединены друг с другом нитями, перекинутыми через блоки и намотанными на шкив 3 (или на шкив и каток); участки нитей параллельны соответствующим плоскостям. К одному из тел прикреплена пружина с коэффициентом жесткости с.
Под действием силы F = f(s), зависящей от перемещения s точки ее приложения, система приходит в движение из состояния покоя; деформация пружины в момент начала движения равна нулю. При движении на шкив 3 действует постоянный момент M сил сопротивления (от трения в подшипниках).
Определить значение искомой величины в тот момент времени. Когда перемещение s станет равным s1 = 0,2 м. Искомая величина указана в столбце "Найти" таблицы, где обозначено: v1, v2, vC3 — скорости грузов 1, 2 и центра масс тела 5, соответственно ω3 и ω4 — угловые скорости тел 3 и 4.
Все катки, включая к катки, обмотанные нитями (как, например, каток 5 на рис. 2), катятся по плоскостям без скольжения.
На всех рисунках не изображать груз 2, если m2 = 0; остальные тела должны изображаться и тогда, когда их масса равна нулю.
рисунок к задаче
вариант 22
m1=0кг
m2=4кг
m3=6кг
m4=0кг
m5=5кг
c=240Н/м
М=1,4Н∙м
F=60(6+5s)
v2 — ?

0623m
Механическая система состоит из грузов 1 и 2, ступенчатого шкива 3 с радиусами ступеней R3 = 0,3 м, r3 = 0,1 м и радиусом инерции относительно оси вращения ρ3 = 0,2 м, блока 4 радиуса R4 = 0,2 м И катка (или подвижного блока) 5 (рис. Д6.0 — Д6.9, табл. Д6); тело 5 считать сплошным однородным цилиндром, а массу блока 4 — равномерно распределенной по ободу. Коэффициент трения грузов о плоскость f = 0,1. Тела системы соединены друг с другом нитями, перекинутыми через блоки и намотанными на шкив 3 (или на шкив и каток); участки нитей параллельны соответствующим плоскостям. К одному из тел прикреплена пружина с коэффициентом жесткости с.
Под действием силы F = f(s), зависящей от перемещения s точки ее приложения, система приходит в движение из состояния покоя; деформация пружины в момент начала движения равна нулю. При движении на шкив 3 действует постоянный момент M сил сопротивления (от трения в подшипниках).
Определить значение искомой величины в тот момент времени. Когда перемещение s станет равным s1 = 0,2 м. Искомая величина указана в столбце "Найти" таблицы, где обозначено: v1, v2, vC3 — скорости грузов 1, 2 и центра масс тела 5, соответственно ω3 и ω4 — угловые скорости тел 3 и 4.
Все катки, включая к катки, обмотанные нитями (как, например, каток 5 на рис. 2), катятся по плоскостям без скольжения.
На всех рисунках не изображать груз 2, если m2 = 0; остальные тела должны изображаться и тогда, когда их масса равна нулю.
рисунок к задаче
вариант 23
m1=0кг
m2=6кг
m3=0кг
m4=5кг
m5=4кг
c=300Н/м
М=1,8Н∙м
F=80(5+6s)
ω4 — ?

0624m
Механическая система состоит из грузов 1 и 2, ступенчатого шкива 3 с радиусами ступеней R3 = 0,3 м, r3 = 0,1 м и радиусом инерции относительно оси вращения ρ3 = 0,2 м, блока 4 радиуса R4 = 0,2 м И катка (или подвижного блока) 5 (рис. Д6.0 — Д6.9, табл. Д6); тело 5 считать сплошным однородным цилиндром, а массу блока 4 — равномерно распределенной по ободу. Коэффициент трения грузов о плоскость f = 0,1. Тела системы соединены друг с другом нитями, перекинутыми через блоки и намотанными на шкив 3 (или на шкив и каток); участки нитей параллельны соответствующим плоскостям. К одному из тел прикреплена пружина с коэффициентом жесткости с.
Под действием силы F = f(s), зависящей от перемещения s точки ее приложения, система приходит в движение из состояния покоя; деформация пружины в момент начала движения равна нулю. При движении на шкив 3 действует постоянный момент M сил сопротивления (от трения в подшипниках).
Определить значение искомой величины в тот момент времени. Когда перемещение s станет равным s1 = 0,2 м. Искомая величина указана в столбце "Найти" таблицы, где обозначено: v1, v2, vC3 — скорости грузов 1, 2 и центра масс тела 5, соответственно ω3 и ω4 — угловые скорости тел 3 и 4.
Все катки, включая к катки, обмотанные нитями (как, например, каток 5 на рис. 2), катятся по плоскостям без скольжения.
На всех рисунках не изображать груз 2, если m2 = 0; остальные тела должны изображаться и тогда, когда их масса равна нулю.
рисунок к задаче
вариант 24
m1=5кг
m2=0кг
m3=4кг
m4=0кг
m5=6кг
c=240Н/м
М=1,2Н∙м
F=40(9+4s)
v1 — ?

0625m
Механическая система состоит из грузов 1 и 2, ступенчатого шкива 3 с радиусами ступеней R3 = 0,3 м, r3 = 0,1 м и радиусом инерции относительно оси вращения ρ3 = 0,2 м, блока 4 радиуса R4 = 0,2 м И катка (или подвижного блока) 5 (рис. Д6.0 — Д6.9, табл. Д6); тело 5 считать сплошным однородным цилиндром, а массу блока 4 — равномерно распределенной по ободу. Коэффициент трения грузов о плоскость f = 0,1. Тела системы соединены друг с другом нитями, перекинутыми через блоки и намотанными на шкив 3 (или на шкив и каток); участки нитей параллельны соответствующим плоскостям. К одному из тел прикреплена пружина с коэффициентом жесткости с.
Под действием силы F = f(s), зависящей от перемещения s точки ее приложения, система приходит в движение из состояния покоя; деформация пружины в момент начала движения равна нулю. При движении на шкив 3 действует постоянный момент M сил сопротивления (от трения в подшипниках).
Определить значение искомой величины в тот момент времени. Когда перемещение s станет равным s1 = 0,2 м. Искомая величина указана в столбце "Найти" таблицы, где обозначено: v1, v2, vC3 — скорости грузов 1, 2 и центра масс тела 5, соответственно ω3 и ω4 — угловые скорости тел 3 и 4.
Все катки, включая к катки, обмотанные нитями (как, например, каток 5 на рис. 2), катятся по плоскостям без скольжения.
На всех рисунках не изображать груз 2, если m2 = 0; остальные тела должны изображаться и тогда, когда их масса равна нулю.
рисунок к задаче
вариант 25
m1=0кг
m2=5кг
m3=0кг
m4=6кг
m5=4кг
c=200Н/м
М=1,6Н∙м
F=50(7+8s)
vc5 — ?

0626m
Механическая система состоит из грузов 1 и 2, ступенчатого шкива 3 с радиусами ступеней R3 = 0,3 м, r3 = 0,1 м и радиусом инерции относительно оси вращения ρ3 = 0,2 м, блока 4 радиуса R4 = 0,2 м И катка (или подвижного блока) 5 (рис. Д6.0 — Д6.9, табл. Д6); тело 5 считать сплошным однородным цилиндром, а массу блока 4 — равномерно распределенной по ободу. Коэффициент трения грузов о плоскость f = 0,1. Тела системы соединены друг с другом нитями, перекинутыми через блоки и намотанными на шкив 3 (или на шкив и каток); участки нитей параллельны соответствующим плоскостям. К одному из тел прикреплена пружина с коэффициентом жесткости с.
Под действием силы F = f(s), зависящей от перемещения s точки ее приложения, система приходит в движение из состояния покоя; деформация пружины в момент начала движения равна нулю. При движении на шкив 3 действует постоянный момент M сил сопротивления (от трения в подшипниках).
Определить значение искомой величины в тот момент времени. Когда перемещение s станет равным s1 = 0,2 м. Искомая величина указана в столбце "Найти" таблицы, где обозначено: v1, v2, vC3 — скорости грузов 1, 2 и центра масс тела 5, соответственно ω3 и ω4 — угловые скорости тел 3 и 4.
Все катки, включая к катки, обмотанные нитями (как, например, каток 5 на рис. 2), катятся по плоскостям без скольжения.
На всех рисунках не изображать груз 2, если m2 = 0; остальные тела должны изображаться и тогда, когда их масса равна нулю.
рисунок к задаче
вариант 26
m1=8кг
m2=0кг
m3=5кг
m4=0кг
m5=6кг
c=280Н/м
М=0,8Н∙м
F=40(8+9s)
ω3 — ?

0627m
Механическая система состоит из грузов 1 и 2, ступенчатого шкива 3 с радиусами ступеней R3 = 0,3 м, r3 = 0,1 м и радиусом инерции относительно оси вращения ρ3 = 0,2 м, блока 4 радиуса R4 = 0,2 м И катка (или подвижного блока) 5 (рис. Д6.0 — Д6.9, табл. Д6); тело 5 считать сплошным однородным цилиндром, а массу блока 4 — равномерно распределенной по ободу. Коэффициент трения грузов о плоскость f = 0,1. Тела системы соединены друг с другом нитями, перекинутыми через блоки и намотанными на шкив 3 (или на шкив и каток); участки нитей параллельны соответствующим плоскостям. К одному из тел прикреплена пружина с коэффициентом жесткости с.
Под действием силы F = f(s), зависящей от перемещения s точки ее приложения, система приходит в движение из состояния покоя; деформация пружины в момент начала движения равна нулю. При движении на шкив 3 действует постоянный момент M сил сопротивления (от трения в подшипниках).
Определить значение искомой величины в тот момент времени. Когда перемещение s станет равным s1 = 0,2 м. Искомая величина указана в столбце "Найти" таблицы, где обозначено: v1, v2, vC3 — скорости грузов 1, 2 и центра масс тела 5, соответственно ω3 и ω4 — угловые скорости тел 3 и 4.
Все катки, включая к катки, обмотанные нитями (как, например, каток 5 на рис. 2), катятся по плоскостям без скольжения.
На всех рисунках не изображать груз 2, если m2 = 0; остальные тела должны изображаться и тогда, когда их масса равна нулю.
рисунок к задаче
вариант 27
m1=0кг
m2=4кг
m3=0кг
m4=6кг
m5=5кг
c=300Н/м
М=1,5Н∙м
F=60(8+5s)
v2 — ?

0628m
Механическая система состоит из грузов 1 и 2, ступенчатого шкива 3 с радиусами ступеней R3 = 0,3 м, r3 = 0,1 м и радиусом инерции относительно оси вращения ρ3 = 0,2 м, блока 4 радиуса R4 = 0,2 м И катка (или подвижного блока) 5 (рис. Д6.0 — Д6.9, табл. Д6); тело 5 считать сплошным однородным цилиндром, а массу блока 4 — равномерно распределенной по ободу. Коэффициент трения грузов о плоскость f = 0,1. Тела системы соединены друг с другом нитями, перекинутыми через блоки и намотанными на шкив 3 (или на шкив и каток); участки нитей параллельны соответствующим плоскостям. К одному из тел прикреплена пружина с коэффициентом жесткости с.
Под действием силы F = f(s), зависящей от перемещения s точки ее приложения, система приходит в движение из состояния покоя; деформация пружины в момент начала движения равна нулю. При движении на шкив 3 действует постоянный момент M сил сопротивления (от трения в подшипниках).
Определить значение искомой величины в тот момент времени. Когда перемещение s станет равным s1 = 0,2 м. Искомая величина указана в столбце "Найти" таблицы, где обозначено: v1, v2, vC3 — скорости грузов 1, 2 и центра масс тела 5, соответственно ω3 и ω4 — угловые скорости тел 3 и 4.
Все катки, включая к катки, обмотанные нитями (как, например, каток 5 на рис. 2), катятся по плоскостям без скольжения.
На всех рисунках не изображать груз 2, если m2 = 0; остальные тела должны изображаться и тогда, когда их масса равна нулю.
рисунок к задаче
вариант 28
m1=4кг
m2=0кг
m3=0кг
m4=5кг
m5=6кг
c=320Н/м
М=1,4Н∙м
F=50(9+2s)
ω4 — ?

0629m
Механическая система состоит из грузов 1 и 2, ступенчатого шкива 3 с радиусами ступеней R3 = 0,3 м, r3 = 0,1 м и радиусом инерции относительно оси вращения ρ3 = 0,2 м, блока 4 радиуса R4 = 0,2 м И катка (или подвижного блока) 5 (рис. Д6.0 — Д6.9, табл. Д6); тело 5 считать сплошным однородным цилиндром, а массу блока 4 — равномерно распределенной по ободу. Коэффициент трения грузов о плоскость f = 0,1. Тела системы соединены друг с другом нитями, перекинутыми через блоки и намотанными на шкив 3 (или на шкив и каток); участки нитей параллельны соответствующим плоскостям. К одному из тел прикреплена пружина с коэффициентом жесткости с.
Под действием силы F = f(s), зависящей от перемещения s точки ее приложения, система приходит в движение из состояния покоя; деформация пружины в момент начала движения равна нулю. При движении на шкив 3 действует постоянный момент M сил сопротивления (от трения в подшипниках).
Определить значение искомой величины в тот момент времени. Когда перемещение s станет равным s1 = 0,2 м. Искомая величина указана в столбце "Найти" таблицы, где обозначено: v1, v2, vC3 — скорости грузов 1, 2 и центра масс тела 5, соответственно ω3 и ω4 — угловые скорости тел 3 и 4.
Все катки, включая к катки, обмотанные нитями (как, например, каток 5 на рис. 2), катятся по плоскостям без скольжения.
На всех рисунках не изображать груз 2, если m2 = 0; остальные тела должны изображаться и тогда, когда их масса равна нулю.
рисунок к задаче
вариант 29
m1=0кг
m2=5кг
m3=6кг
m4=0кг
m5=4кг
c=280Н/м
М=1,6Н∙м
F=80(6+7s)
vc5 — ?

0630m
Механическая система состоит из грузов 1 и 2, ступенчатого шкива 3 с радиусами ступеней R3 = 0,3 м, r3 = 0,1 м и радиусом инерции относительно оси вращения ρ3 = 0,2 м, блока 4 радиуса R4 = 0,2 м И катка (или подвижного блока) 5 (рис. Д6.0 — Д6.9, табл. Д6); тело 5 считать сплошным однородным цилиндром, а массу блока 4 — равномерно распределенной по ободу. Коэффициент трения грузов о плоскость f = 0,1. Тела системы соединены друг с другом нитями, перекинутыми через блоки и намотанными на шкив 3 (или на шкив и каток); участки нитей параллельны соответствующим плоскостям. К одному из тел прикреплена пружина с коэффициентом жесткости с.
Под действием силы F = f(s), зависящей от перемещения s точки ее приложения, система приходит в движение из состояния покоя; деформация пружины в момент начала движения равна нулю. При движении на шкив 3 действует постоянный момент M сил сопротивления (от трения в подшипниках).
Определить значение искомой величины в тот момент времени. Когда перемещение s станет равным s1 = 0,2 м. Искомая величина указана в столбце "Найти" таблицы, где обозначено: v1, v2, vC3 — скорости грузов 1, 2 и центра масс тела 5, соответственно ω3 и ω4 — угловые скорости тел 3 и 4.
Все катки, включая к катки, обмотанные нитями (как, например, каток 5 на рис. 2), катятся по плоскостям без скольжения.
На всех рисунках не изображать груз 2, если m2 = 0; остальные тела должны изображаться и тогда, когда их масса равна нулю.
рисунок к задаче
вариант 30
m1=0кг
m2=6кг
m3=4кг
m4=0кг
m5=5кг
c=200Н/м
М=1,2Н∙м
F=80(4+5s)
ω3 — ?

0631m
Механическая система состоит из грузов 1 и 2, ступенчатого шкива 3 с радиусами ступеней R3 = 0,3 м, r3 = 0,1 м и радиусом инерции относительно оси вращения ρ3 = 0,2 м, блока 4 радиуса R4 = 0,2 м И катка (или подвижного блока) 5 (рис. Д6.0 — Д6.9, табл. Д6); тело 5 считать сплошным однородным цилиндром, а массу блока 4 — равномерно распределенной по ободу. Коэффициент трения грузов о плоскость f = 0,1. Тела системы соединены друг с другом нитями, перекинутыми через блоки и намотанными на шкив 3 (или на шкив и каток); участки нитей параллельны соответствующим плоскостям. К одному из тел прикреплена пружина с коэффициентом жесткости с.
Под действием силы F = f(s), зависящей от перемещения s точки ее приложения, система приходит в движение из состояния покоя; деформация пружины в момент начала движения равна нулю. При движении на шкив 3 действует постоянный момент M сил сопротивления (от трения в подшипниках).
Определить значение искомой величины в тот момент времени. Когда перемещение s станет равным s1 = 0,2 м. Искомая величина указана в столбце "Найти" таблицы, где обозначено: v1, v2, vC3 — скорости грузов 1, 2 и центра масс тела 5, соответственно ω3 и ω4 — угловые скорости тел 3 и 4.
Все катки, включая к катки, обмотанные нитями (как, например, каток 5 на рис. 2), катятся по плоскостям без скольжения.
На всех рисунках не изображать груз 2, если m2 = 0; остальные тела должны изображаться и тогда, когда их масса равна нулю.
рисунок к задаче
вариант 31
m1=8кг
m2=0кг
m3=0кг
m4=4кг
m5=6кг
c=320Н/м
М=0,8Н∙м
F=50(8+3s)
v1 — ?

0632m
Механическая система состоит из грузов 1 и 2, ступенчатого шкива 3 с радиусами ступеней R3 = 0,3 м, r3 = 0,1 м и радиусом инерции относительно оси вращения ρ3 = 0,2 м, блока 4 радиуса R4 = 0,2 м И катка (или подвижного блока) 5 (рис. Д6.0 — Д6.9, табл. Д6); тело 5 считать сплошным однородным цилиндром, а массу блока 4 — равномерно распределенной по ободу. Коэффициент трения грузов о плоскость f = 0,1. Тела системы соединены друг с другом нитями, перекинутыми через блоки и намотанными на шкив 3 (или на шкив и каток); участки нитей параллельны соответствующим плоскостям. К одному из тел прикреплена пружина с коэффициентом жесткости с.
Под действием силы F = f(s), зависящей от перемещения s точки ее приложения, система приходит в движение из состояния покоя; деформация пружины в момент начала движения равна нулю. При движении на шкив 3 действует постоянный момент M сил сопротивления (от трения в подшипниках).
Определить значение искомой величины в тот момент времени. Когда перемещение s станет равным s1 = 0,2 м. Искомая величина указана в столбце "Найти" таблицы, где обозначено: v1, v2, vC3 — скорости грузов 1, 2 и центра масс тела 5, соответственно ω3 и ω4 — угловые скорости тел 3 и 4.
Все катки, включая к катки, обмотанные нитями (как, например, каток 5 на рис. 2), катятся по плоскостям без скольжения.
На всех рисунках не изображать груз 2, если m2 = 0; остальные тела должны изображаться и тогда, когда их масса равна нулю.
рисунок к задаче
вариант 32
m1=0кг
m2=4кг
m3=6кг
m4=0кг
m5=5кг
c=240Н/м
М=1,4Н∙м
F=60(6+5s)
v2 — ?

0633m
Механическая система состоит из грузов 1 и 2, ступенчатого шкива 3 с радиусами ступеней R3 = 0,3 м, r3 = 0,1 м и радиусом инерции относительно оси вращения ρ3 = 0,2 м, блока 4 радиуса R4 = 0,2 м И катка (или подвижного блока) 5 (рис. Д6.0 — Д6.9, табл. Д6); тело 5 считать сплошным однородным цилиндром, а массу блока 4 — равномерно распределенной по ободу. Коэффициент трения грузов о плоскость f = 0,1. Тела системы соединены друг с другом нитями, перекинутыми через блоки и намотанными на шкив 3 (или на шкив и каток); участки нитей параллельны соответствующим плоскостям. К одному из тел прикреплена пружина с коэффициентом жесткости с.
Под действием силы F = f(s), зависящей от перемещения s точки ее приложения, система приходит в движение из состояния покоя; деформация пружины в момент начала движения равна нулю. При движении на шкив 3 действует постоянный момент M сил сопротивления (от трения в подшипниках).
Определить значение искомой величины в тот момент времени. Когда перемещение s станет равным s1 = 0,2 м. Искомая величина указана в столбце "Найти" таблицы, где обозначено: v1, v2, vC3 — скорости грузов 1, 2 и центра масс тела 5, соответственно ω3 и ω4 — угловые скорости тел 3 и 4.
Все катки, включая к катки, обмотанные нитями (как, например, каток 5 на рис. 2), катятся по плоскостям без скольжения.
На всех рисунках не изображать груз 2, если m2 = 0; остальные тела должны изображаться и тогда, когда их масса равна нулю.
рисунок к задаче
вариант 33
m1=0кг
m2=6кг
m3=0кг
m4=5кг
m5=4кг
c=300Н/м
М=1,8Н∙м
F=80(5+6s)
ω4 — ?

0634m
Механическая система состоит из грузов 1 и 2, ступенчатого шкива 3 с радиусами ступеней R3 = 0,3 м, r3 = 0,1 м и радиусом инерции относительно оси вращения ρ3 = 0,2 м, блока 4 радиуса R4 = 0,2 м И катка (или подвижного блока) 5 (рис. Д6.0 — Д6.9, табл. Д6); тело 5 считать сплошным однородным цилиндром, а массу блока 4 — равномерно распределенной по ободу. Коэффициент трения грузов о плоскость f = 0,1. Тела системы соединены друг с другом нитями, перекинутыми через блоки и намотанными на шкив 3 (или на шкив и каток); участки нитей параллельны соответствующим плоскостям. К одному из тел прикреплена пружина с коэффициентом жесткости с.
Под действием силы F = f(s), зависящей от перемещения s точки ее приложения, система приходит в движение из состояния покоя; деформация пружины в момент начала движения равна нулю. При движении на шкив 3 действует постоянный момент M сил сопротивления (от трения в подшипниках).
Определить значение искомой величины в тот момент времени. Когда перемещение s станет равным s1 = 0,2 м. Искомая величина указана в столбце "Найти" таблицы, где обозначено: v1, v2, vC3 — скорости грузов 1, 2 и центра масс тела 5, соответственно ω3 и ω4 — угловые скорости тел 3 и 4.
Все катки, включая к катки, обмотанные нитями (как, например, каток 5 на рис. 2), катятся по плоскостям без скольжения.
На всех рисунках не изображать груз 2, если m2 = 0; остальные тела должны изображаться и тогда, когда их масса равна нулю.
рисунок к задаче
вариант 34
m1=5кг
m2=0кг
m3=4кг
m4=0кг
m5=6кг
c=240Н/м
М=1,2Н∙м
F=40(9+4s)
v1 — ?

0635m
Механическая система состоит из грузов 1 и 2, ступенчатого шкива 3 с радиусами ступеней R3 = 0,3 м, r3 = 0,1 м и радиусом инерции относительно оси вращения ρ3 = 0,2 м, блока 4 радиуса R4 = 0,2 м И катка (или подвижного блока) 5 (рис. Д6.0 — Д6.9, табл. Д6); тело 5 считать сплошным однородным цилиндром, а массу блока 4 — равномерно распределенной по ободу. Коэффициент трения грузов о плоскость f = 0,1. Тела системы соединены друг с другом нитями, перекинутыми через блоки и намотанными на шкив 3 (или на шкив и каток); участки нитей параллельны соответствующим плоскостям. К одному из тел прикреплена пружина с коэффициентом жесткости с.
Под действием силы F = f(s), зависящей от перемещения s точки ее приложения, система приходит в движение из состояния покоя; деформация пружины в момент начала движения равна нулю. При движении на шкив 3 действует постоянный момент M сил сопротивления (от трения в подшипниках).
Определить значение искомой величины в тот момент времени. Когда перемещение s станет равным s1 = 0,2 м. Искомая величина указана в столбце "Найти" таблицы, где обозначено: v1, v2, vC3 — скорости грузов 1, 2 и центра масс тела 5, соответственно ω3 и ω4 — угловые скорости тел 3 и 4.
Все катки, включая к катки, обмотанные нитями (как, например, каток 5 на рис. 2), катятся по плоскостям без скольжения.
На всех рисунках не изображать груз 2, если m2 = 0; остальные тела должны изображаться и тогда, когда их масса равна нулю.
рисунок к задаче
вариант 35
m1=0кг
m2=5кг
m3=0кг
m4=6кг
m5=4кг
c=200Н/м
М=1,6Н∙м
F=50(7+8s)
vc5 — ?

0636m
Механическая система состоит из грузов 1 и 2, ступенчатого шкива 3 с радиусами ступеней R3 = 0,3 м, r3 = 0,1 м и радиусом инерции относительно оси вращения ρ3 = 0,2 м, блока 4 радиуса R4 = 0,2 м И катка (или подвижного блока) 5 (рис. Д6.0 — Д6.9, табл. Д6); тело 5 считать сплошным однородным цилиндром, а массу блока 4 — равномерно распределенной по ободу. Коэффициент трения грузов о плоскость f = 0,1. Тела системы соединены друг с другом нитями, перекинутыми через блоки и намотанными на шкив 3 (или на шкив и каток); участки нитей параллельны соответствующим плоскостям. К одному из тел прикреплена пружина с коэффициентом жесткости с.
Под действием силы F = f(s), зависящей от перемещения s точки ее приложения, система приходит в движение из состояния покоя; деформация пружины в момент начала движения равна нулю. При движении на шкив 3 действует постоянный момент M сил сопротивления (от трения в подшипниках).
Определить значение искомой величины в тот момент времени. Когда перемещение s станет равным s1 = 0,2 м. Искомая величина указана в столбце "Найти" таблицы, где обозначено: v1, v2, vC3 — скорости грузов 1, 2 и центра масс тела 5, соответственно ω3 и ω4 — угловые скорости тел 3 и 4.
Все катки, включая к катки, обмотанные нитями (как, например, каток 5 на рис. 2), катятся по плоскостям без скольжения.
На всех рисунках не изображать груз 2, если m2 = 0; остальные тела должны изображаться и тогда, когда их масса равна нулю.
рисунок к задаче
вариант 36
m1=8кг
m2=0кг
m3=5кг
m4=0кг
m5=6кг
c=280Н/м
М=0,8Н∙м
F=40(8+9s)
ω3 — ?

0637m
Механическая система состоит из грузов 1 и 2, ступенчатого шкива 3 с радиусами ступеней R3 = 0,3 м, r3 = 0,1 м и радиусом инерции относительно оси вращения ρ3 = 0,2 м, блока 4 радиуса R4 = 0,2 м И катка (или подвижного блока) 5 (рис. Д6.0 — Д6.9, табл. Д6); тело 5 считать сплошным однородным цилиндром, а массу блока 4 — равномерно распределенной по ободу. Коэффициент трения грузов о плоскость f = 0,1. Тела системы соединены друг с другом нитями, перекинутыми через блоки и намотанными на шкив 3 (или на шкив и каток); участки нитей параллельны соответствующим плоскостям. К одному из тел прикреплена пружина с коэффициентом жесткости с.
Под действием силы F = f(s), зависящей от перемещения s точки ее приложения, система приходит в движение из состояния покоя; деформация пружины в момент начала движения равна нулю. При движении на шкив 3 действует постоянный момент M сил сопротивления (от трения в подшипниках).
Определить значение искомой величины в тот момент времени. Когда перемещение s станет равным s1 = 0,2 м. Искомая величина указана в столбце "Найти" таблицы, где обозначено: v1, v2, vC3 — скорости грузов 1, 2 и центра масс тела 5, соответственно ω3 и ω4 — угловые скорости тел 3 и 4.
Все катки, включая к катки, обмотанные нитями (как, например, каток 5 на рис. 2), катятся по плоскостям без скольжения.
На всех рисунках не изображать груз 2, если m2 = 0; остальные тела должны изображаться и тогда, когда их масса равна нулю.
рисунок к задаче
вариант 37
m1=0кг
m2=4кг
m3=0кг
m4=6кг
m5=5кг
c=300Н/м
М=1,5Н∙м
F=60(8+5s)
v2 — ?

0638m
Механическая система состоит из грузов 1 и 2, ступенчатого шкива 3 с радиусами ступеней R3 = 0,3 м, r3 = 0,1 м и радиусом инерции относительно оси вращения ρ3 = 0,2 м, блока 4 радиуса R4 = 0,2 м И катка (или подвижного блока) 5 (рис. Д6.0 — Д6.9, табл. Д6); тело 5 считать сплошным однородным цилиндром, а массу блока 4 — равномерно распределенной по ободу. Коэффициент трения грузов о плоскость f = 0,1. Тела системы соединены друг с другом нитями, перекинутыми через блоки и намотанными на шкив 3 (или на шкив и каток); участки нитей параллельны соответствующим плоскостям. К одному из тел прикреплена пружина с коэффициентом жесткости с.
Под действием силы F = f(s), зависящей от перемещения s точки ее приложения, система приходит в движение из состояния покоя; деформация пружины в момент начала движения равна нулю. При движении на шкив 3 действует постоянный момент M сил сопротивления (от трения в подшипниках).
Определить значение искомой величины в тот момент времени. Когда перемещение s станет равным s1 = 0,2 м. Искомая величина указана в столбце "Найти" таблицы, где обозначено: v1, v2, vC3 — скорости грузов 1, 2 и центра масс тела 5, соответственно ω3 и ω4 — угловые скорости тел 3 и 4.
Все катки, включая к катки, обмотанные нитями (как, например, каток 5 на рис. 2), катятся по плоскостям без скольжения.
На всех рисунках не изображать груз 2, если m2 = 0; остальные тела должны изображаться и тогда, когда их масса равна нулю.
рисунок к задаче
вариант 38
m1=4кг
m2=0кг
m3=0кг
m4=5кг
m5=6кг
c=320Н/м
М=1,4Н∙м
F=50(9+2s)
ω4 — ?

0639m
Механическая система состоит из грузов 1 и 2, ступенчатого шкива 3 с радиусами ступеней R3 = 0,3 м, r3 = 0,1 м и радиусом инерции относительно оси вращения ρ3 = 0,2 м, блока 4 радиуса R4 = 0,2 м И катка (или подвижного блока) 5 (рис. Д6.0 — Д6.9, табл. Д6); тело 5 считать сплошным однородным цилиндром, а массу блока 4 — равномерно распределенной по ободу. Коэффициент трения грузов о плоскость f = 0,1. Тела системы соединены друг с другом нитями, перекинутыми через блоки и намотанными на шкив 3 (или на шкив и каток); участки нитей параллельны соответствующим плоскостям. К одному из тел прикреплена пружина с коэффициентом жесткости с.
Под действием силы F = f(s), зависящей от перемещения s точки ее приложения, система приходит в движение из состояния покоя; деформация пружины в момент начала движения равна нулю. При движении на шкив 3 действует постоянный момент M сил сопротивления (от трения в подшипниках).
Определить значение искомой величины в тот момент времени. Когда перемещение s станет равным s1 = 0,2 м. Искомая величина указана в столбце "Найти" таблицы, где обозначено: v1, v2, vC3 — скорости грузов 1, 2 и центра масс тела 5, соответственно ω3 и ω4 — угловые скорости тел 3 и 4.
Все катки, включая к катки, обмотанные нитями (как, например, каток 5 на рис. 2), катятся по плоскостям без скольжения.
На всех рисунках не изображать груз 2, если m2 = 0; остальные тела должны изображаться и тогда, когда их масса равна нулю.
рисунок к задаче
вариант 39
m1=0кг
m2=5кг
m3=6кг
m4=0кг
m5=4кг
c=280Н/м
М=1,6Н∙м
F=80(6+7s)
vc5 — ?

0640m
Механическая система состоит из грузов 1 и 2, ступенчатого шкива 3 с радиусами ступеней R3 = 0,3 м, r3 = 0,1 м и радиусом инерции относительно оси вращения ρ3 = 0,2 м, блока 4 радиуса R4 = 0,2 м И катка (или подвижного блока) 5 (рис. Д6.0 — Д6.9, табл. Д6); тело 5 считать сплошным однородным цилиндром, а массу блока 4 — равномерно распределенной по ободу. Коэффициент трения грузов о плоскость f = 0,1. Тела системы соединены друг с другом нитями, перекинутыми через блоки и намотанными на шкив 3 (или на шкив и каток); участки нитей параллельны соответствующим плоскостям. К одному из тел прикреплена пружина с коэффициентом жесткости с.
Под действием силы F = f(s), зависящей от перемещения s точки ее приложения, система приходит в движение из состояния покоя; деформация пружины в момент начала движения равна нулю. При движении на шкив 3 действует постоянный момент M сил сопротивления (от трения в подшипниках).
Определить значение искомой величины в тот момент времени. Когда перемещение s станет равным s1 = 0,2 м. Искомая величина указана в столбце "Найти" таблицы, где обозначено: v1, v2, vC3 — скорости грузов 1, 2 и центра масс тела 5, соответственно ω3 и ω4 — угловые скорости тел 3 и 4.
Все катки, включая к катки, обмотанные нитями (как, например, каток 5 на рис. 2), катятся по плоскостям без скольжения.
На всех рисунках не изображать груз 2, если m2 = 0; остальные тела должны изображаться и тогда, когда их масса равна нулю.
рисунок к задаче
вариант 40
m1=0кг
m2=6кг
m3=4кг
m4=0кг
m5=5кг
c=200Н/м
М=1,2Н∙м
F=80(4+5s)
ω3 — ?

0641m
Механическая система состоит из грузов 1 и 2, ступенчатого шкива 3 с радиусами ступеней R3 = 0,3 м, r3 = 0,1 м и радиусом инерции относительно оси вращения ρ3 = 0,2 м, блока 4 радиуса R4 = 0,2 м И катка (или подвижного блока) 5 (рис. Д6.0 — Д6.9, табл. Д6); тело 5 считать сплошным однородным цилиндром, а массу блока 4 — равномерно распределенной по ободу. Коэффициент трения грузов о плоскость f = 0,1. Тела системы соединены друг с другом нитями, перекинутыми через блоки и намотанными на шкив 3 (или на шкив и каток); участки нитей параллельны соответствующим плоскостям. К одному из тел прикреплена пружина с коэффициентом жесткости с.
Под действием силы F = f(s), зависящей от перемещения s точки ее приложения, система приходит в движение из состояния покоя; деформация пружины в момент начала движения равна нулю. При движении на шкив 3 действует постоянный момент M сил сопротивления (от трения в подшипниках).
Определить значение искомой величины в тот момент времени. Когда перемещение s станет равным s1 = 0,2 м. Искомая величина указана в столбце "Найти" таблицы, где обозначено: v1, v2, vC3 — скорости грузов 1, 2 и центра масс тела 5, соответственно ω3 и ω4 — угловые скорости тел 3 и 4.
Все катки, включая к катки, обмотанные нитями (как, например, каток 5 на рис. 2), катятся по плоскостям без скольжения.
На всех рисунках не изображать груз 2, если m2 = 0; остальные тела должны изображаться и тогда, когда их масса равна нулю.
рисунок к задаче
вариант 41
m1=8кг
m2=0кг
m3=0кг
m4=4кг
m5=6кг
c=320Н/м
М=0,8Н∙м
F=50(8+3s)
v1 — ?

0642m
Механическая система состоит из грузов 1 и 2, ступенчатого шкива 3 с радиусами ступеней R3 = 0,3 м, r3 = 0,1 м и радиусом инерции относительно оси вращения ρ3 = 0,2 м, блока 4 радиуса R4 = 0,2 м И катка (или подвижного блока) 5 (рис. Д6.0 — Д6.9, табл. Д6); тело 5 считать сплошным однородным цилиндром, а массу блока 4 — равномерно распределенной по ободу. Коэффициент трения грузов о плоскость f = 0,1. Тела системы соединены друг с другом нитями, перекинутыми через блоки и намотанными на шкив 3 (или на шкив и каток); участки нитей параллельны соответствующим плоскостям. К одному из тел прикреплена пружина с коэффициентом жесткости с.
Под действием силы F = f(s), зависящей от перемещения s точки ее приложения, система приходит в движение из состояния покоя; деформация пружины в момент начала движения равна нулю. При движении на шкив 3 действует постоянный момент M сил сопротивления (от трения в подшипниках).
Определить значение искомой величины в тот момент времени. Когда перемещение s станет равным s1 = 0,2 м. Искомая величина указана в столбце "Найти" таблицы, где обозначено: v1, v2, vC3 — скорости грузов 1, 2 и центра масс тела 5, соответственно ω3 и ω4 — угловые скорости тел 3 и 4.
Все катки, включая к катки, обмотанные нитями (как, например, каток 5 на рис. 2), катятся по плоскостям без скольжения.
На всех рисунках не изображать груз 2, если m2 = 0; остальные тела должны изображаться и тогда, когда их масса равна нулю.
рисунок к задаче
вариант 42
m1=0кг
m2=4кг
m3=6кг
m4=0кг
m5=5кг
c=240Н/м
М=1,4Н∙м
F=60(6+5s)
v2 — ?

0643m
Механическая система состоит из грузов 1 и 2, ступенчатого шкива 3 с радиусами ступеней R3 = 0,3 м, r3 = 0,1 м и радиусом инерции относительно оси вращения ρ3 = 0,2 м, блока 4 радиуса R4 = 0,2 м И катка (или подвижного блока) 5 (рис. Д6.0 — Д6.9, табл. Д6); тело 5 считать сплошным однородным цилиндром, а массу блока 4 — равномерно распределенной по ободу. Коэффициент трения грузов о плоскость f = 0,1. Тела системы соединены друг с другом нитями, перекинутыми через блоки и намотанными на шкив 3 (или на шкив и каток); участки нитей параллельны соответствующим плоскостям. К одному из тел прикреплена пружина с коэффициентом жесткости с.
Под действием силы F = f(s), зависящей от перемещения s точки ее приложения, система приходит в движение из состояния покоя; деформация пружины в момент начала движения равна нулю. При движении на шкив 3 действует постоянный момент M сил сопротивления (от трения в подшипниках).
Определить значение искомой величины в тот момент времени. Когда перемещение s станет равным s1 = 0,2 м. Искомая величина указана в столбце "Найти" таблицы, где обозначено: v1, v2, vC3 — скорости грузов 1, 2 и центра масс тела 5, соответственно ω3 и ω4 — угловые скорости тел 3 и 4.
Все катки, включая к катки, обмотанные нитями (как, например, каток 5 на рис. 2), катятся по плоскостям без скольжения.
На всех рисунках не изображать груз 2, если m2 = 0; остальные тела должны изображаться и тогда, когда их масса равна нулю.
рисунок к задаче
вариант 43
m1=0кг
m2=6кг
m3=0кг
m4=5кг
m5=4кг
c=300Н/м
М=1,8Н∙м
F=80(5+6s)
ω4 — ?

0644m
Механическая система состоит из грузов 1 и 2, ступенчатого шкива 3 с радиусами ступеней R3 = 0,3 м, r3 = 0,1 м и радиусом инерции относительно оси вращения ρ3 = 0,2 м, блока 4 радиуса R4 = 0,2 м И катка (или подвижного блока) 5 (рис. Д6.0 — Д6.9, табл. Д6); тело 5 считать сплошным однородным цилиндром, а массу блока 4 — равномерно распределенной по ободу. Коэффициент трения грузов о плоскость f = 0,1. Тела системы соединены друг с другом нитями, перекинутыми через блоки и намотанными на шкив 3 (или на шкив и каток); участки нитей параллельны соответствующим плоскостям. К одному из тел прикреплена пружина с коэффициентом жесткости с.
Под действием силы F = f(s), зависящей от перемещения s точки ее приложения, система приходит в движение из состояния покоя; деформация пружины в момент начала движения равна нулю. При движении на шкив 3 действует постоянный момент M сил сопротивления (от трения в подшипниках).
Определить значение искомой величины в тот момент времени. Когда перемещение s станет равным s1 = 0,2 м. Искомая величина указана в столбце "Найти" таблицы, где обозначено: v1, v2, vC3 — скорости грузов 1, 2 и центра масс тела 5, соответственно ω3 и ω4 — угловые скорости тел 3 и 4.
Все катки, включая к катки, обмотанные нитями (как, например, каток 5 на рис. 2), катятся по плоскостям без скольжения.
На всех рисунках не изображать груз 2, если m2 = 0; остальные тела должны изображаться и тогда, когда их масса равна нулю.
рисунок к задаче
вариант 44
m1=5кг
m2=0кг
m3=4кг
m4=0кг
m5=6кг
c=240Н/м
М=1,2Н∙м
F=40(9+4s)
v1 — ?

0645m
Механическая система состоит из грузов 1 и 2, ступенчатого шкива 3 с радиусами ступеней R3 = 0,3 м, r3 = 0,1 м и радиусом инерции относительно оси вращения ρ3 = 0,2 м, блока 4 радиуса R4 = 0,2 м И катка (или подвижного блока) 5 (рис. Д6.0 — Д6.9, табл. Д6); тело 5 считать сплошным однородным цилиндром, а массу блока 4 — равномерно распределенной по ободу. Коэффициент трения грузов о плоскость f = 0,1. Тела системы соединены друг с другом нитями, перекинутыми через блоки и намотанными на шкив 3 (или на шкив и каток); участки нитей параллельны соответствующим плоскостям. К одному из тел прикреплена пружина с коэффициентом жесткости с.
Под действием силы F = f(s), зависящей от перемещения s точки ее приложения, система приходит в движение из состояния покоя; деформация пружины в момент начала движения равна нулю. При движении на шкив 3 действует постоянный момент M сил сопротивления (от трения в подшипниках).
Определить значение искомой величины в тот момент времени. Когда перемещение s станет равным s1 = 0,2 м. Искомая величина указана в столбце "Найти" таблицы, где обозначено: v1, v2, vC3 — скорости грузов 1, 2 и центра масс тела 5, соответственно ω3 и ω4 — угловые скорости тел 3 и 4.
Все катки, включая к катки, обмотанные нитями (как, например, каток 5 на рис. 2), катятся по плоскостям без скольжения.
На всех рисунках не изображать груз 2, если m2 = 0; остальные тела должны изображаться и тогда, когда их масса равна нулю.
рисунок к задаче
вариант 45
m1=0кг
m2=5кг
m3=0кг
m4=6кг
m5=4кг
c=200Н/м
М=1,6Н∙м
F=50(7+8s)
vc5 — ?

0646m
Механическая система состоит из грузов 1 и 2, ступенчатого шкива 3 с радиусами ступеней R3 = 0,3 м, r3 = 0,1 м и радиусом инерции относительно оси вращения ρ3 = 0,2 м, блока 4 радиуса R4 = 0,2 м И катка (или подвижного блока) 5 (рис. Д6.0 — Д6.9, табл. Д6); тело 5 считать сплошным однородным цилиндром, а массу блока 4 — равномерно распределенной по ободу. Коэффициент трения грузов о плоскость f = 0,1. Тела системы соединены друг с другом нитями, перекинутыми через блоки и намотанными на шкив 3 (или на шкив и каток); участки нитей параллельны соответствующим плоскостям. К одному из тел прикреплена пружина с коэффициентом жесткости с.
Под действием силы F = f(s), зависящей от перемещения s точки ее приложения, система приходит в движение из состояния покоя; деформация пружины в момент начала движения равна нулю. При движении на шкив 3 действует постоянный момент M сил сопротивления (от трения в подшипниках).
Определить значение искомой величины в тот момент времени. Когда перемещение s станет равным s1 = 0,2 м. Искомая величина указана в столбце "Найти" таблицы, где обозначено: v1, v2, vC3 — скорости грузов 1, 2 и центра масс тела 5, соответственно ω3 и ω4 — угловые скорости тел 3 и 4.
Все катки, включая к катки, обмотанные нитями (как, например, каток 5 на рис. 2), катятся по плоскостям без скольжения.
На всех рисунках не изображать груз 2, если m2 = 0; остальные тела должны изображаться и тогда, когда их масса равна нулю.
рисунок к задаче
вариант 46
m1=8кг
m2=0кг
m3=5кг
m4=0кг
m5=6кг
c=280Н/м
М=0,8Н∙м
F=40(8+9s)
ω3 — ?

0647m
Механическая система состоит из грузов 1 и 2, ступенчатого шкива 3 с радиусами ступеней R3 = 0,3 м, r3 = 0,1 м и радиусом инерции относительно оси вращения ρ3 = 0,2 м, блока 4 радиуса R4 = 0,2 м И катка (или подвижного блока) 5 (рис. Д6.0 — Д6.9, табл. Д6); тело 5 считать сплошным однородным цилиндром, а массу блока 4 — равномерно распределенной по ободу. Коэффициент трения грузов о плоскость f = 0,1. Тела системы соединены друг с другом нитями, перекинутыми через блоки и намотанными на шкив 3 (или на шкив и каток); участки нитей параллельны соответствующим плоскостям. К одному из тел прикреплена пружина с коэффициентом жесткости с.
Под действием силы F = f(s), зависящей от перемещения s точки ее приложения, система приходит в движение из состояния покоя; деформация пружины в момент начала движения равна нулю. При движении на шкив 3 действует постоянный момент M сил сопротивления (от трения в подшипниках).
Определить значение искомой величины в тот момент времени. Когда перемещение s станет равным s1 = 0,2 м. Искомая величина указана в столбце "Найти" таблицы, где обозначено: v1, v2, vC3 — скорости грузов 1, 2 и центра масс тела 5, соответственно ω3 и ω4 — угловые скорости тел 3 и 4.
Все катки, включая к катки, обмотанные нитями (как, например, каток 5 на рис. 2), катятся по плоскостям без скольжения.
На всех рисунках не изображать груз 2, если m2 = 0; остальные тела должны изображаться и тогда, когда их масса равна нулю.
рисунок к задаче
вариант 47
m1=0кг
m2=4кг
m3=0кг
m4=6кг
m5=5кг
c=300Н/м
М=1,5Н∙м
F=60(8+5s)
v2 — ?

0648m
Механическая система состоит из грузов 1 и 2, ступенчатого шкива 3 с радиусами ступеней R3 = 0,3 м, r3 = 0,1 м и радиусом инерции относительно оси вращения ρ3 = 0,2 м, блока 4 радиуса R4 = 0,2 м И катка (или подвижного блока) 5 (рис. Д6.0 — Д6.9, табл. Д6); тело 5 считать сплошным однородным цилиндром, а массу блока 4 — равномерно распределенной по ободу. Коэффициент трения грузов о плоскость f = 0,1. Тела системы соединены друг с другом нитями, перекинутыми через блоки и намотанными на шкив 3 (или на шкив и каток); участки нитей параллельны соответствующим плоскостям. К одному из тел прикреплена пружина с коэффициентом жесткости с.
Под действием силы F = f(s), зависящей от перемещения s точки ее приложения, система приходит в движение из состояния покоя; деформация пружины в момент начала движения равна нулю. При движении на шкив 3 действует постоянный момент M сил сопротивления (от трения в подшипниках).
Определить значение искомой величины в тот момент времени. Когда перемещение s станет равным s1 = 0,2 м. Искомая величина указана в столбце "Найти" таблицы, где обозначено: v1, v2, vC3 — скорости грузов 1, 2 и центра масс тела 5, соответственно ω3 и ω4 — угловые скорости тел 3 и 4.
Все катки, включая к катки, обмотанные нитями (как, например, каток 5 на рис. 2), катятся по плоскостям без скольжения.
На всех рисунках не изображать груз 2, если m2 = 0; остальные тела должны изображаться и тогда, когда их масса равна нулю.
рисунок к задаче
вариант 48
m1=4кг
m2=0кг
m3=0кг
m4=5кг
m5=6кг
c=320Н/м
М=1,4Н∙м
F=50(9+2s)
ω4 — ?

0649m
Механическая система состоит из грузов 1 и 2, ступенчатого шкива 3 с радиусами ступеней R3 = 0,3 м, r3 = 0,1 м и радиусом инерции относительно оси вращения ρ3 = 0,2 м, блока 4 радиуса R4 = 0,2 м И катка (или подвижного блока) 5 (рис. Д6.0 — Д6.9, табл. Д6); тело 5 считать сплошным однородным цилиндром, а массу блока 4 — равномерно распределенной по ободу. Коэффициент трения грузов о плоскость f = 0,1. Тела системы соединены друг с другом нитями, перекинутыми через блоки и намотанными на шкив 3 (или на шкив и каток); участки нитей параллельны соответствующим плоскостям. К одному из тел прикреплена пружина с коэффициентом жесткости с.
Под действием силы F = f(s), зависящей от перемещения s точки ее приложения, система приходит в движение из состояния покоя; деформация пружины в момент начала движения равна нулю. При движении на шкив 3 действует постоянный момент M сил сопротивления (от трения в подшипниках).
Определить значение искомой величины в тот момент времени. Когда перемещение s станет равным s1 = 0,2 м. Искомая величина указана в столбце "Найти" таблицы, где обозначено: v1, v2, vC3 — скорости грузов 1, 2 и центра масс тела 5, соответственно ω3 и ω4 — угловые скорости тел 3 и 4.
Все катки, включая к катки, обмотанные нитями (как, например, каток 5 на рис. 2), катятся по плоскостям без скольжения.
На всех рисунках не изображать груз 2, если m2 = 0; остальные тела должны изображаться и тогда, когда их масса равна нулю.
рисунок к задаче
вариант 49
m1=0кг
m2=5кг
m3=6кг
m4=0кг
m5=4кг
c=280Н/м
М=1,6Н∙м
F=80(6+7s)
vc5 — ?

0650m
Механическая система состоит из грузов 1 и 2, ступенчатого шкива 3 с радиусами ступеней R3 = 0,3 м, r3 = 0,1 м и радиусом инерции относительно оси вращения ρ3 = 0,2 м, блока 4 радиуса R4 = 0,2 м И катка (или подвижного блока) 5 (рис. Д6.0 — Д6.9, табл. Д6); тело 5 считать сплошным однородным цилиндром, а массу блока 4 — равномерно распределенной по ободу. Коэффициент трения грузов о плоскость f = 0,1. Тела системы соединены друг с другом нитями, перекинутыми через блоки и намотанными на шкив 3 (или на шкив и каток); участки нитей параллельны соответствующим плоскостям. К одному из тел прикреплена пружина с коэффициентом жесткости с.
Под действием силы F = f(s), зависящей от перемещения s точки ее приложения, система приходит в движение из состояния покоя; деформация пружины в момент начала движения равна нулю. При движении на шкив 3 действует постоянный момент M сил сопротивления (от трения в подшипниках).
Определить значение искомой величины в тот момент времени. Когда перемещение s станет равным s1 = 0,2 м. Искомая величина указана в столбце "Найти" таблицы, где обозначено: v1, v2, vC3 — скорости грузов 1, 2 и центра масс тела 5, соответственно ω3 и ω4 — угловые скорости тел 3 и 4.
Все катки, включая к катки, обмотанные нитями (как, например, каток 5 на рис. 2), катятся по плоскостям без скольжения.
На всех рисунках не изображать груз 2, если m2 = 0; остальные тела должны изображаться и тогда, когда их масса равна нулю.
рисунок к задаче
вариант 50
m1=0кг
m2=6кг
m3=4кг
m4=0кг
m5=5кг
c=200Н/м
М=1,2Н∙м
F=80(4+5s)
ω3 — ?

0651m
Механическая система состоит из грузов 1 и 2, ступенчатого шкива 3 с радиусами ступеней R3 = 0,3 м, r3 = 0,1 м и радиусом инерции относительно оси вращения ρ3 = 0,2 м, блока 4 радиуса R4 = 0,2 м И катка (или подвижного блока) 5 (рис. Д6.0 — Д6.9, табл. Д6); тело 5 считать сплошным однородным цилиндром, а массу блока 4 — равномерно распределенной по ободу. Коэффициент трения грузов о плоскость f = 0,1. Тела системы соединены друг с другом нитями, перекинутыми через блоки и намотанными на шкив 3 (или на шкив и каток); участки нитей параллельны соответствующим плоскостям. К одному из тел прикреплена пружина с коэффициентом жесткости с.
Под действием силы F = f(s), зависящей от перемещения s точки ее приложения, система приходит в движение из состояния покоя; деформация пружины в момент начала движения равна нулю. При движении на шкив 3 действует постоянный момент M сил сопротивления (от трения в подшипниках).
Определить значение искомой величины в тот момент времени. Когда перемещение s станет равным s1 = 0,2 м. Искомая величина указана в столбце "Найти" таблицы, где обозначено: v1, v2, vC3 — скорости грузов 1, 2 и центра масс тела 5, соответственно ω3 и ω4 — угловые скорости тел 3 и 4.
Все катки, включая к катки, обмотанные нитями (как, например, каток 5 на рис. 2), катятся по плоскостям без скольжения.
На всех рисунках не изображать груз 2, если m2 = 0; остальные тела должны изображаться и тогда, когда их масса равна нулю.
рисунок к задаче
вариант 51
m1=8кг
m2=0кг
m3=0кг
m4=4кг
m5=6кг
c=320Н/м
М=0,8Н∙м
F=50(8+3s)
v1 — ?

0652m
Механическая система состоит из грузов 1 и 2, ступенчатого шкива 3 с радиусами ступеней R3 = 0,3 м, r3 = 0,1 м и радиусом инерции относительно оси вращения ρ3 = 0,2 м, блока 4 радиуса R4 = 0,2 м И катка (или подвижного блока) 5 (рис. Д6.0 — Д6.9, табл. Д6); тело 5 считать сплошным однородным цилиндром, а массу блока 4 — равномерно распределенной по ободу. Коэффициент трения грузов о плоскость f = 0,1. Тела системы соединены друг с другом нитями, перекинутыми через блоки и намотанными на шкив 3 (или на шкив и каток); участки нитей параллельны соответствующим плоскостям. К одному из тел прикреплена пружина с коэффициентом жесткости с.
Под действием силы F = f(s), зависящей от перемещения s точки ее приложения, система приходит в движение из состояния покоя; деформация пружины в момент начала движения равна нулю. При движении на шкив 3 действует постоянный момент M сил сопротивления (от трения в подшипниках).
Определить значение искомой величины в тот момент времени. Когда перемещение s станет равным s1 = 0,2 м. Искомая величина указана в столбце "Найти" таблицы, где обозначено: v1, v2, vC3 — скорости грузов 1, 2 и центра масс тела 5, соответственно ω3 и ω4 — угловые скорости тел 3 и 4.
Все катки, включая к катки, обмотанные нитями (как, например, каток 5 на рис. 2), катятся по плоскостям без скольжения.
На всех рисунках не изображать груз 2, если m2 = 0; остальные тела должны изображаться и тогда, когда их масса равна нулю.
рисунок к задаче
вариант 52
m1=0кг
m2=4кг
m3=6кг
m4=0кг
m5=5кг
c=240Н/м
М=1,4Н∙м
F=60(6+5s)
v2 — ?

0653m
Механическая система состоит из грузов 1 и 2, ступенчатого шкива 3 с радиусами ступеней R3 = 0,3 м, r3 = 0,1 м и радиусом инерции относительно оси вращения ρ3 = 0,2 м, блока 4 радиуса R4 = 0,2 м И катка (или подвижного блока) 5 (рис. Д6.0 — Д6.9, табл. Д6); тело 5 считать сплошным однородным цилиндром, а массу блока 4 — равномерно распределенной по ободу. Коэффициент трения грузов о плоскость f = 0,1. Тела системы соединены друг с другом нитями, перекинутыми через блоки и намотанными на шкив 3 (или на шкив и каток); участки нитей параллельны соответствующим плоскостям. К одному из тел прикреплена пружина с коэффициентом жесткости с.
Под действием силы F = f(s), зависящей от перемещения s точки ее приложения, система приходит в движение из состояния покоя; деформация пружины в момент начала движения равна нулю. При движении на шкив 3 действует постоянный момент M сил сопротивления (от трения в подшипниках).
Определить значение искомой величины в тот момент времени. Когда перемещение s станет равным s1 = 0,2 м. Искомая величина указана в столбце "Найти" таблицы, где обозначено: v1, v2, vC3 — скорости грузов 1, 2 и центра масс тела 5, соответственно ω3 и ω4 — угловые скорости тел 3 и 4.
Все катки, включая к катки, обмотанные нитями (как, например, каток 5 на рис. 2), катятся по плоскостям без скольжения.
На всех рисунках не изображать груз 2, если m2 = 0; остальные тела должны изображаться и тогда, когда их масса равна нулю.
рисунок к задаче
вариант 53
m1=0кг
m2=6кг
m3=0кг
m4=5кг
m5=4кг
c=300Н/м
М=1,8Н∙м
F=80(5+6s)
ω4 — ?

0654m
Механическая система состоит из грузов 1 и 2, ступенчатого шкива 3 с радиусами ступеней R3 = 0,3 м, r3 = 0,1 м и радиусом инерции относительно оси вращения ρ3 = 0,2 м, блока 4 радиуса R4 = 0,2 м И катка (или подвижного блока) 5 (рис. Д6.0 — Д6.9, табл. Д6); тело 5 считать сплошным однородным цилиндром, а массу блока 4 — равномерно распределенной по ободу. Коэффициент трения грузов о плоскость f = 0,1. Тела системы соединены друг с другом нитями, перекинутыми через блоки и намотанными на шкив 3 (или на шкив и каток); участки нитей параллельны соответствующим плоскостям. К одному из тел прикреплена пружина с коэффициентом жесткости с.
Под действием силы F = f(s), зависящей от перемещения s точки ее приложения, система приходит в движение из состояния покоя; деформация пружины в момент начала движения равна нулю. При движении на шкив 3 действует постоянный момент M сил сопротивления (от трения в подшипниках).
Определить значение искомой величины в тот момент времени. Когда перемещение s станет равным s1 = 0,2 м. Искомая величина указана в столбце "Найти" таблицы, где обозначено: v1, v2, vC3 — скорости грузов 1, 2 и центра масс тела 5, соответственно ω3 и ω4 — угловые скорости тел 3 и 4.
Все катки, включая к катки, обмотанные нитями (как, например, каток 5 на рис. 2), катятся по плоскостям без скольжения.
На всех рисунках не изображать груз 2, если m2 = 0; остальные тела должны изображаться и тогда, когда их масса равна нулю.
рисунок к задаче
вариант 54
m1=5кг
m2=0кг
m3=4кг
m4=0кг
m5=6кг
c=240Н/м
М=1,2Н∙м
F=40(9+4s)
v1 — ?

0655m
Механическая система состоит из грузов 1 и 2, ступенчатого шкива 3 с радиусами ступеней R3 = 0,3 м, r3 = 0,1 м и радиусом инерции относительно оси вращения ρ3 = 0,2 м, блока 4 радиуса R4 = 0,2 м И катка (или подвижного блока) 5 (рис. Д6.0 — Д6.9, табл. Д6); тело 5 считать сплошным однородным цилиндром, а массу блока 4 — равномерно распределенной по ободу. Коэффициент трения грузов о плоскость f = 0,1. Тела системы соединены друг с другом нитями, перекинутыми через блоки и намотанными на шкив 3 (или на шкив и каток); участки нитей параллельны соответствующим плоскостям. К одному из тел прикреплена пружина с коэффициентом жесткости с.
Под действием силы F = f(s), зависящей от перемещения s точки ее приложения, система приходит в движение из состояния покоя; деформация пружины в момент начала движения равна нулю. При движении на шкив 3 действует постоянный момент M сил сопротивления (от трения в подшипниках).
Определить значение искомой величины в тот момент времени. Когда перемещение s станет равным s1 = 0,2 м. Искомая величина указана в столбце "Найти" таблицы, где обозначено: v1, v2, vC3 — скорости грузов 1, 2 и центра масс тела 5, соответственно ω3 и ω4 — угловые скорости тел 3 и 4.
Все катки, включая к катки, обмотанные нитями (как, например, каток 5 на рис. 2), катятся по плоскостям без скольжения.
На всех рисунках не изображать груз 2, если m2 = 0; остальные тела должны изображаться и тогда, когда их масса равна нулю.
рисунок к задаче
вариант 55
m1=0кг
m2=5кг
m3=0кг
m4=6кг
m5=4кг
c=200Н/м
М=1,6Н∙м
F=50(7+8s)
vc5 — ?

0656m
Механическая система состоит из грузов 1 и 2, ступенчатого шкива 3 с радиусами ступеней R3 = 0,3 м, r3 = 0,1 м и радиусом инерции относительно оси вращения ρ3 = 0,2 м, блока 4 радиуса R4 = 0,2 м И катка (или подвижного блока) 5 (рис. Д6.0 — Д6.9, табл. Д6); тело 5 считать сплошным однородным цилиндром, а массу блока 4 — равномерно распределенной по ободу. Коэффициент трения грузов о плоскость f = 0,1. Тела системы соединены друг с другом нитями, перекинутыми через блоки и намотанными на шкив 3 (или на шкив и каток); участки нитей параллельны соответствующим плоскостям. К одному из тел прикреплена пружина с коэффициентом жесткости с.
Под действием силы F = f(s), зависящей от перемещения s точки ее приложения, система приходит в движение из состояния покоя; деформация пружины в момент начала движения равна нулю. При движении на шкив 3 действует постоянный момент M сил сопротивления (от трения в подшипниках).
Определить значение искомой величины в тот момент времени. Когда перемещение s станет равным s1 = 0,2 м. Искомая величина указана в столбце "Найти" таблицы, где обозначено: v1, v2, vC3 — скорости грузов 1, 2 и центра масс тела 5, соответственно ω3 и ω4 — угловые скорости тел 3 и 4.
Все катки, включая к катки, обмотанные нитями (как, например, каток 5 на рис. 2), катятся по плоскостям без скольжения.
На всех рисунках не изображать груз 2, если m2 = 0; остальные тела должны изображаться и тогда, когда их масса равна нулю.
рисунок к задаче
вариант 56
m1=8кг
m2=0кг
m3=5кг
m4=0кг
m5=6кг
c=280Н/м
М=0,8Н∙м
F=40(8+9s)
ω3 — ?

0657m
Механическая система состоит из грузов 1 и 2, ступенчатого шкива 3 с радиусами ступеней R3 = 0,3 м, r3 = 0,1 м и радиусом инерции относительно оси вращения ρ3 = 0,2 м, блока 4 радиуса R4 = 0,2 м И катка (или подвижного блока) 5 (рис. Д6.0 — Д6.9, табл. Д6); тело 5 считать сплошным однородным цилиндром, а массу блока 4 — равномерно распределенной по ободу. Коэффициент трения грузов о плоскость f = 0,1. Тела системы соединены друг с другом нитями, перекинутыми через блоки и намотанными на шкив 3 (или на шкив и каток); участки нитей параллельны соответствующим плоскостям. К одному из тел прикреплена пружина с коэффициентом жесткости с.
Под действием силы F = f(s), зависящей от перемещения s точки ее приложения, система приходит в движение из состояния покоя; деформация пружины в момент начала движения равна нулю. При движении на шкив 3 действует постоянный момент M сил сопротивления (от трения в подшипниках).
Определить значение искомой величины в тот момент времени. Когда перемещение s станет равным s1 = 0,2 м. Искомая величина указана в столбце "Найти" таблицы, где обозначено: v1, v2, vC3 — скорости грузов 1, 2 и центра масс тела 5, соответственно ω3 и ω4 — угловые скорости тел 3 и 4.
Все катки, включая к катки, обмотанные нитями (как, например, каток 5 на рис. 2), катятся по плоскостям без скольжения.
На всех рисунках не изображать груз 2, если m2 = 0; остальные тела должны изображаться и тогда, когда их масса равна нулю.
рисунок к задаче
вариант 57
m1=0кг
m2=4кг
m3=0кг
m4=6кг
m5=5кг
c=300Н/м
М=1,5Н∙м
F=60(8+5s)
v2 — ?

0658m
Механическая система состоит из грузов 1 и 2, ступенчатого шкива 3 с радиусами ступеней R3 = 0,3 м, r3 = 0,1 м и радиусом инерции относительно оси вращения ρ3 = 0,2 м, блока 4 радиуса R4 = 0,2 м И катка (или подвижного блока) 5 (рис. Д6.0 — Д6.9, табл. Д6); тело 5 считать сплошным однородным цилиндром, а массу блока 4 — равномерно распределенной по ободу. Коэффициент трения грузов о плоскость f = 0,1. Тела системы соединены друг с другом нитями, перекинутыми через блоки и намотанными на шкив 3 (или на шкив и каток); участки нитей параллельны соответствующим плоскостям. К одному из тел прикреплена пружина с коэффициентом жесткости с.
Под действием силы F = f(s), зависящей от перемещения s точки ее приложения, система приходит в движение из состояния покоя; деформация пружины в момент начала движения равна нулю. При движении на шкив 3 действует постоянный момент M сил сопротивления (от трения в подшипниках).
Определить значение искомой величины в тот момент времени. Когда перемещение s станет равным s1 = 0,2 м. Искомая величина указана в столбце "Найти" таблицы, где обозначено: v1, v2, vC3 — скорости грузов 1, 2 и центра масс тела 5, соответственно ω3 и ω4 — угловые скорости тел 3 и 4.
Все катки, включая к катки, обмотанные нитями (как, например, каток 5 на рис. 2), катятся по плоскостям без скольжения.
На всех рисунках не изображать груз 2, если m2 = 0; остальные тела должны изображаться и тогда, когда их масса равна нулю.
рисунок к задаче
вариант 58
m1=4кг
m2=0кг
m3=0кг
m4=5кг
m5=6кг
c=320Н/м
М=1,4Н∙м
F=50(9+2s)
ω4 — ?

0659m
Механическая система состоит из грузов 1 и 2, ступенчатого шкива 3 с радиусами ступеней R3 = 0,3 м, r3 = 0,1 м и радиусом инерции относительно оси вращения ρ3 = 0,2 м, блока 4 радиуса R4 = 0,2 м И катка (или подвижного блока) 5 (рис. Д6.0 — Д6.9, табл. Д6); тело 5 считать сплошным однородным цилиндром, а массу блока 4 — равномерно распределенной по ободу. Коэффициент трения грузов о плоскость f = 0,1. Тела системы соединены друг с другом нитями, перекинутыми через блоки и намотанными на шкив 3 (или на шкив и каток); участки нитей параллельны соответствующим плоскостям. К одному из тел прикреплена пружина с коэффициентом жесткости с.
Под действием силы F = f(s), зависящей от перемещения s точки ее приложения, система приходит в движение из состояния покоя; деформация пружины в момент начала движения равна нулю. При движении на шкив 3 действует постоянный момент M сил сопротивления (от трения в подшипниках).
Определить значение искомой величины в тот момент времени. Когда перемещение s станет равным s1 = 0,2 м. Искомая величина указана в столбце "Найти" таблицы, где обозначено: v1, v2, vC3 — скорости грузов 1, 2 и центра масс тела 5, соответственно ω3 и ω4 — угловые скорости тел 3 и 4.
Все катки, включая к катки, обмотанные нитями (как, например, каток 5 на рис. 2), катятся по плоскостям без скольжения.
На всех рисунках не изображать груз 2, если m2 = 0; остальные тела должны изображаться и тогда, когда их масса равна нулю.
рисунок к задаче
вариант 59
m1=0кг
m2=5кг
m3=6кг
m4=0кг
m5=4кг
c=280Н/м
М=1,6Н∙м
F=80(6+7s)
vc5 — ?

0660m
Механическая система состоит из грузов 1 и 2, ступенчатого шкива 3 с радиусами ступеней R3 = 0,3 м, r3 = 0,1 м и радиусом инерции относительно оси вращения ρ3 = 0,2 м, блока 4 радиуса R4 = 0,2 м И катка (или подвижного блока) 5 (рис. Д6.0 — Д6.9, табл. Д6); тело 5 считать сплошным однородным цилиндром, а массу блока 4 — равномерно распределенной по ободу. Коэффициент трения грузов о плоскость f = 0,1. Тела системы соединены друг с другом нитями, перекинутыми через блоки и намотанными на шкив 3 (или на шкив и каток); участки нитей параллельны соответствующим плоскостям. К одному из тел прикреплена пружина с коэффициентом жесткости с.
Под действием силы F = f(s), зависящей от перемещения s точки ее приложения, система приходит в движение из состояния покоя; деформация пружины в момент начала движения равна нулю. При движении на шкив 3 действует постоянный момент M сил сопротивления (от трения в подшипниках).
Определить значение искомой величины в тот момент времени. Когда перемещение s станет равным s1 = 0,2 м. Искомая величина указана в столбце "Найти" таблицы, где обозначено: v1, v2, vC3 — скорости грузов 1, 2 и центра масс тела 5, соответственно ω3 и ω4 — угловые скорости тел 3 и 4.
Все катки, включая к катки, обмотанные нитями (как, например, каток 5 на рис. 2), катятся по плоскостям без скольжения.
На всех рисунках не изображать груз 2, если m2 = 0; остальные тела должны изображаться и тогда, когда их масса равна нулю.
рисунок к задаче
вариант 60
m1=0кг
m2=6кг
m3=4кг
m4=0кг
m5=5кг
c=200Н/м
М=1,2Н∙м
F=80(4+5s)
ω3 — ?

0661m
Механическая система состоит из грузов 1 и 2, ступенчатого шкива 3 с радиусами ступеней R3 = 0,3 м, r3 = 0,1 м и радиусом инерции относительно оси вращения ρ3 = 0,2 м, блока 4 радиуса R4 = 0,2 м И катка (или подвижного блока) 5 (рис. Д6.0 — Д6.9, табл. Д6); тело 5 считать сплошным однородным цилиндром, а массу блока 4 — равномерно распределенной по ободу. Коэффициент трения грузов о плоскость f = 0,1. Тела системы соединены друг с другом нитями, перекинутыми через блоки и намотанными на шкив 3 (или на шкив и каток); участки нитей параллельны соответствующим плоскостям. К одному из тел прикреплена пружина с коэффициентом жесткости с.
Под действием силы F = f(s), зависящей от перемещения s точки ее приложения, система приходит в движение из состояния покоя; деформация пружины в момент начала движения равна нулю. При движении на шкив 3 действует постоянный момент M сил сопротивления (от трения в подшипниках).
Определить значение искомой величины в тот момент времени. Когда перемещение s станет равным s1 = 0,2 м. Искомая величина указана в столбце "Найти" таблицы, где обозначено: v1, v2, vC3 — скорости грузов 1, 2 и центра масс тела 5, соответственно ω3 и ω4 — угловые скорости тел 3 и 4.
Все катки, включая к катки, обмотанные нитями (как, например, каток 5 на рис. 2), катятся по плоскостям без скольжения.
На всех рисунках не изображать груз 2, если m2 = 0; остальные тела должны изображаться и тогда, когда их масса равна нулю.
рисунок к задаче
вариант 61
m1=8кг
m2=0кг
m3=0кг
m4=4кг
m5=6кг
c=320Н/м
М=0,8Н∙м
F=50(8+3s)
v1 — ?

0662m
Механическая система состоит из грузов 1 и 2, ступенчатого шкива 3 с радиусами ступеней R3 = 0,3 м, r3 = 0,1 м и радиусом инерции относительно оси вращения ρ3 = 0,2 м, блока 4 радиуса R4 = 0,2 м И катка (или подвижного блока) 5 (рис. Д6.0 — Д6.9, табл. Д6); тело 5 считать сплошным однородным цилиндром, а массу блока 4 — равномерно распределенной по ободу. Коэффициент трения грузов о плоскость f = 0,1. Тела системы соединены друг с другом нитями, перекинутыми через блоки и намотанными на шкив 3 (или на шкив и каток); участки нитей параллельны соответствующим плоскостям. К одному из тел прикреплена пружина с коэффициентом жесткости с.
Под действием силы F = f(s), зависящей от перемещения s точки ее приложения, система приходит в движение из состояния покоя; деформация пружины в момент начала движения равна нулю. При движении на шкив 3 действует постоянный момент M сил сопротивления (от трения в подшипниках).
Определить значение искомой величины в тот момент времени. Когда перемещение s станет равным s1 = 0,2 м. Искомая величина указана в столбце "Найти" таблицы, где обозначено: v1, v2, vC3 — скорости грузов 1, 2 и центра масс тела 5, соответственно ω3 и ω4 — угловые скорости тел 3 и 4.
Все катки, включая к катки, обмотанные нитями (как, например, каток 5 на рис. 2), катятся по плоскостям без скольжения.
На всех рисунках не изображать груз 2, если m2 = 0; остальные тела должны изображаться и тогда, когда их масса равна нулю.
рисунок к задаче
вариант 62
m1=0кг
m2=4кг
m3=6кг
m4=0кг
m5=5кг
c=240Н/м
М=1,4Н∙м
F=60(6+5s)
v2 — ?

0663m
Механическая система состоит из грузов 1 и 2, ступенчатого шкива 3 с радиусами ступеней R3 = 0,3 м, r3 = 0,1 м и радиусом инерции относительно оси вращения ρ3 = 0,2 м, блока 4 радиуса R4 = 0,2 м И катка (или подвижного блока) 5 (рис. Д6.0 — Д6.9, табл. Д6); тело 5 считать сплошным однородным цилиндром, а массу блока 4 — равномерно распределенной по ободу. Коэффициент трения грузов о плоскость f = 0,1. Тела системы соединены друг с другом нитями, перекинутыми через блоки и намотанными на шкив 3 (или на шкив и каток); участки нитей параллельны соответствующим плоскостям. К одному из тел прикреплена пружина с коэффициентом жесткости с.
Под действием силы F = f(s), зависящей от перемещения s точки ее приложения, система приходит в движение из состояния покоя; деформация пружины в момент начала движения равна нулю. При движении на шкив 3 действует постоянный момент M сил сопротивления (от трения в подшипниках).
Определить значение искомой величины в тот момент времени. Когда перемещение s станет равным s1 = 0,2 м. Искомая величина указана в столбце "Найти" таблицы, где обозначено: v1, v2, vC3 — скорости грузов 1, 2 и центра масс тела 5, соответственно ω3 и ω4 — угловые скорости тел 3 и 4.
Все катки, включая к катки, обмотанные нитями (как, например, каток 5 на рис. 2), катятся по плоскостям без скольжения.
На всех рисунках не изображать груз 2, если m2 = 0; остальные тела должны изображаться и тогда, когда их масса равна нулю.
рисунок к задаче
вариант 63
m1=0кг
m2=6кг
m3=0кг
m4=5кг
m5=4кг
c=300Н/м
М=1,8Н∙м
F=80(5+6s)
ω4 — ?

0664m
Механическая система состоит из грузов 1 и 2, ступенчатого шкива 3 с радиусами ступеней R3 = 0,3 м, r3 = 0,1 м и радиусом инерции относительно оси вращения ρ3 = 0,2 м, блока 4 радиуса R4 = 0,2 м И катка (или подвижного блока) 5 (рис. Д6.0 — Д6.9, табл. Д6); тело 5 считать сплошным однородным цилиндром, а массу блока 4 — равномерно распределенной по ободу. Коэффициент трения грузов о плоскость f = 0,1. Тела системы соединены друг с другом нитями, перекинутыми через блоки и намотанными на шкив 3 (или на шкив и каток); участки нитей параллельны соответствующим плоскостям. К одному из тел прикреплена пружина с коэффициентом жесткости с.
Под действием силы F = f(s), зависящей от перемещения s точки ее приложения, система приходит в движение из состояния покоя; деформация пружины в момент начала движения равна нулю. При движении на шкив 3 действует постоянный момент M сил сопротивления (от трения в подшипниках).
Определить значение искомой величины в тот момент времени. Когда перемещение s станет равным s1 = 0,2 м. Искомая величина указана в столбце "Найти" таблицы, где обозначено: v1, v2, vC3 — скорости грузов 1, 2 и центра масс тела 5, соответственно ω3 и ω4 — угловые скорости тел 3 и 4.
Все катки, включая к катки, обмотанные нитями (как, например, каток 5 на рис. 2), катятся по плоскостям без скольжения.
На всех рисунках не изображать груз 2, если m2 = 0; остальные тела должны изображаться и тогда, когда их масса равна нулю.
рисунок к задаче
вариант 64
m1=5кг
m2=0кг
m3=4кг
m4=0кг
m5=6кг
c=240Н/м
М=1,2Н∙м
F=40(9+4s)
v1 — ?

0665m
Механическая система состоит из грузов 1 и 2, ступенчатого шкива 3 с радиусами ступеней R3 = 0,3 м, r3 = 0,1 м и радиусом инерции относительно оси вращения ρ3 = 0,2 м, блока 4 радиуса R4 = 0,2 м И катка (или подвижного блока) 5 (рис. Д6.0 — Д6.9, табл. Д6); тело 5 считать сплошным однородным цилиндром, а массу блока 4 — равномерно распределенной по ободу. Коэффициент трения грузов о плоскость f = 0,1. Тела системы соединены друг с другом нитями, перекинутыми через блоки и намотанными на шкив 3 (или на шкив и каток); участки нитей параллельны соответствующим плоскостям. К одному из тел прикреплена пружина с коэффициентом жесткости с.
Под действием силы F = f(s), зависящей от перемещения s точки ее приложения, система приходит в движение из состояния покоя; деформация пружины в момент начала движения равна нулю. При движении на шкив 3 действует постоянный момент M сил сопротивления (от трения в подшипниках).
Определить значение искомой величины в тот момент времени. Когда перемещение s станет равным s1 = 0,2 м. Искомая величина указана в столбце "Найти" таблицы, где обозначено: v1, v2, vC3 — скорости грузов 1, 2 и центра масс тела 5, соответственно ω3 и ω4 — угловые скорости тел 3 и 4.
Все катки, включая к катки, обмотанные нитями (как, например, каток 5 на рис. 2), катятся по плоскостям без скольжения.
На всех рисунках не изображать груз 2, если m2 = 0; остальные тела должны изображаться и тогда, когда их масса равна нулю.
рисунок к задаче
вариант 65
m1=0кг
m2=5кг
m3=0кг
m4=6кг
m5=4кг
c=200Н/м
М=1,6Н∙м
F=50(7+8s)
vc5 — ?

0666m
Механическая система состоит из грузов 1 и 2, ступенчатого шкива 3 с радиусами ступеней R3 = 0,3 м, r3 = 0,1 м и радиусом инерции относительно оси вращения ρ3 = 0,2 м, блока 4 радиуса R4 = 0,2 м И катка (или подвижного блока) 5 (рис. Д6.0 — Д6.9, табл. Д6); тело 5 считать сплошным однородным цилиндром, а массу блока 4 — равномерно распределенной по ободу. Коэффициент трения грузов о плоскость f = 0,1. Тела системы соединены друг с другом нитями, перекинутыми через блоки и намотанными на шкив 3 (или на шкив и каток); участки нитей параллельны соответствующим плоскостям. К одному из тел прикреплена пружина с коэффициентом жесткости с.
Под действием силы F = f(s), зависящей от перемещения s точки ее приложения, система приходит в движение из состояния покоя; деформация пружины в момент начала движения равна нулю. При движении на шкив 3 действует постоянный момент M сил сопротивления (от трения в подшипниках).
Определить значение искомой величины в тот момент времени. Когда перемещение s станет равным s1 = 0,2 м. Искомая величина указана в столбце "Найти" таблицы, где обозначено: v1, v2, vC3 — скорости грузов 1, 2 и центра масс тела 5, соответственно ω3 и ω4 — угловые скорости тел 3 и 4.
Все катки, включая к катки, обмотанные нитями (как, например, каток 5 на рис. 2), катятся по плоскостям без скольжения.
На всех рисунках не изображать груз 2, если m2 = 0; остальные тела должны изображаться и тогда, когда их масса равна нулю.
рисунок к задаче
вариант 66
m1=8кг
m2=0кг
m3=5кг
m4=0кг
m5=6кг
c=280Н/м
М=0,8Н∙м
F=40(8+9s)
ω3 — ?

0667m
Механическая система состоит из грузов 1 и 2, ступенчатого шкива 3 с радиусами ступеней R3 = 0,3 м, r3 = 0,1 м и радиусом инерции относительно оси вращения ρ3 = 0,2 м, блока 4 радиуса R4 = 0,2 м И катка (или подвижного блока) 5 (рис. Д6.0 — Д6.9, табл. Д6); тело 5 считать сплошным однородным цилиндром, а массу блока 4 — равномерно распределенной по ободу. Коэффициент трения грузов о плоскость f = 0,1. Тела системы соединены друг с другом нитями, перекинутыми через блоки и намотанными на шкив 3 (или на шкив и каток); участки нитей параллельны соответствующим плоскостям. К одному из тел прикреплена пружина с коэффициентом жесткости с.
Под действием силы F = f(s), зависящей от перемещения s точки ее приложения, система приходит в движение из состояния покоя; деформация пружины в момент начала движения равна нулю. При движении на шкив 3 действует постоянный момент M сил сопротивления (от трения в подшипниках).
Определить значение искомой величины в тот момент времени. Когда перемещение s станет равным s1 = 0,2 м. Искомая величина указана в столбце "Найти" таблицы, где обозначено: v1, v2, vC3 — скорости грузов 1, 2 и центра масс тела 5, соответственно ω3 и ω4 — угловые скорости тел 3 и 4.
Все катки, включая к катки, обмотанные нитями (как, например, каток 5 на рис. 2), катятся по плоскостям без скольжения.
На всех рисунках не изображать груз 2, если m2 = 0; остальные тела должны изображаться и тогда, когда их масса равна нулю.
рисунок к задаче
вариант 67
m1=0кг
m2=4кг
m3=0кг
m4=6кг
m5=5кг
c=300Н/м
М=1,5Н∙м
F=60(8+5s)
v2 — ?

0668m
Механическая система состоит из грузов 1 и 2, ступенчатого шкива 3 с радиусами ступеней R3 = 0,3 м, r3 = 0,1 м и радиусом инерции относительно оси вращения ρ3 = 0,2 м, блока 4 радиуса R4 = 0,2 м И катка (или подвижного блока) 5 (рис. Д6.0 — Д6.9, табл. Д6); тело 5 считать сплошным однородным цилиндром, а массу блока 4 — равномерно распределенной по ободу. Коэффициент трения грузов о плоскость f = 0,1. Тела системы соединены друг с другом нитями, перекинутыми через блоки и намотанными на шкив 3 (или на шкив и каток); участки нитей параллельны соответствующим плоскостям. К одному из тел прикреплена пружина с коэффициентом жесткости с.
Под действием силы F = f(s), зависящей от перемещения s точки ее приложения, система приходит в движение из состояния покоя; деформация пружины в момент начала движения равна нулю. При движении на шкив 3 действует постоянный момент M сил сопротивления (от трения в подшипниках).
Определить значение искомой величины в тот момент времени. Когда перемещение s станет равным s1 = 0,2 м. Искомая величина указана в столбце "Найти" таблицы, где обозначено: v1, v2, vC3 — скорости грузов 1, 2 и центра масс тела 5, соответственно ω3 и ω4 — угловые скорости тел 3 и 4.
Все катки, включая к катки, обмотанные нитями (как, например, каток 5 на рис. 2), катятся по плоскостям без скольжения.
На всех рисунках не изображать груз 2, если m2 = 0; остальные тела должны изображаться и тогда, когда их масса равна нулю.
рисунок к задаче
вариант 68
m1=4кг
m2=0кг
m3=0кг
m4=5кг
m5=6кг
c=320Н/м
М=1,4Н∙м
F=50(9+2s)
ω4 — ?

0669m
Механическая система состоит из грузов 1 и 2, ступенчатого шкива 3 с радиусами ступеней R3 = 0,3 м, r3 = 0,1 м и радиусом инерции относительно оси вращения ρ3 = 0,2 м, блока 4 радиуса R4 = 0,2 м И катка (или подвижного блока) 5 (рис. Д6.0 — Д6.9, табл. Д6); тело 5 считать сплошным однородным цилиндром, а массу блока 4 — равномерно распределенной по ободу. Коэффициент трения грузов о плоскость f = 0,1. Тела системы соединены друг с другом нитями, перекинутыми через блоки и намотанными на шкив 3 (или на шкив и каток); участки нитей параллельны соответствующим плоскостям. К одному из тел прикреплена пружина с коэффициентом жесткости с.
Под действием силы F = f(s), зависящей от перемещения s точки ее приложения, система приходит в движение из состояния покоя; деформация пружины в момент начала движения равна нулю. При движении на шкив 3 действует постоянный момент M сил сопротивления (от трения в подшипниках).
Определить значение искомой величины в тот момент времени. Когда перемещение s станет равным s1 = 0,2 м. Искомая величина указана в столбце "Найти" таблицы, где обозначено: v1, v2, vC3 — скорости грузов 1, 2 и центра масс тела 5, соответственно ω3 и ω4 — угловые скорости тел 3 и 4.
Все катки, включая к катки, обмотанные нитями (как, например, каток 5 на рис. 2), катятся по плоскостям без скольжения.
На всех рисунках не изображать груз 2, если m2 = 0; остальные тела должны изображаться и тогда, когда их масса равна нулю.
рисунок к задаче
вариант 69
m1=0кг
m2=5кг
m3=6кг
m4=0кг
m5=4кг
c=280Н/м
М=1,6Н∙м
F=80(6+7s)
vc5 — ?

0670m
Механическая система состоит из грузов 1 и 2, ступенчатого шкива 3 с радиусами ступеней R3 = 0,3 м, r3 = 0,1 м и радиусом инерции относительно оси вращения ρ3 = 0,2 м, блока 4 радиуса R4 = 0,2 м И катка (или подвижного блока) 5 (рис. Д6.0 — Д6.9, табл. Д6); тело 5 считать сплошным однородным цилиндром, а массу блока 4 — равномерно распределенной по ободу. Коэффициент трения грузов о плоскость f = 0,1. Тела системы соединены друг с другом нитями, перекинутыми через блоки и намотанными на шкив 3 (или на шкив и каток); участки нитей параллельны соответствующим плоскостям. К одному из тел прикреплена пружина с коэффициентом жесткости с.
Под действием силы F = f(s), зависящей от перемещения s точки ее приложения, система приходит в движение из состояния покоя; деформация пружины в момент начала движения равна нулю. При движении на шкив 3 действует постоянный момент M сил сопротивления (от трения в подшипниках).
Определить значение искомой величины в тот момент времени. Когда перемещение s станет равным s1 = 0,2 м. Искомая величина указана в столбце "Найти" таблицы, где обозначено: v1, v2, vC3 — скорости грузов 1, 2 и центра масс тела 5, соответственно ω3 и ω4 — угловые скорости тел 3 и 4.
Все катки, включая к катки, обмотанные нитями (как, например, каток 5 на рис. 2), катятся по плоскостям без скольжения.
На всех рисунках не изображать груз 2, если m2 = 0; остальные тела должны изображаться и тогда, когда их масса равна нулю.
рисунок к задаче
вариант 70
m1=0кг
m2=6кг
m3=4кг
m4=0кг
m5=5кг
c=200Н/м
М=1,2Н∙м
F=80(4+5s)
ω3 — ?

0671m
Механическая система состоит из грузов 1 и 2, ступенчатого шкива 3 с радиусами ступеней R3 = 0,3 м, r3 = 0,1 м и радиусом инерции относительно оси вращения ρ3 = 0,2 м, блока 4 радиуса R4 = 0,2 м И катка (или подвижного блока) 5 (рис. Д6.0 — Д6.9, табл. Д6); тело 5 считать сплошным однородным цилиндром, а массу блока 4 — равномерно распределенной по ободу. Коэффициент трения грузов о плоскость f = 0,1. Тела системы соединены друг с другом нитями, перекинутыми через блоки и намотанными на шкив 3 (или на шкив и каток); участки нитей параллельны соответствующим плоскостям. К одному из тел прикреплена пружина с коэффициентом жесткости с.
Под действием силы F = f(s), зависящей от перемещения s точки ее приложения, система приходит в движение из состояния покоя; деформация пружины в момент начала движения равна нулю. При движении на шкив 3 действует постоянный момент M сил сопротивления (от трения в подшипниках).
Определить значение искомой величины в тот момент времени. Когда перемещение s станет равным s1 = 0,2 м. Искомая величина указана в столбце "Найти" таблицы, где обозначено: v1, v2, vC3 — скорости грузов 1, 2 и центра масс тела 5, соответственно ω3 и ω4 — угловые скорости тел 3 и 4.
Все катки, включая к катки, обмотанные нитями (как, например, каток 5 на рис. 2), катятся по плоскостям без скольжения.
На всех рисунках не изображать груз 2, если m2 = 0; остальные тела должны изображаться и тогда, когда их масса равна нулю.
рисунок к задаче
вариант 71
m1=8кг
m2=0кг
m3=0кг
m4=4кг
m5=6кг
c=320Н/м
М=0,8Н∙м
F=50(8+3s)
v1 — ?

0672m
Механическая система состоит из грузов 1 и 2, ступенчатого шкива 3 с радиусами ступеней R3 = 0,3 м, r3 = 0,1 м и радиусом инерции относительно оси вращения ρ3 = 0,2 м, блока 4 радиуса R4 = 0,2 м И катка (или подвижного блока) 5 (рис. Д6.0 — Д6.9, табл. Д6); тело 5 считать сплошным однородным цилиндром, а массу блока 4 — равномерно распределенной по ободу. Коэффициент трения грузов о плоскость f = 0,1. Тела системы соединены друг с другом нитями, перекинутыми через блоки и намотанными на шкив 3 (или на шкив и каток); участки нитей параллельны соответствующим плоскостям. К одному из тел прикреплена пружина с коэффициентом жесткости с.
Под действием силы F = f(s), зависящей от перемещения s точки ее приложения, система приходит в движение из состояния покоя; деформация пружины в момент начала движения равна нулю. При движении на шкив 3 действует постоянный момент M сил сопротивления (от трения в подшипниках).
Определить значение искомой величины в тот момент времени. Когда перемещение s станет равным s1 = 0,2 м. Искомая величина указана в столбце "Найти" таблицы, где обозначено: v1, v2, vC3 — скорости грузов 1, 2 и центра масс тела 5, соответственно ω3 и ω4 — угловые скорости тел 3 и 4.
Все катки, включая к катки, обмотанные нитями (как, например, каток 5 на рис. 2), катятся по плоскостям без скольжения.
На всех рисунках не изображать груз 2, если m2 = 0; остальные тела должны изображаться и тогда, когда их масса равна нулю.
рисунок к задаче
вариант 72
m1=0кг
m2=4кг
m3=6кг
m4=0кг
m5=5кг
c=240Н/м
М=1,4Н∙м
F=60(6+5s)
v2 — ?

0673m
Механическая система состоит из грузов 1 и 2, ступенчатого шкива 3 с радиусами ступеней R3 = 0,3 м, r3 = 0,1 м и радиусом инерции относительно оси вращения ρ3 = 0,2 м, блока 4 радиуса R4 = 0,2 м И катка (или подвижного блока) 5 (рис. Д6.0 — Д6.9, табл. Д6); тело 5 считать сплошным однородным цилиндром, а массу блока 4 — равномерно распределенной по ободу. Коэффициент трения грузов о плоскость f = 0,1. Тела системы соединены друг с другом нитями, перекинутыми через блоки и намотанными на шкив 3 (или на шкив и каток); участки нитей параллельны соответствующим плоскостям. К одному из тел прикреплена пружина с коэффициентом жесткости с.
Под действием силы F = f(s), зависящей от перемещения s точки ее приложения, система приходит в движение из состояния покоя; деформация пружины в момент начала движения равна нулю. При движении на шкив 3 действует постоянный момент M сил сопротивления (от трения в подшипниках).
Определить значение искомой величины в тот момент времени. Когда перемещение s станет равным s1 = 0,2 м. Искомая величина указана в столбце "Найти" таблицы, где обозначено: v1, v2, vC3 — скорости грузов 1, 2 и центра масс тела 5, соответственно ω3 и ω4 — угловые скорости тел 3 и 4.
Все катки, включая к катки, обмотанные нитями (как, например, каток 5 на рис. 2), катятся по плоскостям без скольжения.
На всех рисунках не изображать груз 2, если m2 = 0; остальные тела должны изображаться и тогда, когда их масса равна нулю.
рисунок к задаче
вариант 73
m1=0кг
m2=6кг
m3=0кг
m4=5кг
m5=4кг
c=300Н/м
М=1,8Н∙м
F=80(5+6s)
ω4 — ?

0674m
Механическая система состоит из грузов 1 и 2, ступенчатого шкива 3 с радиусами ступеней R3 = 0,3 м, r3 = 0,1 м и радиусом инерции относительно оси вращения ρ3 = 0,2 м, блока 4 радиуса R4 = 0,2 м И катка (или подвижного блока) 5 (рис. Д6.0 — Д6.9, табл. Д6); тело 5 считать сплошным однородным цилиндром, а массу блока 4 — равномерно распределенной по ободу. Коэффициент трения грузов о плоскость f = 0,1. Тела системы соединены друг с другом нитями, перекинутыми через блоки и намотанными на шкив 3 (или на шкив и каток); участки нитей параллельны соответствующим плоскостям. К одному из тел прикреплена пружина с коэффициентом жесткости с.
Под действием силы F = f(s), зависящей от перемещения s точки ее приложения, система приходит в движение из состояния покоя; деформация пружины в момент начала движения равна нулю. При движении на шкив 3 действует постоянный момент M сил сопротивления (от трения в подшипниках).
Определить значение искомой величины в тот момент времени. Когда перемещение s станет равным s1 = 0,2 м. Искомая величина указана в столбце "Найти" таблицы, где обозначено: v1, v2, vC3 — скорости грузов 1, 2 и центра масс тела 5, соответственно ω3 и ω4 — угловые скорости тел 3 и 4.
Все катки, включая к катки, обмотанные нитями (как, например, каток 5 на рис. 2), катятся по плоскостям без скольжения.
На всех рисунках не изображать груз 2, если m2 = 0; остальные тела должны изображаться и тогда, когда их масса равна нулю.
рисунок к задаче
вариант 74
m1=5кг
m2=0кг
m3=4кг
m4=0кг
m5=6кг
c=240Н/м
М=1,2Н∙м
F=40(9+4s)
v1 — ?

0675m
Механическая система состоит из грузов 1 и 2, ступенчатого шкива 3 с радиусами ступеней R3 = 0,3 м, r3 = 0,1 м и радиусом инерции относительно оси вращения ρ3 = 0,2 м, блока 4 радиуса R4 = 0,2 м И катка (или подвижного блока) 5 (рис. Д6.0 — Д6.9, табл. Д6); тело 5 считать сплошным однородным цилиндром, а массу блока 4 — равномерно распределенной по ободу. Коэффициент трения грузов о плоскость f = 0,1. Тела системы соединены друг с другом нитями, перекинутыми через блоки и намотанными на шкив 3 (или на шкив и каток); участки нитей параллельны соответствующим плоскостям. К одному из тел прикреплена пружина с коэффициентом жесткости с.
Под действием силы F = f(s), зависящей от перемещения s точки ее приложения, система приходит в движение из состояния покоя; деформация пружины в момент начала движения равна нулю. При движении на шкив 3 действует постоянный момент M сил сопротивления (от трения в подшипниках).
Определить значение искомой величины в тот момент времени. Когда перемещение s станет равным s1 = 0,2 м. Искомая величина указана в столбце "Найти" таблицы, где обозначено: v1, v2, vC3 — скорости грузов 1, 2 и центра масс тела 5, соответственно ω3 и ω4 — угловые скорости тел 3 и 4.
Все катки, включая к катки, обмотанные нитями (как, например, каток 5 на рис. 2), катятся по плоскостям без скольжения.
На всех рисунках не изображать груз 2, если m2 = 0; остальные тела должны изображаться и тогда, когда их масса равна нулю.
рисунок к задаче
вариант 75
m1=0кг
m2=5кг
m3=0кг
m4=6кг
m5=4кг
c=200Н/м
М=1,6Н∙м
F=50(7+8s)
vc5 — ?

0676m
Механическая система состоит из грузов 1 и 2, ступенчатого шкива 3 с радиусами ступеней R3 = 0,3 м, r3 = 0,1 м и радиусом инерции относительно оси вращения ρ3 = 0,2 м, блока 4 радиуса R4 = 0,2 м И катка (или подвижного блока) 5 (рис. Д6.0 — Д6.9, табл. Д6); тело 5 считать сплошным однородным цилиндром, а массу блока 4 — равномерно распределенной по ободу. Коэффициент трения грузов о плоскость f = 0,1. Тела системы соединены друг с другом нитями, перекинутыми через блоки и намотанными на шкив 3 (или на шкив и каток); участки нитей параллельны соответствующим плоскостям. К одному из тел прикреплена пружина с коэффициентом жесткости с.
Под действием силы F = f(s), зависящей от перемещения s точки ее приложения, система приходит в движение из состояния покоя; деформация пружины в момент начала движения равна нулю. При движении на шкив 3 действует постоянный момент M сил сопротивления (от трения в подшипниках).
Определить значение искомой величины в тот момент времени. Когда перемещение s станет равным s1 = 0,2 м. Искомая величина указана в столбце "Найти" таблицы, где обозначено: v1, v2, vC3 — скорости грузов 1, 2 и центра масс тела 5, соответственно ω3 и ω4 — угловые скорости тел 3 и 4.
Все катки, включая к катки, обмотанные нитями (как, например, каток 5 на рис. 2), катятся по плоскостям без скольжения.
На всех рисунках не изображать груз 2, если m2 = 0; остальные тела должны изображаться и тогда, когда их масса равна нулю.
рисунок к задаче
вариант 76
m1=8кг
m2=0кг
m3=5кг
m4=0кг
m5=6кг
c=280Н/м
М=0,8Н∙м
F=40(8+9s)
ω3 — ?

0677m
Механическая система состоит из грузов 1 и 2, ступенчатого шкива 3 с радиусами ступеней R3 = 0,3 м, r3 = 0,1 м и радиусом инерции относительно оси вращения ρ3 = 0,2 м, блока 4 радиуса R4 = 0,2 м И катка (или подвижного блока) 5 (рис. Д6.0 — Д6.9, табл. Д6); тело 5 считать сплошным однородным цилиндром, а массу блока 4 — равномерно распределенной по ободу. Коэффициент трения грузов о плоскость f = 0,1. Тела системы соединены друг с другом нитями, перекинутыми через блоки и намотанными на шкив 3 (или на шкив и каток); участки нитей параллельны соответствующим плоскостям. К одному из тел прикреплена пружина с коэффициентом жесткости с.
Под действием силы F = f(s), зависящей от перемещения s точки ее приложения, система приходит в движение из состояния покоя; деформация пружины в момент начала движения равна нулю. При движении на шкив 3 действует постоянный момент M сил сопротивления (от трения в подшипниках).
Определить значение искомой величины в тот момент времени. Когда перемещение s станет равным s1 = 0,2 м. Искомая величина указана в столбце "Найти" таблицы, где обозначено: v1, v2, vC3 — скорости грузов 1, 2 и центра масс тела 5, соответственно ω3 и ω4 — угловые скорости тел 3 и 4.
Все катки, включая к катки, обмотанные нитями (как, например, каток 5 на рис. 2), катятся по плоскостям без скольжения.
На всех рисунках не изображать груз 2, если m2 = 0; остальные тела должны изображаться и тогда, когда их масса равна нулю.
рисунок к задаче
вариант 77
m1=0кг
m2=4кг
m3=0кг
m4=6кг
m5=5кг
c=300Н/м
М=1,5Н∙м
F=60(8+5s)
v2 — ?

0678m
Механическая система состоит из грузов 1 и 2, ступенчатого шкива 3 с радиусами ступеней R3 = 0,3 м, r3 = 0,1 м и радиусом инерции относительно оси вращения ρ3 = 0,2 м, блока 4 радиуса R4 = 0,2 м И катка (или подвижного блока) 5 (рис. Д6.0 — Д6.9, табл. Д6); тело 5 считать сплошным однородным цилиндром, а массу блока 4 — равномерно распределенной по ободу. Коэффициент трения грузов о плоскость f = 0,1. Тела системы соединены друг с другом нитями, перекинутыми через блоки и намотанными на шкив 3 (или на шкив и каток); участки нитей параллельны соответствующим плоскостям. К одному из тел прикреплена пружина с коэффициентом жесткости с.
Под действием силы F = f(s), зависящей от перемещения s точки ее приложения, система приходит в движение из состояния покоя; деформация пружины в момент начала движения равна нулю. При движении на шкив 3 действует постоянный момент M сил сопротивления (от трения в подшипниках).
Определить значение искомой величины в тот момент времени. Когда перемещение s станет равным s1 = 0,2 м. Искомая величина указана в столбце "Найти" таблицы, где обозначено: v1, v2, vC3 — скорости грузов 1, 2 и центра масс тела 5, соответственно ω3 и ω4 — угловые скорости тел 3 и 4.
Все катки, включая к катки, обмотанные нитями (как, например, каток 5 на рис. 2), катятся по плоскостям без скольжения.
На всех рисунках не изображать груз 2, если m2 = 0; остальные тела должны изображаться и тогда, когда их масса равна нулю.
рисунок к задаче
вариант 78
m1=4кг
m2=0кг
m3=0кг
m4=5кг
m5=6кг
c=320Н/м
М=1,4Н∙м
F=50(9+2s)
ω4 — ?

0679m
Механическая система состоит из грузов 1 и 2, ступенчатого шкива 3 с радиусами ступеней R3 = 0,3 м, r3 = 0,1 м и радиусом инерции относительно оси вращения ρ3 = 0,2 м, блока 4 радиуса R4 = 0,2 м И катка (или подвижного блока) 5 (рис. Д6.0 — Д6.9, табл. Д6); тело 5 считать сплошным однородным цилиндром, а массу блока 4 — равномерно распределенной по ободу. Коэффициент трения грузов о плоскость f = 0,1. Тела системы соединены друг с другом нитями, перекинутыми через блоки и намотанными на шкив 3 (или на шкив и каток); участки нитей параллельны соответствующим плоскостям. К одному из тел прикреплена пружина с коэффициентом жесткости с.
Под действием силы F = f(s), зависящей от перемещения s точки ее приложения, система приходит в движение из состояния покоя; деформация пружины в момент начала движения равна нулю. При движении на шкив 3 действует постоянный момент M сил сопротивления (от трения в подшипниках).
Определить значение искомой величины в тот момент времени. Когда перемещение s станет равным s1 = 0,2 м. Искомая величина указана в столбце "Найти" таблицы, где обозначено: v1, v2, vC3 — скорости грузов 1, 2 и центра масс тела 5, соответственно ω3 и ω4 — угловые скорости тел 3 и 4.
Все катки, включая к катки, обмотанные нитями (как, например, каток 5 на рис. 2), катятся по плоскостям без скольжения.
На всех рисунках не изображать груз 2, если m2 = 0; остальные тела должны изображаться и тогда, когда их масса равна нулю.
рисунок к задаче
вариант 79
m1=0кг
m2=5кг
m3=6кг
m4=0кг
m5=4кг
c=280Н/м
М=1,6Н∙м
F=80(6+7s)
vc5 — ?

0680m
Механическая система состоит из грузов 1 и 2, ступенчатого шкива 3 с радиусами ступеней R3 = 0,3 м, r3 = 0,1 м и радиусом инерции относительно оси вращения ρ3 = 0,2 м, блока 4 радиуса R4 = 0,2 м И катка (или подвижного блока) 5 (рис. Д6.0 — Д6.9, табл. Д6); тело 5 считать сплошным однородным цилиндром, а массу блока 4 — равномерно распределенной по ободу. Коэффициент трения грузов о плоскость f = 0,1. Тела системы соединены друг с другом нитями, перекинутыми через блоки и намотанными на шкив 3 (или на шкив и каток); участки нитей параллельны соответствующим плоскостям. К одному из тел прикреплена пружина с коэффициентом жесткости с.
Под действием силы F = f(s), зависящей от перемещения s точки ее приложения, система приходит в движение из состояния покоя; деформация пружины в момент начала движения равна нулю. При движении на шкив 3 действует постоянный момент M сил сопротивления (от трения в подшипниках).
Определить значение искомой величины в тот момент времени. Когда перемещение s станет равным s1 = 0,2 м. Искомая величина указана в столбце "Найти" таблицы, где обозначено: v1, v2, vC3 — скорости грузов 1, 2 и центра масс тела 5, соответственно ω3 и ω4 — угловые скорости тел 3 и 4.
Все катки, включая к катки, обмотанные нитями (как, например, каток 5 на рис. 2), катятся по плоскостям без скольжения.
На всех рисунках не изображать груз 2, если m2 = 0; остальные тела должны изображаться и тогда, когда их масса равна нулю.
рисунок к задаче
вариант 80
m1=0кг
m2=6кг
m3=4кг
m4=0кг
m5=5кг
c=200Н/м
М=1,2Н∙м
F=80(4+5s)
ω3 — ?

0681m
Механическая система состоит из грузов 1 и 2, ступенчатого шкива 3 с радиусами ступеней R3 = 0,3 м, r3 = 0,1 м и радиусом инерции относительно оси вращения ρ3 = 0,2 м, блока 4 радиуса R4 = 0,2 м И катка (или подвижного блока) 5 (рис. Д6.0 — Д6.9, табл. Д6); тело 5 считать сплошным однородным цилиндром, а массу блока 4 — равномерно распределенной по ободу. Коэффициент трения грузов о плоскость f = 0,1. Тела системы соединены друг с другом нитями, перекинутыми через блоки и намотанными на шкив 3 (или на шкив и каток); участки нитей параллельны соответствующим плоскостям. К одному из тел прикреплена пружина с коэффициентом жесткости с.
Под действием силы F = f(s), зависящей от перемещения s точки ее приложения, система приходит в движение из состояния покоя; деформация пружины в момент начала движения равна нулю. При движении на шкив 3 действует постоянный момент M сил сопротивления (от трения в подшипниках).
Определить значение искомой величины в тот момент времени. Когда перемещение s станет равным s1 = 0,2 м. Искомая величина указана в столбце "Найти" таблицы, где обозначено: v1, v2, vC3 — скорости грузов 1, 2 и центра масс тела 5, соответственно ω3 и ω4 — угловые скорости тел 3 и 4.
Все катки, включая к катки, обмотанные нитями (как, например, каток 5 на рис. 2), катятся по плоскостям без скольжения.
На всех рисунках не изображать груз 2, если m2 = 0; остальные тела должны изображаться и тогда, когда их масса равна нулю.
рисунок к задаче
вариант 81
m1=8кг
m2=0кг
m3=0кг
m4=4кг
m5=6кг
c=320Н/м
М=0,8Н∙м
F=50(8+3s)
v1 — ?

0682m
Механическая система состоит из грузов 1 и 2, ступенчатого шкива 3 с радиусами ступеней R3 = 0,3 м, r3 = 0,1 м и радиусом инерции относительно оси вращения ρ3 = 0,2 м, блока 4 радиуса R4 = 0,2 м И катка (или подвижного блока) 5 (рис. Д6.0 — Д6.9, табл. Д6); тело 5 считать сплошным однородным цилиндром, а массу блока 4 — равномерно распределенной по ободу. Коэффициент трения грузов о плоскость f = 0,1. Тела системы соединены друг с другом нитями, перекинутыми через блоки и намотанными на шкив 3 (или на шкив и каток); участки нитей параллельны соответствующим плоскостям. К одному из тел прикреплена пружина с коэффициентом жесткости с.
Под действием силы F = f(s), зависящей от перемещения s точки ее приложения, система приходит в движение из состояния покоя; деформация пружины в момент начала движения равна нулю. При движении на шкив 3 действует постоянный момент M сил сопротивления (от трения в подшипниках).
Определить значение искомой величины в тот момент времени. Когда перемещение s станет равным s1 = 0,2 м. Искомая величина указана в столбце "Найти" таблицы, где обозначено: v1, v2, vC3 — скорости грузов 1, 2 и центра масс тела 5, соответственно ω3 и ω4 — угловые скорости тел 3 и 4.
Все катки, включая к катки, обмотанные нитями (как, например, каток 5 на рис. 2), катятся по плоскостям без скольжения.
На всех рисунках не изображать груз 2, если m2 = 0; остальные тела должны изображаться и тогда, когда их масса равна нулю.
рисунок к задаче
вариант 82
m1=0кг
m2=4кг
m3=6кг
m4=0кг
m5=5кг
c=240Н/м
М=1,4Н∙м
F=60(6+5s)
v2 — ?

0683m
Механическая система состоит из грузов 1 и 2, ступенчатого шкива 3 с радиусами ступеней R3 = 0,3 м, r3 = 0,1 м и радиусом инерции относительно оси вращения ρ3 = 0,2 м, блока 4 радиуса R4 = 0,2 м И катка (или подвижного блока) 5 (рис. Д6.0 — Д6.9, табл. Д6); тело 5 считать сплошным однородным цилиндром, а массу блока 4 — равномерно распределенной по ободу. Коэффициент трения грузов о плоскость f = 0,1. Тела системы соединены друг с другом нитями, перекинутыми через блоки и намотанными на шкив 3 (или на шкив и каток); участки нитей параллельны соответствующим плоскостям. К одному из тел прикреплена пружина с коэффициентом жесткости с.
Под действием силы F = f(s), зависящей от перемещения s точки ее приложения, система приходит в движение из состояния покоя; деформация пружины в момент начала движения равна нулю. При движении на шкив 3 действует постоянный момент M сил сопротивления (от трения в подшипниках).
Определить значение искомой величины в тот момент времени. Когда перемещение s станет равным s1 = 0,2 м. Искомая величина указана в столбце "Найти" таблицы, где обозначено: v1, v2, vC3 — скорости грузов 1, 2 и центра масс тела 5, соответственно ω3 и ω4 — угловые скорости тел 3 и 4.
Все катки, включая к катки, обмотанные нитями (как, например, каток 5 на рис. 2), катятся по плоскостям без скольжения.
На всех рисунках не изображать груз 2, если m2 = 0; остальные тела должны изображаться и тогда, когда их масса равна нулю.
рисунок к задаче
вариант 83
m1=0кг
m2=6кг
m3=0кг
m4=5кг
m5=4кг
c=300Н/м
М=1,8Н∙м
F=80(5+6s)
ω4 — ?

0684m
Механическая система состоит из грузов 1 и 2, ступенчатого шкива 3 с радиусами ступеней R3 = 0,3 м, r3 = 0,1 м и радиусом инерции относительно оси вращения ρ3 = 0,2 м, блока 4 радиуса R4 = 0,2 м И катка (или подвижного блока) 5 (рис. Д6.0 — Д6.9, табл. Д6); тело 5 считать сплошным однородным цилиндром, а массу блока 4 — равномерно распределенной по ободу. Коэффициент трения грузов о плоскость f = 0,1. Тела системы соединены друг с другом нитями, перекинутыми через блоки и намотанными на шкив 3 (или на шкив и каток); участки нитей параллельны соответствующим плоскостям. К одному из тел прикреплена пружина с коэффициентом жесткости с.
Под действием силы F = f(s), зависящей от перемещения s точки ее приложения, система приходит в движение из состояния покоя; деформация пружины в момент начала движения равна нулю. При движении на шкив 3 действует постоянный момент M сил сопротивления (от трения в подшипниках).
Определить значение искомой величины в тот момент времени. Когда перемещение s станет равным s1 = 0,2 м. Искомая величина указана в столбце "Найти" таблицы, где обозначено: v1, v2, vC3 — скорости грузов 1, 2 и центра масс тела 5, соответственно ω3 и ω4 — угловые скорости тел 3 и 4.
Все катки, включая к катки, обмотанные нитями (как, например, каток 5 на рис. 2), катятся по плоскостям без скольжения.
На всех рисунках не изображать груз 2, если m2 = 0; остальные тела должны изображаться и тогда, когда их масса равна нулю.
рисунок к задаче
вариант 84
m1=5кг
m2=0кг
m3=4кг
m4=0кг
m5=6кг
c=240Н/м
М=1,2Н∙м
F=40(9+4s)
v1 — ?

0685m
Механическая система состоит из грузов 1 и 2, ступенчатого шкива 3 с радиусами ступеней R3 = 0,3 м, r3 = 0,1 м и радиусом инерции относительно оси вращения ρ3 = 0,2 м, блока 4 радиуса R4 = 0,2 м И катка (или подвижного блока) 5 (рис. Д6.0 — Д6.9, табл. Д6); тело 5 считать сплошным однородным цилиндром, а массу блока 4 — равномерно распределенной по ободу. Коэффициент трения грузов о плоскость f = 0,1. Тела системы соединены друг с другом нитями, перекинутыми через блоки и намотанными на шкив 3 (или на шкив и каток); участки нитей параллельны соответствующим плоскостям. К одному из тел прикреплена пружина с коэффициентом жесткости с.
Под действием силы F = f(s), зависящей от перемещения s точки ее приложения, система приходит в движение из состояния покоя; деформация пружины в момент начала движения равна нулю. При движении на шкив 3 действует постоянный момент M сил сопротивления (от трения в подшипниках).
Определить значение искомой величины в тот момент времени. Когда перемещение s станет равным s1 = 0,2 м. Искомая величина указана в столбце "Найти" таблицы, где обозначено: v1, v2, vC3 — скорости грузов 1, 2 и центра масс тела 5, соответственно ω3 и ω4 — угловые скорости тел 3 и 4.
Все катки, включая к катки, обмотанные нитями (как, например, каток 5 на рис. 2), катятся по плоскостям без скольжения.
На всех рисунках не изображать груз 2, если m2 = 0; остальные тела должны изображаться и тогда, когда их масса равна нулю.
рисунок к задаче
вариант 85
m1=0кг
m2=5кг
m3=0кг
m4=6кг
m5=4кг
c=200Н/м
М=1,6Н∙м
F=50(7+8s)
vc5 — ?

0686m
Механическая система состоит из грузов 1 и 2, ступенчатого шкива 3 с радиусами ступеней R3 = 0,3 м, r3 = 0,1 м и радиусом инерции относительно оси вращения ρ3 = 0,2 м, блока 4 радиуса R4 = 0,2 м И катка (или подвижного блока) 5 (рис. Д6.0 — Д6.9, табл. Д6); тело 5 считать сплошным однородным цилиндром, а массу блока 4 — равномерно распределенной по ободу. Коэффициент трения грузов о плоскость f = 0,1. Тела системы соединены друг с другом нитями, перекинутыми через блоки и намотанными на шкив 3 (или на шкив и каток); участки нитей параллельны соответствующим плоскостям. К одному из тел прикреплена пружина с коэффициентом жесткости с.
Под действием силы F = f(s), зависящей от перемещения s точки ее приложения, система приходит в движение из состояния покоя; деформация пружины в момент начала движения равна нулю. При движении на шкив 3 действует постоянный момент M сил сопротивления (от трения в подшипниках).
Определить значение искомой величины в тот момент времени. Когда перемещение s станет равным s1 = 0,2 м. Искомая величина указана в столбце "Найти" таблицы, где обозначено: v1, v2, vC3 — скорости грузов 1, 2 и центра масс тела 5, соответственно ω3 и ω4 — угловые скорости тел 3 и 4.
Все катки, включая к катки, обмотанные нитями (как, например, каток 5 на рис. 2), катятся по плоскостям без скольжения.
На всех рисунках не изображать груз 2, если m2 = 0; остальные тела должны изображаться и тогда, когда их масса равна нулю.
рисунок к задаче
вариант 86
m1=8кг
m2=0кг
m3=5кг
m4=0кг
m5=6кг
c=280Н/м
М=0,8Н∙м
F=40(8+9s)
ω3 — ?

0687m
Механическая система состоит из грузов 1 и 2, ступенчатого шкива 3 с радиусами ступеней R3 = 0,3 м, r3 = 0,1 м и радиусом инерции относительно оси вращения ρ3 = 0,2 м, блока 4 радиуса R4 = 0,2 м И катка (или подвижного блока) 5 (рис. Д6.0 — Д6.9, табл. Д6); тело 5 считать сплошным однородным цилиндром, а массу блока 4 — равномерно распределенной по ободу. Коэффициент трения грузов о плоскость f = 0,1. Тела системы соединены друг с другом нитями, перекинутыми через блоки и намотанными на шкив 3 (или на шкив и каток); участки нитей параллельны соответствующим плоскостям. К одному из тел прикреплена пружина с коэффициентом жесткости с.
Под действием силы F = f(s), зависящей от перемещения s точки ее приложения, система приходит в движение из состояния покоя; деформация пружины в момент начала движения равна нулю. При движении на шкив 3 действует постоянный момент M сил сопротивления (от трения в подшипниках).
Определить значение искомой величины в тот момент времени. Когда перемещение s станет равным s1 = 0,2 м. Искомая величина указана в столбце "Найти" таблицы, где обозначено: v1, v2, vC3 — скорости грузов 1, 2 и центра масс тела 5, соответственно ω3 и ω4 — угловые скорости тел 3 и 4.
Все катки, включая к катки, обмотанные нитями (как, например, каток 5 на рис. 2), катятся по плоскостям без скольжения.
На всех рисунках не изображать груз 2, если m2 = 0; остальные тела должны изображаться и тогда, когда их масса равна нулю.
рисунок к задаче
вариант 87
m1=0кг
m2=4кг
m3=0кг
m4=6кг
m5=5кг
c=300Н/м
М=1,5Н∙м
F=60(8+5s)
v2 — ?

0688m
Механическая система состоит из грузов 1 и 2, ступенчатого шкива 3 с радиусами ступеней R3 = 0,3 м, r3 = 0,1 м и радиусом инерции относительно оси вращения ρ3 = 0,2 м, блока 4 радиуса R4 = 0,2 м И катка (или подвижного блока) 5 (рис. Д6.0 — Д6.9, табл. Д6); тело 5 считать сплошным однородным цилиндром, а массу блока 4 — равномерно распределенной по ободу. Коэффициент трения грузов о плоскость f = 0,1. Тела системы соединены друг с другом нитями, перекинутыми через блоки и намотанными на шкив 3 (или на шкив и каток); участки нитей параллельны соответствующим плоскостям. К одному из тел прикреплена пружина с коэффициентом жесткости с.
Под действием силы F = f(s), зависящей от перемещения s точки ее приложения, система приходит в движение из состояния покоя; деформация пружины в момент начала движения равна нулю. При движении на шкив 3 действует постоянный момент M сил сопротивления (от трения в подшипниках).
Определить значение искомой величины в тот момент времени. Когда перемещение s станет равным s1 = 0,2 м. Искомая величина указана в столбце "Найти" таблицы, где обозначено: v1, v2, vC3 — скорости грузов 1, 2 и центра масс тела 5, соответственно ω3 и ω4 — угловые скорости тел 3 и 4.
Все катки, включая к катки, обмотанные нитями (как, например, каток 5 на рис. 2), катятся по плоскостям без скольжения.
На всех рисунках не изображать груз 2, если m2 = 0; остальные тела должны изображаться и тогда, когда их масса равна нулю.
рисунок к задаче
вариант 88
m1=4кг
m2=0кг
m3=0кг
m4=5кг
m5=6кг
c=320Н/м
М=1,4Н∙м
F=50(9+2s)
ω4 — ?

0689m
Механическая система состоит из грузов 1 и 2, ступенчатого шкива 3 с радиусами ступеней R3 = 0,3 м, r3 = 0,1 м и радиусом инерции относительно оси вращения ρ3 = 0,2 м, блока 4 радиуса R4 = 0,2 м И катка (или подвижного блока) 5 (рис. Д6.0 — Д6.9, табл. Д6); тело 5 считать сплошным однородным цилиндром, а массу блока 4 — равномерно распределенной по ободу. Коэффициент трения грузов о плоскость f = 0,1. Тела системы соединены друг с другом нитями, перекинутыми через блоки и намотанными на шкив 3 (или на шкив и каток); участки нитей параллельны соответствующим плоскостям. К одному из тел прикреплена пружина с коэффициентом жесткости с.
Под действием силы F = f(s), зависящей от перемещения s точки ее приложения, система приходит в движение из состояния покоя; деформация пружины в момент начала движения равна нулю. При движении на шкив 3 действует постоянный момент M сил сопротивления (от трения в подшипниках).
Определить значение искомой величины в тот момент времени. Когда перемещение s станет равным s1 = 0,2 м. Искомая величина указана в столбце "Найти" таблицы, где обозначено: v1, v2, vC3 — скорости грузов 1, 2 и центра масс тела 5, соответственно ω3 и ω4 — угловые скорости тел 3 и 4.
Все катки, включая к катки, обмотанные нитями (как, например, каток 5 на рис. 2), катятся по плоскостям без скольжения.
На всех рисунках не изображать груз 2, если m2 = 0; остальные тела должны изображаться и тогда, когда их масса равна нулю.
рисунок к задаче
вариант 89
m1=0кг
m2=5кг
m3=6кг
m4=0кг
m5=4кг
c=280Н/м
М=1,6Н∙м
F=80(6+7s)
vc5 — ?

0690m
Механическая система состоит из грузов 1 и 2, ступенчатого шкива 3 с радиусами ступеней R3 = 0,3 м, r3 = 0,1 м и радиусом инерции относительно оси вращения ρ3 = 0,2 м, блока 4 радиуса R4 = 0,2 м И катка (или подвижного блока) 5 (рис. Д6.0 — Д6.9, табл. Д6); тело 5 считать сплошным однородным цилиндром, а массу блока 4 — равномерно распределенной по ободу. Коэффициент трения грузов о плоскость f = 0,1. Тела системы соединены друг с другом нитями, перекинутыми через блоки и намотанными на шкив 3 (или на шкив и каток); участки нитей параллельны соответствующим плоскостям. К одному из тел прикреплена пружина с коэффициентом жесткости с.
Под действием силы F = f(s), зависящей от перемещения s точки ее приложения, система приходит в движение из состояния покоя; деформация пружины в момент начала движения равна нулю. При движении на шкив 3 действует постоянный момент M сил сопротивления (от трения в подшипниках).
Определить значение искомой величины в тот момент времени. Когда перемещение s станет равным s1 = 0,2 м. Искомая величина указана в столбце "Найти" таблицы, где обозначено: v1, v2, vC3 — скорости грузов 1, 2 и центра масс тела 5, соответственно ω3 и ω4 — угловые скорости тел 3 и 4.
Все катки, включая к катки, обмотанные нитями (как, например, каток 5 на рис. 2), катятся по плоскостям без скольжения.
На всех рисунках не изображать груз 2, если m2 = 0; остальные тела должны изображаться и тогда, когда их масса равна нулю.
рисунок к задаче
вариант 90
m1=0кг
m2=6кг
m3=4кг
m4=0кг
m5=5кг
c=200Н/м
М=1,2Н∙м
F=80(4+5s)
ω3 — ?

0691m
Механическая система состоит из грузов 1 и 2, ступенчатого шкива 3 с радиусами ступеней R3 = 0,3 м, r3 = 0,1 м и радиусом инерции относительно оси вращения ρ3 = 0,2 м, блока 4 радиуса R4 = 0,2 м И катка (или подвижного блока) 5 (рис. Д6.0 — Д6.9, табл. Д6); тело 5 считать сплошным однородным цилиндром, а массу блока 4 — равномерно распределенной по ободу. Коэффициент трения грузов о плоскость f = 0,1. Тела системы соединены друг с другом нитями, перекинутыми через блоки и намотанными на шкив 3 (или на шкив и каток); участки нитей параллельны соответствующим плоскостям. К одному из тел прикреплена пружина с коэффициентом жесткости с.
Под действием силы F = f(s), зависящей от перемещения s точки ее приложения, система приходит в движение из состояния покоя; деформация пружины в момент начала движения равна нулю. При движении на шкив 3 действует постоянный момент M сил сопротивления (от трения в подшипниках).
Определить значение искомой величины в тот момент времени. Когда перемещение s станет равным s1 = 0,2 м. Искомая величина указана в столбце "Найти" таблицы, где обозначено: v1, v2, vC3 — скорости грузов 1, 2 и центра масс тела 5, соответственно ω3 и ω4 — угловые скорости тел 3 и 4.
Все катки, включая к катки, обмотанные нитями (как, например, каток 5 на рис. 2), катятся по плоскостям без скольжения.
На всех рисунках не изображать груз 2, если m2 = 0; остальные тела должны изображаться и тогда, когда их масса равна нулю.
рисунок к задаче
вариант 91
m1=8кг
m2=0кг
m3=0кг
m4=4кг
m5=6кг
c=320Н/м
М=0,8Н∙м
F=50(8+3s)
v1 — ?

0692m
Механическая система состоит из грузов 1 и 2, ступенчатого шкива 3 с радиусами ступеней R3 = 0,3 м, r3 = 0,1 м и радиусом инерции относительно оси вращения ρ3 = 0,2 м, блока 4 радиуса R4 = 0,2 м И катка (или подвижного блока) 5 (рис. Д6.0 — Д6.9, табл. Д6); тело 5 считать сплошным однородным цилиндром, а массу блока 4 — равномерно распределенной по ободу. Коэффициент трения грузов о плоскость f = 0,1. Тела системы соединены друг с другом нитями, перекинутыми через блоки и намотанными на шкив 3 (или на шкив и каток); участки нитей параллельны соответствующим плоскостям. К одному из тел прикреплена пружина с коэффициентом жесткости с.
Под действием силы F = f(s), зависящей от перемещения s точки ее приложения, система приходит в движение из состояния покоя; деформация пружины в момент начала движения равна нулю. При движении на шкив 3 действует постоянный момент M сил сопротивления (от трения в подшипниках).
Определить значение искомой величины в тот момент времени. Когда перемещение s станет равным s1 = 0,2 м. Искомая величина указана в столбце "Найти" таблицы, где обозначено: v1, v2, vC3 — скорости грузов 1, 2 и центра масс тела 5, соответственно ω3 и ω4 — угловые скорости тел 3 и 4.
Все катки, включая к катки, обмотанные нитями (как, например, каток 5 на рис. 2), катятся по плоскостям без скольжения.
На всех рисунках не изображать груз 2, если m2 = 0; остальные тела должны изображаться и тогда, когда их масса равна нулю.
рисунок к задаче
вариант 92
m1=0кг
m2=4кг
m3=6кг
m4=0кг
m5=5кг
c=240Н/м
М=1,4Н∙м
F=60(6+5s)
v2 — ?

0693m
Механическая система состоит из грузов 1 и 2, ступенчатого шкива 3 с радиусами ступеней R3 = 0,3 м, r3 = 0,1 м и радиусом инерции относительно оси вращения ρ3 = 0,2 м, блока 4 радиуса R4 = 0,2 м И катка (или подвижного блока) 5 (рис. Д6.0 — Д6.9, табл. Д6); тело 5 считать сплошным однородным цилиндром, а массу блока 4 — равномерно распределенной по ободу. Коэффициент трения грузов о плоскость f = 0,1. Тела системы соединены друг с другом нитями, перекинутыми через блоки и намотанными на шкив 3 (или на шкив и каток); участки нитей параллельны соответствующим плоскостям. К одному из тел прикреплена пружина с коэффициентом жесткости с.
Под действием силы F = f(s), зависящей от перемещения s точки ее приложения, система приходит в движение из состояния покоя; деформация пружины в момент начала движения равна нулю. При движении на шкив 3 действует постоянный момент M сил сопротивления (от трения в подшипниках).
Определить значение искомой величины в тот момент времени. Когда перемещение s станет равным s1 = 0,2 м. Искомая величина указана в столбце "Найти" таблицы, где обозначено: v1, v2, vC3 — скорости грузов 1, 2 и центра масс тела 5, соответственно ω3 и ω4 — угловые скорости тел 3 и 4.
Все катки, включая к катки, обмотанные нитями (как, например, каток 5 на рис. 2), катятся по плоскостям без скольжения.
На всех рисунках не изображать груз 2, если m2 = 0; остальные тела должны изображаться и тогда, когда их масса равна нулю.
рисунок к задаче
вариант 93
m1=0кг
m2=6кг
m3=0кг
m4=5кг
m5=4кг
c=300Н/м
М=1,8Н∙м
F=80(5+6s)
ω4 — ?

0694m
Механическая система состоит из грузов 1 и 2, ступенчатого шкива 3 с радиусами ступеней R3 = 0,3 м, r3 = 0,1 м и радиусом инерции относительно оси вращения ρ3 = 0,2 м, блока 4 радиуса R4 = 0,2 м И катка (или подвижного блока) 5 (рис. Д6.0 — Д6.9, табл. Д6); тело 5 считать сплошным однородным цилиндром, а массу блока 4 — равномерно распределенной по ободу. Коэффициент трения грузов о плоскость f = 0,1. Тела системы соединены друг с другом нитями, перекинутыми через блоки и намотанными на шкив 3 (или на шкив и каток); участки нитей параллельны соответствующим плоскостям. К одному из тел прикреплена пружина с коэффициентом жесткости с.
Под действием силы F = f(s), зависящей от перемещения s точки ее приложения, система приходит в движение из состояния покоя; деформация пружины в момент начала движения равна нулю. При движении на шкив 3 действует постоянный момент M сил сопротивления (от трения в подшипниках).
Определить значение искомой величины в тот момент времени. Когда перемещение s станет равным s1 = 0,2 м. Искомая величина указана в столбце "Найти" таблицы, где обозначено: v1, v2, vC3 — скорости грузов 1, 2 и центра масс тела 5, соответственно ω3 и ω4 — угловые скорости тел 3 и 4.
Все катки, включая к катки, обмотанные нитями (как, например, каток 5 на рис. 2), катятся по плоскостям без скольжения.
На всех рисунках не изображать груз 2, если m2 = 0; остальные тела должны изображаться и тогда, когда их масса равна нулю.
рисунок к задаче
вариант 94
m1=5кг
m2=0кг
m3=4кг
m4=0кг
m5=6кг
c=240Н/м
М=1,2Н∙м
F=40(9+4s)
v1 — ?

0695m
Механическая система состоит из грузов 1 и 2, ступенчатого шкива 3 с радиусами ступеней R3 = 0,3 м, r3 = 0,1 м и радиусом инерции относительно оси вращения ρ3 = 0,2 м, блока 4 радиуса R4 = 0,2 м И катка (или подвижного блока) 5 (рис. Д6.0 — Д6.9, табл. Д6); тело 5 считать сплошным однородным цилиндром, а массу блока 4 — равномерно распределенной по ободу. Коэффициент трения грузов о плоскость f = 0,1. Тела системы соединены друг с другом нитями, перекинутыми через блоки и намотанными на шкив 3 (или на шкив и каток); участки нитей параллельны соответствующим плоскостям. К одному из тел прикреплена пружина с коэффициентом жесткости с.
Под действием силы F = f(s), зависящей от перемещения s точки ее приложения, система приходит в движение из состояния покоя; деформация пружины в момент начала движения равна нулю. При движении на шкив 3 действует постоянный момент M сил сопротивления (от трения в подшипниках).
Определить значение искомой величины в тот момент времени. Когда перемещение s станет равным s1 = 0,2 м. Искомая величина указана в столбце "Найти" таблицы, где обозначено: v1, v2, vC3 — скорости грузов 1, 2 и центра масс тела 5, соответственно ω3 и ω4 — угловые скорости тел 3 и 4.
Все катки, включая к катки, обмотанные нитями (как, например, каток 5 на рис. 2), катятся по плоскостям без скольжения.
На всех рисунках не изображать груз 2, если m2 = 0; остальные тела должны изображаться и тогда, когда их масса равна нулю.
рисунок к задаче
вариант 95
m1=0кг
m2=5кг
m3=0кг
m4=6кг
m5=4кг
c=200Н/м
М=1,6Н∙м
F=50(7+8s)
vc5 — ?

0696m
Механическая система состоит из грузов 1 и 2, ступенчатого шкива 3 с радиусами ступеней R3 = 0,3 м, r3 = 0,1 м и радиусом инерции относительно оси вращения ρ3 = 0,2 м, блока 4 радиуса R4 = 0,2 м И катка (или подвижного блока) 5 (рис. Д6.0 — Д6.9, табл. Д6); тело 5 считать сплошным однородным цилиндром, а массу блока 4 — равномерно распределенной по ободу. Коэффициент трения грузов о плоскость f = 0,1. Тела системы соединены друг с другом нитями, перекинутыми через блоки и намотанными на шкив 3 (или на шкив и каток); участки нитей параллельны соответствующим плоскостям. К одному из тел прикреплена пружина с коэффициентом жесткости с.
Под действием силы F = f(s), зависящей от перемещения s точки ее приложения, система приходит в движение из состояния покоя; деформация пружины в момент начала движения равна нулю. При движении на шкив 3 действует постоянный момент M сил сопротивления (от трения в подшипниках).
Определить значение искомой величины в тот момент времени. Когда перемещение s станет равным s1 = 0,2 м. Искомая величина указана в столбце "Найти" таблицы, где обозначено: v1, v2, vC3 — скорости грузов 1, 2 и центра масс тела 5, соответственно ω3 и ω4 — угловые скорости тел 3 и 4.
Все катки, включая к катки, обмотанные нитями (как, например, каток 5 на рис. 2), катятся по плоскостям без скольжения.
На всех рисунках не изображать груз 2, если m2 = 0; остальные тела должны изображаться и тогда, когда их масса равна нулю.
рисунок к задаче
вариант 96
m1=8кг
m2=0кг
m3=5кг
m4=0кг
m5=6кг
c=280Н/м
М=0,8Н∙м
F=40(8+9s)
ω3 — ?

0697m
Механическая система состоит из грузов 1 и 2, ступенчатого шкива 3 с радиусами ступеней R3 = 0,3 м, r3 = 0,1 м и радиусом инерции относительно оси вращения ρ3 = 0,2 м, блока 4 радиуса R4 = 0,2 м И катка (или подвижного блока) 5 (рис. Д6.0 — Д6.9, табл. Д6); тело 5 считать сплошным однородным цилиндром, а массу блока 4 — равномерно распределенной по ободу. Коэффициент трения грузов о плоскость f = 0,1. Тела системы соединены друг с другом нитями, перекинутыми через блоки и намотанными на шкив 3 (или на шкив и каток); участки нитей параллельны соответствующим плоскостям. К одному из тел прикреплена пружина с коэффициентом жесткости с.
Под действием силы F = f(s), зависящей от перемещения s точки ее приложения, система приходит в движение из состояния покоя; деформация пружины в момент начала движения равна нулю. При движении на шкив 3 действует постоянный момент M сил сопротивления (от трения в подшипниках).
Определить значение искомой величины в тот момент времени. Когда перемещение s станет равным s1 = 0,2 м. Искомая величина указана в столбце "Найти" таблицы, где обозначено: v1, v2, vC3 — скорости грузов 1, 2 и центра масс тела 5, соответственно ω3 и ω4 — угловые скорости тел 3 и 4.
Все катки, включая к катки, обмотанные нитями (как, например, каток 5 на рис. 2), катятся по плоскостям без скольжения.
На всех рисунках не изображать груз 2, если m2 = 0; остальные тела должны изображаться и тогда, когда их масса равна нулю.
рисунок к задаче
вариант 97
m1=0кг
m2=4кг
m3=0кг
m4=6кг
m5=5кг
c=300Н/м
М=1,5Н∙м
F=60(8+5s)
v2 — ?

0698m
Механическая система состоит из грузов 1 и 2, ступенчатого шкива 3 с радиусами ступеней R3 = 0,3 м, r3 = 0,1 м и радиусом инерции относительно оси вращения ρ3 = 0,2 м, блока 4 радиуса R4 = 0,2 м И катка (или подвижного блока) 5 (рис. Д6.0 — Д6.9, табл. Д6); тело 5 считать сплошным однородным цилиндром, а массу блока 4 — равномерно распределенной по ободу. Коэффициент трения грузов о плоскость f = 0,1. Тела системы соединены друг с другом нитями, перекинутыми через блоки и намотанными на шкив 3 (или на шкив и каток); участки нитей параллельны соответствующим плоскостям. К одному из тел прикреплена пружина с коэффициентом жесткости с.
Под действием силы F = f(s), зависящей от перемещения s точки ее приложения, система приходит в движение из состояния покоя; деформация пружины в момент начала движения равна нулю. При движении на шкив 3 действует постоянный момент M сил сопротивления (от трения в подшипниках).
Определить значение искомой величины в тот момент времени. Когда перемещение s станет равным s1 = 0,2 м. Искомая величина указана в столбце "Найти" таблицы, где обозначено: v1, v2, vC3 — скорости грузов 1, 2 и центра масс тела 5, соответственно ω3 и ω4 — угловые скорости тел 3 и 4.
Все катки, включая к катки, обмотанные нитями (как, например, каток 5 на рис. 2), катятся по плоскостям без скольжения.
На всех рисунках не изображать груз 2, если m2 = 0; остальные тела должны изображаться и тогда, когда их масса равна нулю.
рисунок к задаче
вариант 98
m1=4кг
m2=0кг
m3=0кг
m4=5кг
m5=6кг
c=320Н/м
М=1,4Н∙м
F=50(9+2s)
ω4 — ?

0699m
Механическая система состоит из грузов 1 и 2, ступенчатого шкива 3 с радиусами ступеней R3 = 0,3 м, r3 = 0,1 м и радиусом инерции относительно оси вращения ρ3 = 0,2 м, блока 4 радиуса R4 = 0,2 м И катка (или подвижного блока) 5 (рис. Д6.0 — Д6.9, табл. Д6); тело 5 считать сплошным однородным цилиндром, а массу блока 4 — равномерно распределенной по ободу. Коэффициент трения грузов о плоскость f = 0,1. Тела системы соединены друг с другом нитями, перекинутыми через блоки и намотанными на шкив 3 (или на шкив и каток); участки нитей параллельны соответствующим плоскостям. К одному из тел прикреплена пружина с коэффициентом жесткости с.
Под действием силы F = f(s), зависящей от перемещения s точки ее приложения, система приходит в движение из состояния покоя; деформация пружины в момент начала движения равна нулю. При движении на шкив 3 действует постоянный момент M сил сопротивления (от трения в подшипниках).
Определить значение искомой величины в тот момент времени. Когда перемещение s станет равным s1 = 0,2 м. Искомая величина указана в столбце "Найти" таблицы, где обозначено: v1, v2, vC3 — скорости грузов 1, 2 и центра масс тела 5, соответственно ω3 и ω4 — угловые скорости тел 3 и 4.
Все катки, включая к катки, обмотанные нитями (как, например, каток 5 на рис. 2), катятся по плоскостям без скольжения.
На всех рисунках не изображать груз 2, если m2 = 0; остальные тела должны изображаться и тогда, когда их масса равна нулю.
рисунок к задаче
вариант 99
m1=0кг
m2=5кг
m3=6кг
m4=0кг
m5=4кг
c=280Н/м
М=1,6Н∙м
F=80(6+7s)
vc5 — ?