Розрахувати диференціальний підсилювач на біполярних транзисторах
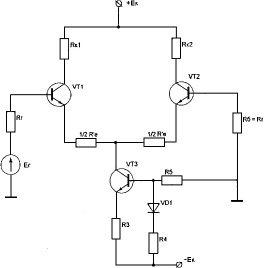
ANKelРозрахувати диференціальний підсилювач на біполярних транзисторах з генератором стабільного струму, схема якого наведена на рис. 3. Для всіх варіантів Е
г = 10 мВ, потрібний коефіцієнт підсилення К
uд = 20, опір R
вх = 5 кОм. Під час розрахунку вибрати значення напруги джерел живлення, розрахувати елементи схеми, величину коефіцієнта послаблення синфазного сигналу, а також оцінити зведений дрейф підсилювача за умов, що абсолютні значення температурних приростів напруг та струмів транзисторів складають 5%.
Вариант 1
Тип транзистора МП39
Rн = 1500 Ом
Rг = 100 Ом
Fв = 15000 Гц
Fн = 40 Гц

ANLelРозрахувати диференціальний підсилювач на біполярних транзисторах з генератором стабільного струму, схема якого наведена на рис. 3. Для всіх варіантів Е
г = 10 мВ, потрібний коефіцієнт підсилення К
uд = 20, опір R
вх = 5 кОм. Під час розрахунку вибрати значення напруги джерел живлення, розрахувати елементи схеми, величину коефіцієнта послаблення синфазного сигналу, а також оцінити зведений дрейф підсилювача за умов, що абсолютні значення температурних приростів напруг та струмів транзисторів складають 5%.
Вариант 3
Тип транзистора КТ201В
Rн = 6200 Ом
Rг = 100 Ом
Fв = 20000 Гц
Fн = 1000 Гц

ANMelРозрахувати диференціальний підсилювач на біполярних транзисторах з генератором стабільного струму, схема якого наведена на рис. 3. Для всіх варіантів Е
г = 10 мВ, потрібний коефіцієнт підсилення К
uд = 20, опір R
вх = 5 кОм. Під час розрахунку вибрати значення напруги джерел живлення, розрахувати елементи схеми, величину коефіцієнта послаблення синфазного сигналу, а також оцінити зведений дрейф підсилювача за умов, що абсолютні значення температурних приростів напруг та струмів транзисторів складають 5%.
Вариант 5
Тип транзистора МП40А
Rн = 100 Ом
Rг = 200 Ом
Fв = 16000 Гц
Fн = 100 Гц

ANNelРозрахувати диференціальний підсилювач на біполярних транзисторах з генератором стабільного струму, схема якого наведена на рис. 3. Для всіх варіантів Е
г = 10 мВ, потрібний коефіцієнт підсилення К
uд = 20, опір R
вх = 5 кОм. Під час розрахунку вибрати значення напруги джерел живлення, розрахувати елементи схеми, величину коефіцієнта послаблення синфазного сигналу, а також оцінити зведений дрейф підсилювача за умов, що абсолютні значення температурних приростів напруг та струмів транзисторів складають 5%.
Вариант 7
Тип транзистора КТ301А
Rн = 6200 Ом
Rг = 200 Ом
Fв = 3000 Гц
Fн = 100 Гц

ANOelРозрахувати диференціальний підсилювач на біполярних транзисторах з генератором стабільного струму, схема якого наведена на рис. 3. Для всіх варіантів Е
г = 10 мВ, потрібний коефіцієнт підсилення К
uд = 20, опір R
вх = 5 кОм. Під час розрахунку вибрати значення напруги джерел живлення, розрахувати елементи схеми, величину коефіцієнта послаблення синфазного сигналу, а також оцінити зведений дрейф підсилювача за умов, що абсолютні значення температурних приростів напруг та струмів транзисторів складають 5%.
Вариант 8
Тип транзистора ГТ313Б
Rн = 5100 Ом
Rг = 300 Ом
Fв = 50000 Гц
Fн = 5000 Гц

ANPelРозрахувати диференціальний підсилювач на біполярних транзисторах з генератором стабільного струму, схема якого наведена на рис. 3. Для всіх варіантів Е
г = 10 мВ, потрібний коефіцієнт підсилення К
uд = 20, опір R
вх = 5 кОм. Під час розрахунку вибрати значення напруги джерел живлення, розрахувати елементи схеми, величину коефіцієнта послаблення синфазного сигналу, а також оцінити зведений дрейф підсилювача за умов, що абсолютні значення температурних приростів напруг та струмів транзисторів складають 5%.
Вариант 9
Тип транзистора ГТ109А
Rн = 1000 Ом
Rг = 100 Ом
Fв = 12000 Гц
Fн = 40 Гц

ANQelРозрахувати диференціальний підсилювач на біполярних транзисторах з генератором стабільного струму, схема якого наведена на рис. 3. Для всіх варіантів Е
г = 10 мВ, потрібний коефіцієнт підсилення К
uд = 20, опір R
вх = 5 кОм. Під час розрахунку вибрати значення напруги джерел живлення, розрахувати елементи схеми, величину коефіцієнта послаблення синфазного сигналу, а також оцінити зведений дрейф підсилювача за умов, що абсолютні значення температурних приростів напруг та струмів транзисторів складають 5%.
Вариант 11
Тип транзистора ГТ109Б
Rн = 3300 Ом
Rг = 300 Ом
Fв = 16000 Гц
Fн = 200 Гц

ANRelРозрахувати диференціальний підсилювач на біполярних транзисторах з генератором стабільного струму, схема якого наведена на рис. 3. Для всіх варіантів Е
г = 10 мВ, потрібний коефіцієнт підсилення К
uд = 20, опір R
вх = 5 кОм. Під час розрахунку вибрати значення напруги джерел живлення, розрахувати елементи схеми, величину коефіцієнта послаблення синфазного сигналу, а також оцінити зведений дрейф підсилювача за умов, що абсолютні значення температурних приростів напруг та струмів транзисторів складають 5%.
Вариант 12
Тип транзистора КТ315В
Rн = 3700 Ом
Rг = 200 Ом
Fв = 40000 Гц
Fн = 2000 Гц

ANSelРозрахувати диференціальний підсилювач на біполярних транзисторах з генератором стабільного струму, схема якого наведена на рис. 3. Для всіх варіантів Е
г = 10 мВ, потрібний коефіцієнт підсилення К
uд = 20, опір R
вх = 5 кОм. Під час розрахунку вибрати значення напруги джерел живлення, розрахувати елементи схеми, величину коефіцієнта послаблення синфазного сигналу, а також оцінити зведений дрейф підсилювача за умов, що абсолютні значення температурних приростів напруг та струмів транзисторів складають 5%.
Вариант 13
Тип транзистора ГТ109В
Rн = 2200 Ом
Rг = 200 Ом
Fв = 1000 Гц
Fн = 60 Гц

ANTelРозрахувати диференціальний підсилювач на біполярних транзисторах з генератором стабільного струму, схема якого наведена на рис. 3. Для всіх варіантів Е
г = 10 мВ, потрібний коефіцієнт підсилення К
uд = 20, опір R
вх = 5 кОм. Під час розрахунку вибрати значення напруги джерел живлення, розрахувати елементи схеми, величину коефіцієнта послаблення синфазного сигналу, а також оцінити зведений дрейф підсилювача за умов, що абсолютні значення температурних приростів напруг та струмів транзисторів складають 5%.
Вариант 24
Тип транзистора МП115
Rн = 2700 Ом
Rг = 200 Ом
Fв = 15000 Гц
Fн = 200 Гц
